Fórum témák
» Több friss téma |
- Ez a felület kizárólag, az elektronikában kezdők kérdéseinek van fenntartva és nem elfelejtve, hogy hobbielektronika a fórumunk!
- Ami tehát azt jelenti, hogy a nagymama bevásárlását nem itt beszéljük meg, ill. ez nem üzenőfal! - Kerülendő az olyan kérdés, amit egy másik meglévő (több mint 17000 van), témában kellene kitárgyalni! - És végül büntetés terhe mellett kerülendő az MSN és egyéb szleng, a magyar helyesírás mellőzése, beleértve a mondateleji nagybetűket is!
Rendben, köszönöm a gyors választ.
Udv, Gorbeee
Valószínűleg a gyártó jobban tudja, hogy mit gyárt, a weblapon meg csak elírták.
Egyébként már 3,5V-tól működik, és 10V(14,5V)-ot is elbír a doksi szerint. Az átkapcsolási időt, meg egyéb adatokat viszont csak a névleges feszültségű működésre garantálja a gyártó.
2 db ugyan olyan alkatrész van a lapon. Lefényképeztem az épet. Tud valaki segíteni hol tudok ilyet beszerezni?
Sziasztok!Egy kis utbaigazitásra lenne szükségem:Szeretnék egy trafot tekercselni , amelynek a primer tekercs drót átméröje 0.8 mm kellene legyen .Mivel nincs ilyen átméröjü drotom gondoltam tekerek két szál 0.4mm átméröjü drotot egymás mellé primernek ,Nem tudom hogy ez igy jo lenne e? Vagy hogyan milyen képlettel tudnám kiszámolni azt hogy milyen átméröjü .és hány szál drotot kell tekerjek ahhoz hogy kiadja a szükséges vezeték átméröt: elöre is köszönöm az infokat üdvözlettel Demeter!
Tudod az a baj, hogy két 0,4 mm átmérőjű drótnak a keresztmetszete nem egyezik meg egy 0,8 mm átmérőjű drótéval. Számolj csak utána.
Keresztmetszet=d^2Pi/4 A hozzászólás módosítva: Szept 18, 2014
Vegyél egy marékkal belőle: Bővebben: Link.
Köszönöm a reagálást most már világosabb a dolog
üdv Demeter!
Nomeg több helyet is foglal a tekercselésre rendelkezésre álló ablakból.
A tranzisztor NPN, 2D882.
2D882-t nem találok. Ezt hívják úgy is, hogy 2SD882? Vagy az más de felcserélhető vele? Egy ugrás a probléma másik oldalára. Kicseréltem a diódát újra. A PC ventilátor fordulatszám szabályozó 7-9 voltot ad a ventilátornak, ami nem forog. Pedig elvileg 6V már beindíthatná. A ventilátor kipróbált, jó. A tranzisztor elromolhatott úgy, hogy szabályzó áramkör a ventilátornak túl nagy belső ellenállású energiaforrás lett? Ad 9 V-ot, de kevés az áram erőssége és azért nem lehet a lapátot meglökve se beindítani.?
Sziasztok,ha vasarolok egy ilyen adaptert,akkor az alkalmas lessz arra,hogy webkamerakent tudjak hasznalni egy videoforrast?
Hello!
Már több kérdést is feltettem ezzel kapcsolatban.Szerintetek működik ez a kapcsolás és fogni lehet vele valamilyen adót? http://morgoelektronika.hu/kapcsolas_rf.php?menu=5004
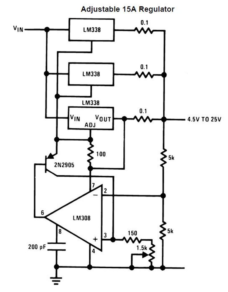
Igen fog már megépítettem, a lényeg hogy használj alacsony zajszintű műveleti erősítőt, nekem is lenne egy kérdésem méghozzá az hogy az alábbi képen látható kapcsoláson az LM338-asok out-át összeköthetem, vagyis rakhatom-e mind a hármat egy hűtőbordára (ez azzal jár hogy elhagyom a 0.1 Ohmos ellenállásokat), másik kérdésem meg az hogy milyen műveleti erősítővel váltsam ki az LM308-as ami bírja a 35 voltos tápot is??? Fontos lenne....
Miért folyik ki az elemből a sav? Minek hatására? Amikor már teljesen lemerült? Vagy ha túl van terhelve?
A burkolat megsérül, vagy elfogy. Ezt okozhatja külső korrózió, magas hőmérséklet (akár túlterhelés miatt), túlzott lemerítés ( ez lehet az önkisülés is, de sokáig tart, ezért írják rá a gyártási, vagy lejárati időt).
Igen megtaláltad a jó típusszámot, majd le fogom írni rendesen is, ha kipucoltam a billentyűzetet.
Ha a diódát jól kötötted be, és nem melegszik semmi, akkor marad a tranzisztor. A tranzisztor lábainak forrasztása még lehet hibás. A hozzászólás módosítva: Szept 20, 2014
És milyen frekvencián működik ha én 10-40 pF-os trimmer kondit raktam bele?
Raspberrz Pi-vel ezt simán meg lehet oldani. Bár ez attl függ, mennyit szeretnél a projetre költeni.
Sziasztok,
Adott a képen látható r4p4 pont. Korábban egy vezetéket kellett ehhez a ponthoz forrasztanom. A vezetéket eltávolítottam és most a feladat az az, hogy úgy legyen a pont mint korábban. Egy csepp forraszanyagot szeretnék rajtahagyni, de egyszerűen annyira pici pontról van szó, hogy nem tapad meg rajta semmi. 0,5mm páka és 0,5mm ólommentes forraszanyagom van. Alpha RMA7 fluxot használok. Mivel nem akarom szétégetni a lapot inkább kérdezek, hogy milyen technikát ajánlotok? Köszönöm a választ. Udv. Gorbeee A hozzászólás módosítva: Szept 20, 2014
Sziasztok!
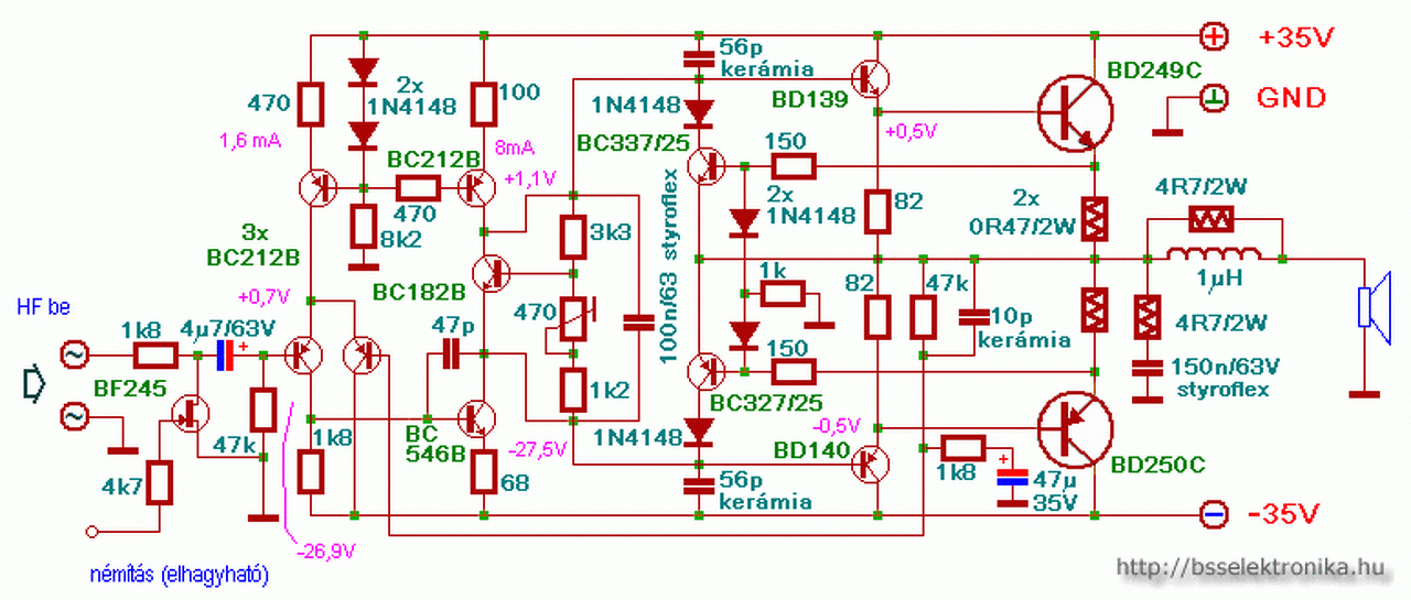
Azt szeretném kérdezni mikor indítom az erősítőt a tápról,írták tegyek elé sorba egy 60 w izzót a primer körbe.Most így indítottam de az izzó világít és valószínű hiba van valahol.Ez az erősító bd 249C-250C tranzisztorral készült a BSS ről vettem le az a neve,hogy elnyűhetetlen erősítő. Általában milyen hiba keletkezik ilyenkor,miután minden tranzisztort kimértem diódákat is és az ellenállásokat is minden jó és mégsem jó. A hozzászólás módosítva: Szept 20, 2014
Szia! Ez a kapcsolás simán be szokott indulni. Vagy az erősítőben, vagy a tápban valami hibát vétettél. A 470 ohm trimmer maximális ellenállásra van állítva, nem csak a nyugalmi áram okozza az erős terhelést?
Választ az Erősítő mindig-be írd, szerintem ott a helye!
Egy kérdést ha megengedtek:
Az alábbi videóban hogy * tud a készítő ~10 mikrofaradot kimérni abból a kis otthoni készítésű alumínium kondenzátorból, amikor az szemmel láthatólag még a nanofarados tartományt se érné el. De ha utánaszámolnék, szerintem akkor is csak pár pikoF-ot kapnék ilyen méretek között. A videó :Bővebben: Link (Amúgy ezt az egyik kommentelő is megjegyzi.) És ugyanúgy egyszer már egy másik videót is láttam, ahol a videóban pár mikrofaradot mértek le szintén, egy ugyanilyen jellegű és méretű alumíniumkondinál. Most akkor had kérdezzem meg, hogy ezek a videók szimplán csak csalások, vagy van annak valami magyarázata, hogy pl. a műszerek ennyire nem tudják lemérni az ilyen egyszerű technikával készült kondit? Link javítva. -moderátor- A hozzászólás módosítva: Szept 20, 2014
Mármint milyen frekvenciatartományban fogja az adásokat.
Gondolom a 100 MHz -es sávban. Erre utal az is, hogy a rezgőkör tekercs 4 menet 1,2 mm drótból, 5 mm átmérőre tekerve.
De gyakorlatozás képpen kiszámolhatod a fórum segédprogrammok füle alatt található két segédprogrammal. Bővebben: Link Bővebben: Link
Üdv!
5 lábú touchelről szeretnék Jack-re átalakítót. Melyik lábakat kell hasznánom, ha sztereó jelet szeretnék?
Hello! Tudja-e Valaki, hogy az LM339 helyett be lehet-e rakni bármi átalakítás nélkül az LMV339 -et? Köszönöm!
Kiszámoltam a progikkal bár most nem vagyok a tekercs közelében (tippeltem) nekem az jött ki hogy 10pF-en 85MHz. (Bár ha széthúzom a meneteket változik ha jól tudom.)
Lehet, hogy a két fegyverzet között van némi átvezetés a ragasztó miatt és ezt a műszer kapacitásként érzékeli, vagy egyszerűen csalás (mint oly sok videó). Kizárt, hogy mikrofarad tartományba menjen egy ilyen kondenzátor.
Köszönöm!
Azt gondolom nem tudod, (bár lehet) hogy ezek közül az Unitra dss 201 az melyik? Mert lehet sztereó rádió, meg erősítő is, de van rajta lemezlejátszó és magnó bemenet is. Én a magnó bemenetét szeretném használni. |
Bejelentkezés
Hirdetés |





üdv Demeter! 








