Fórum témák

» Több friss téma
Fórum » Csöves erősítő készítése
 
Témaindító: seedz, idő: Márc 31, 2006
Témakörök:
Ne feledd betartani a fórum viselkedési szabályait, és a topik megmaradásának feltételeit. [link]
A téma átmenetileg fagyasztva lett, hozzászólni nem tudsz!
Lapozás: OK   1219 / 2208
(#) dragon073 hozzászólása Jún 26, 2011
Sziasztok !
Nem tudja valaki hogy a 6SN7 nek mi a megfelelője ? Pl valami ecc... ?
Nagyon megköszönném a segítséget
(#) vikipapa válasza dragon073 hozzászólására (») Jún 26, 2011
Helló. Kis keresgélés után arra jutottam, hogy ECC32 az európai változata.
(#) (Felhasználó 1947) válasza dragon073 hozzászólására (») Jún 26, 2011
ECC 82
(#) mark.budai válasza dragon073 hozzászólására (») Jún 26, 2011
6N8Sz, novál foglalatban pedig ECC82 jó helyette.
(#) bakos13gab válasza mark.budai hozzászólására (») Jún 26, 2011
Igen, de ha az anódlemez méretét nézzük, a 6N8S bizonyosan közelebb áll hozzá. Már csak a foglalatát tekintve is.
(#) havranarpi hozzászólása Jún 27, 2011
Sziasztok!
Belevágtam egy csöves gitárerősítő készítésébe.
Ezt találtam: Bővebben: Link
Találtam neki egy toroidot ami pufferelve 100 V-ot ad le
5A mellett.
Az a 25V külömbség sokat számít azaz nem fog elindulni vagy nem húzza annyira vissza a rendszert?
(#) kocos válasza havranarpi hozzászólására (») Jún 27, 2011
Én nem javallom a megépítését, de belekezdhetsz ... Nem téma az a 25 Volt, ECC82-vel pláne nem, amúgy sem lesz valami über hangja ... A hangszínszabályozó meg értelmetlen, "kiszabályozol" vele a gitár eléggé szűkös tartományából és feleslegesen "fogyaszt el" két tandem potmétert ... Peavey és Baxandall "öszvérnek" látszik.
Végül is bármit "hegyezel ki" az előfoknál, a TDA2030 monolit végfok úgyis "bedarálja" ...
(#) marone hozzászólása Jún 27, 2011
Csövi !
Próbált már valaki MKS kondenzátort csatolónak ?
Érdemes ?
(#) djhans válasza havranarpi hozzászólására (») Jún 27, 2011
Osztom kocos kolléga véleményét. Semmi értelme a csöves előfoknak ha félvezetős a vég. Az is érdekes hogy ad le a 2030-as 12V-os szimpla tápról 10W-ot. Én adnék neki ez esetben 30-35V-ot.
(#) pucuka válasza bakos13gab hozzászólására (») Jún 27, 2011
Pedig igaza van kocos -nak, és djhans -nak is, egy erősítőben a csöves előfok (zaj, brumm), és a félvezetős végfok (hőérzékenység, torzítás) a kritikus. A két legkritikusabb részből igazi jót alkotni, ez ám a kihívás.
(#) kocos válasza bakos13gab hozzászólására (») Jún 27, 2011
No és milyen is a legtöbb hibrid ("előfokcsöves"-nek nevezett) gitárerősítő? Hát nem jó ...
(#) marone válasza marone hozzászólására (») Jún 27, 2011
..szóval nem MKP, MKT, FKP, hanem MKS.
(#) kocos válasza marone hozzászólására (») Jún 27, 2011
Févezetős áramköreimnél (effektek többnyire) azt használok, nincs vele gond ...
(#) sturbi hozzászólása Jún 27, 2011
Legújabb "zöldségeslámpa" projektem 6E5P/ECC82 SE.
(#) varttina válasza sturbi hozzászólására (») Jún 27, 2011
Szép kis erősítő! Jó látni hogy valaki lát fantáziát aezekben a lámpatestekben.
Egyébként hogy vált be a "kevert" vasmag? Már én is gondoltam hasonlóra.
(#) sturbi válasza varttina hozzászólására (») Jún 27, 2011
Teljesen hibátlan. -Ez úgy keletkezett (azonkívül, hogy nem akartam trafót tekerni), hogy az eredeti lemezekkel nagyon kicsi volt a primer induktivitás, és a lomjaim között találtam négy vágott szalagmagot (valamikor trafó volt, de már semmije sincs meg, csak a vas) amik pont passzoltak a csévébe, de nem töltötték ki a magméretet, ezért kiegészítettem a lemezeléssel. Az induktivitás több mint másfélszerese lett (a szalagmag elég jófajta).
A lámpatest amúgy még burkolva lesz, valami hasonló módon, mint az előző "zöldségeslámpa" akciómnál.
(#) JZoli válasza sturbi hozzászólására (») Jún 28, 2011
Na még ilyen kimenőtrafó vasmag megoldást sem láttam. Milyen a hangja?
(#) szilva hozzászólása Jún 28, 2011
Üdv!

Elég régen jártam erre, más dolgokkal foglalkoztam, nem jutottam hozzá a csöveimhez. Pár hete azonban újra elővettem a témát, rengeteget számolgattam, építettem a műhelyasztalon levegőben ezt-azt, a hétvégén pedig összeraktam a mellékletben szereplő erősítőt sztereóban. A dobozolás egyelőre elég kezdetleges, OSB-ből van egy "U" alakú alj a tápegységnek, ennek a tetejére lett szabva egy 4mm-es rétegelt lemez, amire a csőfoglalatok és a kimenőtrafók vannak felerősítve. A kapcsolás a csőfoglalatokra forrasztott alkatrészekkel van kialakítva, önhordó az egész.

A helyzet az, hogy amikor az egyik fele kész lett, akkor zenével meghajtva szkóppal néztem a kimeneti jelcsúcsot, és abból számoltam vissza kimenő teljesítményt, ami 8 ohm-ra kb. 10W-nak adódott (ez egyébként az elmélettel nagyjából összecseng, az optimális terhelés a rendelékezésre álló trafóval és tápfeszültséggel olyan 6 ohm körül lenne, elméleti 14W körüli kimenettel). Ennél "tudományosabb", egzaktabb mérést nem végeztem, csak összeraktam a másik felét is és azóta is élvezem a hangját

Amit tudok, hogy nem optimális, és lehet, hogy megpróbálom majd módosítani a kapcsolást és meghallgatni a különbséget:
- a végcsövek eléggé AB osztályban működnek, kicsi a nyugalmi áramuk, ráadásul nem közös a katódellenállásuk;
- az ECC85 nem igazán ide való, ECC808-am ugyan van, de az nem lábkompatibilis, megpróbálok majd ECC83-at vagy a helyettesítőjét beszerezni
- a kimenőtrafó egy 14VA-es gyári hálózati trafó, én meglepődtem, hogy mennyire jól szólt még a visszacsatolás bekötése előtt is, de jobb lenne valami tényleg ide valót tekerni vagy venni
- jel nélkül van egy kis brummja (100Hz-nek tűnik, azaz nem mágneses szórás, hanem a tápról jöhet), amit jó lenne eltüntetni vagy csökkenteni, a graetz utáni első puffert mindenképpen nagyobbra akarom cserélni

Kísérletezés közben hallgattam SE EL84-et is, EF80-as előfokkal és Pacsirta kimenő trafóval, az sem volt egy rossz darab, lehet, hogy olyat is össze fogok rakni még.
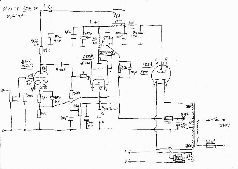
(#) frekivalto hozzászólása Jún 28, 2011
Sziasztok.

Segítséget szeretnék kérni......
Az alábbi kis rajz alapján a végcsővek pentódában vagy triódában vannak elkötve?

Elvileg triódába, de nem vagyok benne biztos.

Köszönöm az infókat előre is.
(#) mark.budai válasza frekivalto hozzászólására (») Jún 28, 2011
Szerintem is triódába van, akkor lenne pentódába, hogyha lenne a rács 220 ohmos ellenállása előtt még egy RC tag.
(#) pucuka válasza mark.budai hozzászólására (») Jún 28, 2011
Szerintem nem trióda, hiszen ott az ellenállás a segédrácson, ha nem lenne akkor lenne trióda, de az itt egy katódkövető és nem nagyon van szerepe annak, hogy trióda vagy pentóda, mert egy alatti a feszültség erősítése .
(#) frekivalto válasza pucuka hozzászólására (») Jún 28, 2011
Köszönöm!

Igen, katódkövető, ezt mondta Köbzoli is.
Viszont arra nem gondoltam, hogy ha katódkövetőről van szó, akkor ott elvileg mindegy, hogy trióda vagy pentóda.

És ez itt a kulcsszó, hogy "katódkövető"!
(#) kristikoma válasza szilva hozzászólására (») Jún 28, 2011
Ha graetz hidat használsz, akkor nyugodtan mehet a tv-ből kibányászott 220+100+47uF, úgy, hogy az összes részét párhuzamosra, ez lenne az első számú puffer. Én is így használom az ECL 86-os sztereót, egy deka brumm nincs benne
(#) szilva válasza kristikoma hozzászólására (») Jún 28, 2011
Van itthon 220µF/450V új kondim, csak a tápegységpanelben lévő helyre nem fér el, ott kicsit át kell rendezni a dolgokat. Továbbá az nem látszik a rajzról, de a két csatornának az első puffer után külön-külön tápút van kialakítva egy-egy 100 ohm+47µF taggal. Az SE-s próbálkozások során ehhez hasonló tápegység (47uF+100 ohm+47uF) első pufferét kicseréltem egy ilyen 220µF-osra, és teljesen néma lett brumm-ügyileg, így remélem, hogy itt is sokat fog számítani.
(#) 6C4C válasza frekivalto hozzászólására (») Jún 28, 2011
Ha triódába lennének a csövek kötve, akkor a segédtácsuk a szokásos gerjedésgátló ellenállat útján a "saját" anódjukra csatlakozna... Szerintem itt símán, pentódaként dolgoznak... Jó hatásfok, nagyobb kivezérelhetőség, a nagy negatív visszacsatolás pedig erősen csökkenti a torzításokat...
Egészen baráti kimenővel is csodaszépen dolgozik
(#) joepapa válasza sturbi hozzászólására (») Jún 28, 2011
Mester! Milyen a 6e5p hangja a te füled szerint?
Ameghajtónak miért kell 82 es? A 83 as simán elhajtja, és nem kell katódkondi...De a 88 as esetében sem...csak kérdezem...ahogy arra is kíváncsi vagyok ha csöves a táp (gondolom oka van) akkor a fix előfesz "tápja" egyszem silicium ez jó megoldás? FÜLRE kérdem.
Tudom érdekes lenne külön csöves táp a 3-4 V nak, de nem rontja ez a megoldás jobban a hangot, mintha katódbiasos?
Azaz egyszem ellenállás katódkondi nélkül a 6e5p alatt?
Igen ez műszakilag korrektebb, de fülre ugyanaz?

Milyen a hangja a katódbiasohoz képest szerinted?


..huh jut eszembe, lehet te 6e5p-I-t használsz...az egész más mint a sima nem impulzustűrő "magashomlokú" hangban?
(#) sturbi válasza 6C4C hozzászólására (») Jún 28, 2011
Szerintem mégis inkább triódás kötés, mert a "teljes" segédrácsáram és az anódáram összege folyik a terhelésen (ez miatt szerintem a triódás kötésnek megfelelően alakul a belső ellenállás is) (nincs holtág a segédrácsnak). Az hogy nem a saját anódjára van kötve a segédrács nem lényeges kérdés, mert ugyanakkora, kötött poteciálú ponton van....
(#) sturbi válasza joepapa hozzászólására (») Jún 28, 2011
Jó.
Én nem vagyok katód kondi ellenes, ha van katódellenállás. Szerintem általában jobb hangú ha hidegítve van a katód, mintha nincs. A katódkondi mentesség nálam azt jelenti, hogy nincsen katódellenállás sem, vagy más módon ki van küszöbölve a katódellenálláson fellépő jelentős helyi visszacsatolás.
A 82-es teljesen jó meghajtónak (az, hogy a 83-as is el tudja hajtani semmit nem jelent, ösztönből 82-esben gondolkodtam, 83-as meg sem fordult a fejemben, 88-asom meg nincs, vagy nem tudom hol).
A csöves táppal élőbb a hangja, kétszer is megpróbáltam szilíciumdiódákkal, élettelenebb lett a hangja (egyértelműen), így végül csöves lett.
Ha nem 6,3 V-ból állítottam volna elő a fix rácselőfeszt (hanem mondjuk 15-20 V-ból), annak is betettem volna egy kis akármilyen csövet (de erre a trafóra esett a választás, és ez így adta magát).
Már 6E5P van benn (csak az üveg magasabb, a belselye egyforma méretű), csak amikor fényképeztem, akkor éppen az I-s változatot próbáltam (azzal is jó, de másképpen szól, nehéz eldönteni, hogy rosszabb-e).
Automatikus rácselőfesszel most nem próbáltam, de emlékből nem rosszabb úgy sem (hidegítve, mert hidegítés nélkül sunnyadt).
(#) FordPrefect válasza frekivalto hozzászólására (») Jún 29, 2011
Pentódának vannak kötve, csak senki nem veszi a fáradtságot, hogy elolvassa a kép címét. PPP, azaz Paralell Push-Pull, régi nevén circlotron. Nem azonos a manapság PPP-nek nevezett, párhuzamosan kötött végcsövekkel bíró hagyományos, anódról kicsatolt ellenütemű végfokokkal. A kiragadott részlet 1x-es erősítésű max, tehát mivel hajtod meg??
(#) kocos válasza FordPrefect hozzászólására (») Jún 29, 2011
Hát, én mondjuk nem olvastam el a kép címét, de attól még látom, hogy cirklotron
Következő: »»   1219 / 2208
Bejelentkezés

Belépés

Hirdetés
XDT.hu
Az oldalon sütiket használunk a helyes működéshez. Bővebb információt az adatvédelmi szabályzatban olvashatsz. Megértettem