Fórum témák

» Több friss téma
Fórum » Erősítő mindig és mindig
Mielőtt kérdezel, a következő két dolgot ellenőrizd! I. A helyes tápfeszültségek megléte. II. A kimeneten van-e egyenfeszültség. Élesztés.
Lapozás: OK   1950 / 2567
(#) Jurij Dolgorukij hozzászólása Feb 3, 2017 /
 
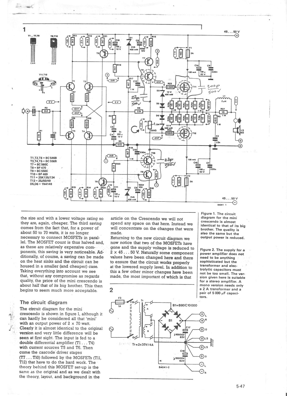
mini crescendo

Ha még kell valami, akkor Google a barátod, adnék én is több anyagot, de nem az otthoni gépemen vagyok. Itt meg nincs nálam a fullos doksi, a rengeteg végfokról!
(#) felnagy válasza Jurij Dolgorukij hozzászólására (») Feb 3, 2017 /
 
Köszi.Akkor elindulok ezen a vonalon ,majd még lehet foglak zaklatni kérdésekkel.
(#) Flatlander hozzászólása Feb 3, 2017 /
 
Sziasztok

Nemrég hozzámkerült egy hibás sony fa120 erősítő.A képen látható a probléma.Fel lehet még támasztani? a végtranyókon és ellenállásokon kívül mit kell még cserélni? Mivel helyettesíthető a két végtranyó?a réz lefogató alatt mi lakik? Előre is köszönöm.
(#) Linegekko válasza Jurij Dolgorukij hozzászólására (») Feb 3, 2017 / 1
 
Szerintem U. úrnak más a célközönsége. A kit áramkörein nőttünk fel a legtöbben. Csóró gyerkőcökként legalább adott valami a kezünkbe. Szerintem jók ezek, aztán ha nagyobb az igény tovább megy az ember. De nem biztos hogy van nagyobb igény.
Pár évig Csöveseket építettem, kimenőket tekercseltem. Szuper jó amíg meg nem csapja az embert úgy tisztességesen, nekem elég volt. Szóval hallgattam azt is egy ideig. Nem esett nehezemre utána tranzisztorost hajtani. A legtöbb otthonba nincsenek olyan hangsugárzók amikhez hi-end erősítő kell. Ráadásul a szuper hangsugárzó és a tökéletes végfokhoz olyan szoba is kell ami akusztikailag megfelel. Egy ideig be lehetett engem is pörgetni, ma már nem annyira. Nyilván van egy minimum amit elvár az ember, de ez a hobbink és nem a vallásunk. Nem 1 "igaz" végfok létezik, a többi meg hulladék.
(#) Jurij Dolgorukij válasza felnagy hozzászólására (») Feb 3, 2017 /
 
Egészen nyugodtan, szívesen segítek!
(#) felnagy válasza Linegekko hozzászólására (») Feb 3, 2017 /
 
Ezzel teljesen egyet értek,a gond csak az ,hogy annyi kapcsolás kering ebben a témában,ember legyen aki tud választani.Jó régen megépítettem a Piret féle Fetest,de annak nem tetszett a hangja ,lehet csak a mosfet miatt ??
(#) Jurij Dolgorukij válasza Linegekko hozzászólására (») Feb 3, 2017 /
 
Valamilyen szinten igazad van, de én sokszor ráfaragtam az öregtől származó cuccokra, dokumentre. Aztán később az omikk-ból lehetett szerezni normális külföldi anyagot, ma meg itt a net, hozzáférhető bármi. Most a bőség zavara a mérvadó!

Engem is rázott meg már csöves készülék, sajnos ez ezzel jár, igazából időm sincs túl sok munkaórát igényló berendezéseket építeni. A csöves, az egy más világ, sok türelem és idő kell hozzájuk. Nálam a nagyteljesítményű bipolárisok jöttek be leginkább, korábban kérdezősködtem itt magam is néhány konkrét típus tapasztalatairól.
Az az elvem, olyat kell építeni kapásból, amit már szívesen meg is tartasz.

A crescendómat is csak azért adtam el, mert úgy jajgatott érte a vevő, megsajnáltam! Meg árán felül fizetett, hát hadd vigye, akkor építek tíz másikat, amikor akarok! Jó üzlet volt.

Hát igen, nem létezik olyan, hogy 1 fajta erősítő mindenkinek jó legyen. Ma már van választék bőven, de célszerű az elérhető legjobbat kiválasztani, így nincs utólag bosszankodás!
(#) Ge Lee válasza felnagy hozzászólására (») Feb 3, 2017 /
 
A HTA30-at tudom ajánlani, annak a hangja 10-ből minimum 9 embernek teszik, szóval nem nagyon lősz vele mellé. A fetesekből egyiket sem ajánlom, baji félét meg hasonlókat pláne nem, közel sincs jó hangjuk, sőt... Fetesben ami jó az nagyon sokba lesz, mert egy vagyonba kerülnek hozzá a végfetek. Esetleg próbáld ki még a B5-öt vagy az utódait, azok is tudnak nagyon jók lenni, csak azok roppant kényesek az alkatrészekre, azok gyártóira, szóval könnyen el lehet rontani. Az csak akkor lesz jó, ha minden passzív és aktív alkatrésze nagy gonddal van összeválogatva, és itt nem az elektromos paraméterekre történő válogatásról van szó.
(#) felnagy válasza Ge Lee hozzászólására (») Feb 3, 2017 /
 
Ez amit találtam rendben van vagy mást kell keresnem http://audiodiyers.hu/download/file.php?id=992&mode=view
(#) Ge Lee válasza felnagy hozzászólására (») Feb 3, 2017 /
 
Igen. Végtranyónak bármelyik darlington jó nem csak a BDT, hanem BDW83-84, 93-94 stb. De ha nagyobb teljesítmény kell akkor vannak 120V-os darlingtonok is, a BDW-ben is van D-s végű, de van 2SD, MJ11015 stb, azokkal akár 110V is lehet a tápfesz, ha a kapcsolás kisjelű tranyói is bírják.
(#) bugyi680 hozzászólása Feb 3, 2017 /
 
Üdv!
Megépítettem a TDA2005-ös IC-ből készült erősítőt (az adatlapján található hidalt változatot).
1.Ha maxra felveszem a telefonon (iphone 4s) vagy bármi más telefonon vagy pc-n a hangerőt plussz a bemenetnél lévő 50k-s potmétert "fel" tekerem akkor már szinte kevesebb mint a felénél torzít ezzel kapcsolatban az lenne a kérdésem hogy van valami előírt maximum bemeneti "jelszint" amit az erősítő torzítás mentesen feltud erősíteni,ha van akkor hogy adják meg vagy valahogy kilehet tesztelni mérni?
2.A táp egy 1.2A 10V hálózatitranformátor,greatzel egyenirányítom és 4db 2200uF,3db 3300µF és 5db 1000µF-os elektrolit kondenzátorral puffereltem.A pufferelésnél azt mondták/olvastam hogy ide még beszoktak rakni egy 100nF-os kerámia kondit.A kérdésem az lenne hogy:Miért kell kis kapacitású kondi,miben változik ezzel a hullám?Érdemes-e nekem is 1-et berakni az erősítő tápjába?
3.Mit szoktak egy ilyen erősítő építésénél vizsgálni/mérni hogy rendesen működik-e azon kívül hogy szól?

Most építettem előszőr ilyet,kezdő vagyok a témában.

Hogyha valaki észre vesz valami hibát a képen vagy valami tanáccsal tudna szolgálni az írja meg.
A válaszokat előre köszönöm.

image.jpeg
    
(#) krisz69 válasza Ge Lee hozzászólására (») Feb 3, 2017 /
 
Én kifejezetten olyan kapcsolás után vadászok. Ami mem hídalva tudja a 600w rmst 8 ohmra és . Pénztárca barát megoldások mellett. Elfogadható hangú. Ha valaki tud ilyet szivesen fogadok lapcsolásí rajzot vagy. Linket
Köszönöm.
(#) adapter válasza Jurij Dolgorukij hozzászólására (») Feb 3, 2017 /
 

Amikor 12-14 évesek voltunk, szinte csak Urbán -féle kapcsolásokhoz jutottunk hozzá (falusi könyvtárban nem volt más elektronikai témájú irodalom akkoriban). Kevéske zsebpénzünket költöttük az MHSZ boltban alkatrészekre, majd rengeteg csalódás után (kedvünket jócskán vesztve) egy srác a faluból valahogy eljuttatta egy távoli villamosmérnök rokonához a hivatalos nyomtatású kapcsolás gyűjteményt amit tollal kijavított... Hát mit mondjak néztünk mint a gázálarc, rengeteg kapcsolás volt hibás, vagy rossz értékű alkatrészeket tartalmazott. Így az áramkörök szabatos ismerete nélkül nyilván esély sem volt rájönni a hibákra... Többen fel is adták....
(#) Ge Lee válasza krisz69 hozzászólására (») Feb 3, 2017 / 1
 
A 4 pár fettel szerelt VF2-modom 435W-ot adott le zenei jellel 8ohmra, a 600W-hoz képest kb. meg sem mondod fülre a különbséget, mert annyival nem hangosabb. Másrészt meg ott van a PA300 aminek van 600W-os változata is. És nem csak az itt keringő rajz, hanem az létezett gyáriban is. Ezt onnan tudom, hogy a kézzel visszarajzolt és mérésekkel ellátott rajzát valamikor 15 évvel ezelőtt töltöttem le a netről. Szóval közel sem lehetetlen...
(#) Jurij Dolgorukij válasza adapter hozzászólására (») Feb 3, 2017 /
 
pfffff... hát igen, legkevésbé sem vagyok meglepődve ezen! Sajnos, sokan jártunk így anno, nekem is sokféle (nem csak U.) szemétre ment el a kevéske pénzem. Erre mondják, okos ember a más kárán tanul..

krisz69-nek: 600W 8 ohmra szóba jöhet még az APEX H900, nekem is innét ajánlották ezt, ehhez is komoly külföldi fórumközönség tartozik, és számtalan sikeres utánépítés.

Magam is építek egyet, pár napja vettem meg hozzá az IR2117-eket, de még nem tartok vele sehol. Legalább két hónap, mire konkrét tapasztalatokkal tudok szolgálni, azonban ránézésre a kapcsolás korrekt, aligha okozna csalódást.

Az Elektor PA600-hoz seholnem találtam nyáktervet, gusztusom meg nem volt nekiesni, így ez végül nem került megépítésre. De ez amúgy sem jó neked, mert a 600W csak 4 ohmon igaz ennél. Ha 8 ohmra szeretnél nagy végfokot, inkább az Apex.
(#) krisz69 válasza Jurij Dolgorukij hozzászólására (») Feb 3, 2017 /
 
Esetleg tudnál egy linket dobni ?
(#) latyakosa válasza bugyi680 hozzászólására (») Feb 3, 2017 / 1
 
Hello, nem írtad a hangszóród impedanciája mekkora 4 vagy 8 ohm, de a trafód teljesítménye vélhetően nem elégséges a hidalt kapcsolásban a teljes teljesítmény leadására.
Ha a trafó 10V AC és 1,2A az csak 12watt teljesítmény míg az erősítő felvenne akár 25-30w-t is miközben leadja 20W-nyi csúcs teljesítményét. Ezért hangosan hallgatás közben vélhetően bezuhan a tápfeszültség amit torz hangként fogsz hallani.

Trafónak használhatsz 12AC szekunder feszültségű trafót is, csak olyat keress, amelyik üresjáratban szekunder feszültség nem több 13VAC-nál nagyobb .
(#) latyakosa válasza krisz69 hozzászólására (») Feb 3, 2017 /
 
(#) krisz69 válasza latyakosa hozzászólására (») Feb 3, 2017 /
 
Köszönöm
(#) sany válasza bugyi680 hozzászólására (») Feb 3, 2017 /
 
Esetleg az IC paneljára menő kék (IN) és barna (GND) vezeték helyett használj árnyékolt kábelt, mert így sok zajt felvesz a környezetéből.
A hozzászólás módosítva: Feb 3, 2017
(#) jocko válasza felnagy hozzászólására (») Feb 3, 2017 /
 
Szia!Kicsit hosszasan szeretnék szólni. Nekem van egy beag apt 100-am ,egy magyar gyári erősítő,amiből ki lett véve a 100voltos kimenet,és ki lettek cserélve a vezetékek,tápkondik.Ennyi.Semmit nem csináltam vele.Bd 249 -250c legolcsóbb kategóriájú (de még eredeti) tranzisztorok vannak benne, három pár.A kapcsolás nem annyira egyszerű,csak így ránézésre.Toroid trafó van benne,bőven elegendő tartalékkal.Már több hónapja nem tudom megunni.100 watt kimenő teljesítmény ellenére még nem tettem vele tönkre egyetlen hangszórót sem.Reggeltől estig tudom hallgatni,és akkor rossz,ha nem szól a háttérben valami ha itthon vagyok.Volt mindenféle IC-s erősítőm,hifi-m,pc hangfalam ,D-class modulok,gyári PA végfokok kb. 5-6,stúdió célú gyári végfokok 2db.,volt két magyar PA végfokom is,meg építettem innen a hobbiról pár kapcsolást,kb 6 modult összesen .Volt quad-om 2db,egyéb magyar hifi erősítők,elektoros kapcsolásra épült modult is vettem a múltkor méregdrága végtranzisztorokkal.Mindent eladtam a beag(-ok) kivételével.Én amit tudok mondani neked:Ha mindenki "palvinbarbará"-t tartaná a legszebb nőnek,és csak rá vágyna,akkor nagy bajban lennénk.Viszont én erősítőben nem "palvinbarbará"-t keresem .Mert sokan úgy gondolják,hogy az a legjobb ,ami a legtökéletesebb,legegyenletesebb ,legprecízebb,legkristályosabb, legélethűbb,az audiofil "cucc"-ukhoz a leginkább passzoló valami.Nekem nincsen audiofil "cucc"-om ,van két japán tunerem,meg egy PC-m sima alaplapi hangkártyával.Kétutas hifi hangfalak,6db/oktávos váltóval,talán a 80-as ,90-es (?) éveknek megfelelő papír magas sugárzókkal.Szoktam néha csodálni itt-ott több százezer forintos hangrendszereket.Ez a csodálat nálam megmondom meddig tart:ameddig elmegyek előttük.És akkor megérzem,hogy ez már TÚL JÓ.Ennyire nem lehet valami tökéletes.Ez engem azért zavar,mert a szó szoros értelmében -zavar- a tökéletesség.Mint Palvin Barbará-ban...Én azt ( a zenét ) hallgatom a technikámon ,amit szeretek.Mondja nekem anyám barátnője,hogy kimutatták,hogy az elektronikus ,meg a metalzene rontja a vérképet.A komoly zene amit meg pár száz éve hallgattak az emberek,(tényleg ,pár száz éve volt elektromos áram? ), az kifejezetten nyugtatólag hat az emberre.Biztos,ha ők mondják.Tudom,ilyenkor azt mondják nekem ,"majd kinövöm" én ezt az őrületet.Én erre azt szoktam mondani,hogy "nem akarom kinőni"...A d -class csodákat levezetném egy mondatban.Láttad Walt Disney-től valamelyik híres egész estés mozit?Na az az analóg.A shrek -agyalágyult- világa meg a d- class.Még a szemem sem áll rá erre a műanyag ,erőltetetten tökéletesre formált mesterséges világra.Ahogy a fülemnek idegen a d-class. A elektroncsövekről szokás szerint nem beszélek,nem az én asztalom.Az más világ.Amit végezetül tudok neked mondani.Ne gondolkodj kis teljesítményben,és nem bánod meg..Remélem nem írtam túl bántó hangnemben,de próbáltam határokat rajzolni ebben a végtelennek gondolt térben.Szerintem az emberi fülben van valami,amit már tudnak,hogy nem lehet számokkal kifejezni ,amit mi érzékelünk amikor hallunk.Én most elég nagy összeget tennék arra, az állatvilágból hozva a példát,hogy amikor a szem már nem tud reális képet alkotni a külvilágról,akkor a hanghullámok érzékelésével még óriási távlatok nyílnak meg.Tehát ne a lakkozott hangsugárzókat nézegesd a bemutatóteremben,és ne az erősítő mellé írt hatjegyű összegeket,de még csak ne is a tesztek semmitmondó ecsetelését arról,hogy "mit látott a vak,amikor először körbenézett".(kb)... FET -et én nem ajánlanám,mint mondtam a csövek világa nekem megint csak a tökéletességre való hajlás miatt talán még kevésbé szimpatikus mint a d-class.A B5-öt ha megépíted,az talán előnyödre válik,csak a tervező "mester"-t kéne előkeríteni,mert nagyon eltűnt.Ő szokta írni ,hogy nem mindegy milyen alkatrészekből építed,de valószínűleg az már egy nagyon komoly szint ahova ő eljutott amikor azt a kapcsolást megalkotta,és amennyire emlékszem írta is,hogy nem a műszerekre és a kapcsolás matematikai részére építette fel a végeredményt...stbstb.Jó zenehallgatást,és kevesebb elméleti töprengést kívánok neked!üdv.
(#) bugyi680 válasza latyakosa hozzászólására (») Feb 3, 2017 /
 
Teszteltem egyszer egy 6Ohm/20W -os hangszóróval ennél torzított a legjobban,meg az osztálytársamnak van egy B-30 típusú 8Ohm/30W-os hangfala kétutas ennél szólt talán a legszebben de ha felvettem a hangerőt itt volt torzulás de csak a mély hangoknál,meg van itthon egy Sony hifim annak a hangfalával is kipróbáltam az pedig 6Ohm-os kétutas ennél szinte alig torzított a másik kettőhöz képest de azért itt is volt torzulás.
A hozzászólás módosítva: Feb 3, 2017
(#) latyakosa válasza bugyi680 hozzászólására (») Feb 3, 2017 /
 
Érdemes lenne megmérni a tápfeszültséget miközben torz a hang nagy hangerőn.
Ha nincs jelentős ingadozás, akkor az áramkörben lehet az oka. Ha nagy az ingadozás akkor a tápból kellene erősebb mint korábban is írtam.
(#) bugyi680 válasza latyakosa hozzászólására (») Feb 3, 2017 /
 
Már mértem mert erre én is gondoltam 9.33-9.4V-ot mértem.Ez jónak számít miközben járattam.
A puffer kondik után mértem.
A hozzászólás módosítva: Feb 3, 2017
(#) sany válasza bugyi680 hozzászólására (») Feb 3, 2017 /
 
Attól függ, hány ohm-os hangszórót és hány W-os hangszórót kapcsolsz az erősítőd kimenetére. Az adatlap szerint 18 V -os tápfeszültség kell az IC -nek a maximális teljesítményének leadásához. Sajnos az általad használt táp, az általad kipróbált hangszórók meghajtásához kevés.

TDA2005.pdf
    
(#) reloop válasza bugyi680 hozzászólására (») Feb 3, 2017 /
 
Szia! A mért értékből még lejön még 2-2V maradékfeszültség, ugyanis a testen és a pozitív tápon lévő félvezetők nem tudnak maradéktalanul kinyitni. Mindössze 5V amplitúdójú a jel amit elő tudsz állítani, ez egy 6Ω-os hangszóróra 2W teljesítményt ad le.
(#) frici.hu válasza reloop hozzászólására (») Feb 4, 2017 /
 
Miller áramkör, ennek utána olvasok . Ma lett még javítva az erősítő, mert a gratz is hibás volt az első nekiugráskor s tesztre 4A-os volt benne, ma kapott egy 35A-est, s fel lettek fogatva a végfoktranzisztorok is. Leteszteltem teljes kivezérlésen 300W-os mélyládákon, kézmeleg fél óra üzem után a hűtő, remekbe szabott kis "szerkezet". A védelmi áramkör végfokpanelon lévő alkatrészei ellenőrizve, jók, a táppanelon ráépített egy ellenállást valaki egy másik tetejére, egyenlőre itt tart a dolog, holnap (ma) szakítok időt a védelem kapcsolásának megértésére, további vizsgálatára és javítására, ha elakadok benne jelentkezem, de ha nem akkor is. (A Wangine WNA-120-asamból kiindulva ennek is ugyanolyan remeknek kell legyen.)
(#) bugyi680 válasza sany hozzászólására (») Feb 4, 2017 /
 
Köszönöm a választ.
(#) bugyi680 válasza reloop hozzászólására (») Feb 4, 2017 /
 
Köszönöm a választ.
(#) reloop válasza frici.hu hozzászólására (») Feb 4, 2017 /
 
Következő: »»   1950 / 2567
Bejelentkezés

Belépés

Hirdetés
XDT.hu
Az oldalon sütiket használunk a helyes működéshez. Bővebb információt az adatvédelmi szabályzatban olvashatsz. Megértettem