Fórum témák

» Több friss téma
Fórum » Muzeális készülékek-alkatrészek restaurálása
Lapozás: OK   435 / 585
(#) gkari válasza hobbyjani hozzászólására (») Feb 21, 2017 /
 
A KF így nem valószínű, hogy vizsgálható, mert esélyes, hogy az újabb rádiók más KF frekin mennek (pl.455kHz). A cserekondik vajon azonos fesz. tűrésüek, mint az eredetiek? Mert,ha nem, lehet, hogy valamelyik átütött, vagy szivárog. Végigvizsgálnám az ellenállásokat is, lehet köztük szakadt, vagy "megnyúlt".
A hozzászólás módosítva: Feb 21, 2017
(#) hobbyjani válasza gkari hozzászólására (») Feb 22, 2017 /
 
Én vettem az ócskapacon két zsebrádiót és az egyiket beálitottam 465 khz KF-re,ez a régi csöveseknek a középfrekvenciája,igy van két hangológépem 455 és 465 khz-re.
(#) gkari válasza hobbyjani hozzászólására (») Feb 22, 2017 /
 
Ennek speciell 473,6 kHz, a magyar csöves rádióknak még a 60' évek elején is ennyi volt, a későbbi tranyósoknak lett 460kHz.
(#) horváth lajos hozzászólása Feb 22, 2017 / 1
 
Sziasztok ismét szereztem egy régi rádiót képeken látható milyen állapotba van még a doboza bent van a munka helyemen hangszórói hiányoznak kis felújítás vár rá
(#) kristikoma válasza gkari hozzászólására (») Feb 23, 2017 /
 
Miért volt ennyiféle középfrekvencia az AM vételre képes rádiókban? Meg miért pont 473,6 kHz? Miért nem 473? Nem látom a logikáját.
(#) Janó bácsi válasza kristikoma hozzászólására (») Feb 23, 2017 / 2
 
Azért volt ilyen pontosan kiszámítva, mert annak idején rengeteg állomás volt a közép hullámon, gyakorlatilag egymásba értek, és olyan KF frekit kellett választani amelyiknek egyetlen fel, és alharmónikusa nem zavar bele egyetlen adóba sem. Ez nemzetközi megállapodás szerint a 473.6 volt, közép Európában. Aztán később változtattak rajta, mikor újra rendezték a sáv-kiosztást. Ekkor lett a Kossuth is 539 helyett 540kHz, ha jól emlékszem.
(#) kristikoma válasza Janó bácsi hozzászólására (») Feb 23, 2017 /
 
Köszönöm szépen, így már értem.
(#) _BiG_ válasza kristikoma hozzászólására (») Feb 23, 2017 /
 
Azért, mert sok frekvencián működtek adók szerte a kontinensen, amik tükörfrekvenciaként vételi zavart okoztak volna, ha a saját frekvenciájuk és a KF egymás többszörösei. A frekvenciakiosztásokat és az adóteljesítményt nemzetközi megállapodás rögzítette, ehhez képest kellett kialakítani a rádiók belső frekvenciaviszonyait. Kellett találni olyan "lyukat" a spektrumban, ahova - lehetőleg - nem keveredik ki semmi más jel és KF-ként használható. Persze a folyamatos hangolás során hallhatók ilyen keveredések sípolásként, de a lényeg, hogy ilyen helyekre ne essen vehető adó, amit zavarna.
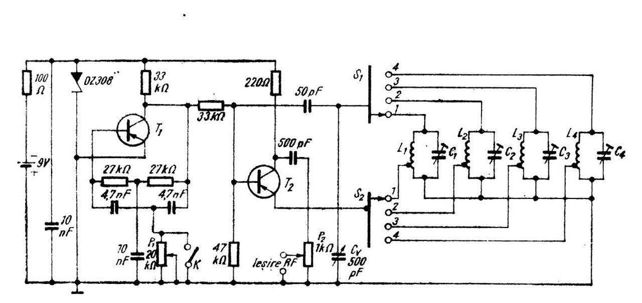
(#) hobbyjani hozzászólása Feb 23, 2017 /
 
Itt egy egyszerű RF hangmodulált generátor,egy régi román könyvben kaptam,két germánium RF tranyóval van, lehet bontásokbol beszerezni ,4 külön KF frekvenciára lehet beállitani.A tekercseket a szerző szerint egy 10 mm átmérőjü és 20 mm hosszu ferritre kell késziteni úgy hogy lehessen mozgatni a tekercseket a rúdon,ezek leetnek eltöröt ferrit antenna darabok ,a menetszám 165 menet 0,15 drótbol,leágazás a 48-as menetnél,egy gyári frekvenciamérővel aztán be lehet állitani 4 fajta közép frekvenciára,a frekvciaartomány kb 360-850 khz- nél van.A timmerek 30 pf-sak
(#) Janó bácsi válasza hobbyjani hozzászólására (») Feb 23, 2017 /
 
Nem kel ahhoz Romániába menni, elég ha beütöd a gugli keresőbe, hogy szignál generátor kapcsolási rajz, vagy sevice manual, több száz rajzot dob ki a másodperc tört része alatt......
(#) hobbyjani válasza Janó bácsi hozzászólására (») Feb 23, 2017 /
 
Van ott elég,csak a tekercsek menetszáma meg konstrukciója nincs sehol se megadva,számits ki te,ha van türelmed.
(#) Janó bácsi hozzászólása Feb 24, 2017 / 1
 
Üdv mindenkinek. Ha már a szignálokról esett szó, a napokban vettem ezt az amatőr valamit a neten. A gazdája nem tudta megmondani, hogy micsoda. Látszik, hogy egy amatőr építés, valószínű szignál generátor, egy fémdobozos néprádió házában. Újjá fogom építeni, már csak az érdekesség kedvéért is. Hiányzik az összes tekercs, talán egy cső is foglalatostól, stb. Majd írok róla.
(#) lefituta válasza kovacspista hozzászólására (») Feb 24, 2017 /
 
Ha eljössz érte, adok neked eredeti skálahúrt!
(#) hobbyjani hozzászólása Feb 24, 2017 /
 
Én meg felépitem ezt a román szignált csak KF -ra,ki fogom próbálni,hogy megy e szilicium tranzisztorral a polarizáció változtatásával, másképpen a forgó is, meg van hozzá egy csöves fajta,és még van egy orosz múzeális fémdoboz is.Minden esetre nekiálni egy régi süketnéma csöves rádió javitásának szignál nélkül egy őrület és 99 százalékos kudarc.
(#) fecameca válasza hobbyjani hozzászólására (») Feb 25, 2017 /
 
Simán. Esetleg a T2 bázisa és a test közötti 47 K- t helyettesíted a beállítás idejére egy 100k- 1M közötti potenciométerrel. Érdemes egy szkóppal nézni, mikor ad ki stabil, torzítatlan színusz jelet, az így beállított értéket fix ellenállással behelyettesíted. Én egy Gyuber szignált alakítottam át tranzisztorosra, úgy, hogy az ECC cső helyére tettem tranzisztorokat, most 12 Voltról megy. Nagyon szentségtörésnek számít itt az ilyesmi? Ha csak KF hangolásra használod, nincsen különösebb gond, de több sávra nem nagyon érdemes ilyen egyszerűt építeni, mert más frekvenciákon számítani lehet rá, hogy a rövidebb hullámok felé rohamosan esik a feszültsége. Mondjuk nálam sem annyira érdekes, hogy hiteles legyen, amilyen ritkán használom, van pontos frekimérőm és szkópom, ezekkel együtt már csak az a lényeg, hogy valami produkáljon valami rezgést, a frekvenciát, feszültséget, a komolyabb műszereimmel leellenőrzöm olyankor.
(#) Janó bácsi válasza Janó bácsi hozzászólására (») Feb 25, 2017 / 1
 
Fojt. a szignált. Ma Puskás börze volt, nem sokat foglalkoztam a műszerrel, csak szétdobtam. Vettem a börzén 1 K-ohmos szén pot métert a kimenethez, meg oda adtam Anti barátomnak a skálákat felújításra.

DSC05247.JPG
    
(#) hobbyjani válasza fecameca hozzászólására (») Feb 26, 2017 /
 
Még kellene egy FM KF frekvenciamodulált szignál,ott is baj van a csöves ráióknál,mert nem tartják be a standard 10,7 mhz frekvenciát,ha valaki tudna egy rajzal segiteni,tekercsadatokkal is [nem henrikbe,hanem konkrét menetszámmal]
A hozzászólás módosítva: Feb 26, 2017
(#) pucuka válasza hobbyjani hozzászólására (») Feb 26, 2017 /
 
Készíts 10,7 MHz -es kvarc oszcillátort, ezzel be tudod állítani a pontos KF frekvenciát, ezután elegendő egy akármilyen FM szignált használnod a beállított vételi frekvenciára. Azon aztán állíthatod a löketet kedvedre.
Bővebben: Link
Elég nehéz, egy olyan KF generátort készíteni (de nem lehetetlen) amire gondoltál, és talán nem is érné meg. Lényegében olyan szignálra lenne szükséged, ami pontos, és 10,7 MHz -en is megy. Egy ilyet PLL -es alapon lehetne megvalósítani.
A hozzászólás módosítva: Feb 26, 2017
(#) hobbyjani válasza pucuka hozzászólására (») Feb 26, 2017 /
 
A baj ott van,hogy a csöveseknél az FM KF nem 10,7 mhz,hanem 8,4 mhz,azért kellene egy változtatható frekijű szignál,egyébként a 10,7 mhz-re van egy régi táskarádió,amit szignálnak használok és nagyon jól be lehet hangolni igy a 10,7-es KF fokozatokat
(#) gkari válasza hobbyjani hozzászólására (») Feb 26, 2017 /
 
Én még nem hallottam műsorvevő rádió FM KF 10,7MHz - től eltérőről, már az '50-es években sem volt máshogy - nemcsak Európában (pl. van egy "Fisher 80-T - m az USA-ból -cca. 1952-es gym., abban is 10,7MHz az FM-KF freki). TV hang KF sem annyi (CCIR:5,5MHz - úgy emlékszem).
(#) hobbyjani válasza gkari hozzászólására (») Feb 26, 2017 /
 
Orosz rádióknál van elég eltérő frekvencia,ott kaptam a 8,4 mhz KF -t is
(#) Gobe54 válasza kristikoma hozzászólására (») Feb 27, 2017 /
 
Lehet csak városi legenda, bár elég megbízható forrásból hallottam: A kf-ek behangolásához szükség volt pontos és stabil kf generátorra. Akkoriban még "nem nőtt minden bokorban" kvarckristály. A dolog sürgős volt és ilyen (473,6 kHz) kavicsot találtak....
(#) Gobe54 válasza hobbyjani hozzászólására (») Feb 27, 2017 /
 
Így van. Riga-103 FM kf 6,8MHz.
(#) fecameca válasza Gobe54 hozzászólására (») Feb 27, 2017 /
 
Hacsak valami nyomós okom nincs rá, én nem tekerem szét a KF-et, kivéve, ha látszik rajta, hogy belebarmoltak a rádióba. Ugyanúgy a tv-k be is egy tv szerelő nem tekeri el őket, mert wobbler nélkül nehéz helyrehozni.
(#) gkari válasza Gobe54 hozzászólására (») Feb 27, 2017 1 /
 
Ez igaz, de vajon miért annyi?
A hozzászólás módosítva: Feb 27, 2017
(#) kristikoma válasza gkari hozzászólására (») Feb 28, 2017 /
 
Nyilván az ellenség megtévesztése volt a cél
(#) Gobe54 válasza gkari hozzászólására (») Feb 28, 2017 /
 
Véletlenül se legyen annyi, mint a kizsákmányoló, dekadens nyugati....
(#) Gobe54 válasza _BiG_ hozzászólására (») Feb 28, 2017 /
 
Ezt el tudnám hinni, ha meg lenne támogatva egy konkrét számítási példával.
(#) pucuka válasza hobbyjani hozzászólására (») Feb 28, 2017 /
 
Természetesen, igen sokféle KF frekvencia létezik, nem csak az a néhány, amit általában használnak. Csak felsorolok néhányat, amivel már találkoztam: 100, 120, 400, 450, 455, 460, 470 kHz, 1,5; 4,5; 5,5; 6,5; 9; 10,7; 21,4; 45; 75; 1200 MHz, ezekből van néhány amelyekre készítenek különböző szűrő, és kristály készleteket. Nyilván azokat használják általánosabban.
Ha mindegyik létezőt be szeretnéd tudni állítani, akkor az a választásod marad, hogy szerezni (építeni) kell egy a megfelelő sávban működni képes pontos, stabil, szignál generátort, ami tudja az általad kívánt modulációs módokat. pl. 100 kHz től 200 MHz (vagy még magasabb) frekvenciákig. Ezzel mind a KF, mind a bemenő köröket be tudod állítani. Ha mégis szignál készítésére adnád a fejed, érdemes olyat készíteni, ami wobblerezhető, mert akkor egy szkóppal kiegészítve egy aránylag jó eszközt készíthetnél.
De ha ilyen elvarázsolt KF frekvencia van, akkor ezt be lehet állítani igaz nagyobb munkával is előre hátra hangolgatással is, a pontos KF frekvencia amúgy se lényeges.
Ez az a szakma, ahol műszerek nélkül nem nagyon megy.
(#) Janó bácsi hozzászólása Feb 28, 2017 / 3
 
Igaza van "pucukának" jó minőségű műszerek nélkül nem nagyon érdemes nekiállni készülékeket felújítani, pláne hangolni. Én már több szignál generátort építettem, nem sikerült egyik sem valami jól. Igaz, hogy egy viszonylag egyszerű szerkezet, még is ha mérni szeretnénk vele, nagyon gondosan kell elkészíteni, megkockáztatom, hogy amatőr alapon nem, lehet a gyári minőséget megközelíteni. Hatványozottan igaz ez a magasabb frekvenciákon, pláne Fm módban. Sokat számítanak a megfelelő vastag árnyékolások. a felharmónikus mentes működés, a frekvencia stabilitás, meg a kimenő szint, frekvencia függetlensége. Szóval szignált venni kell, nem gyártani.
Ennek persze ellent mond, hogy most is szignált csinálok, de ez csak egy meglevő amatőr szerkezet felújítása, bemutató, múzeumi célra. Megcsináltam a tekercseket, és egy új arrettáló szerkezetet is hozzá, mert a régi spiáter tengelye már szétmállott, használhatatlan. Kicsit több menetet raktam rá számítottnál, majd ha beindul le kell tekerni belőle, így lehet majd pontosan beállítani.
Következő: »»   435 / 585
Bejelentkezés

Belépés

Hirdetés
XDT.hu
Az oldalon sütiket használunk a helyes működéshez. Bővebb információt az adatvédelmi szabályzatban olvashatsz. Megértettem