Fórum témák
» Több friss téma |
A klónok CH340 Soros-USB illesztőjének drivere (Letöltés)
De lehet. A kimenttel sorbakötsz egy ellenállást és ezen méred a feszültséget. Nagy ellenállás nem lehet mert nagy terhelésnél nagyon csökkenni fog a kimeneti feszültség, esetleg oda kötöd, ahola tápegység ezt az esést kompenzálni tudja. Kis ellenállás esetén még kelleni fog egy erősítő is, mert pár mV-ot már eléggé macera kontrollerrel mérni, a felbontás határait súrolja.
Itt van egy ránézésre jó megoldás: Bővebben: Link.
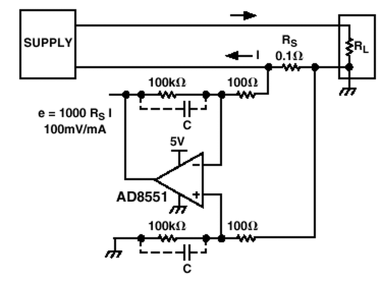
Itt egy egyszerű kapcsolás, olcsó LM358 cal is működik bár ha van negatív tápfesz meg offszet állítási lehetőség akkor mindenképpen jobb főleg kis tartományban.
Az LM358 ha 5V referenciát használsz akkor min 8V tápfesz kell neki, ha 5V ot akkor használd az arduino belső 1,1V referenciáját. Vagy veszel az ebayről egy kész led kijelzőset. A hozzászólás módosítva: Feb 21, 2016
Akkor most az ellenállás ellőt is utána is mérek feszültséget és azzal mit kellene csinálnom?
Képlettel kiszámolod, hogy az adott ellenálláson mekkora fesz esik és megvan az áramerősség
Nem. Az ellenálláson mérsz feszültséget, felerősíted és a kapott feszültségből visszaszámolod az áramerősséget.
Persze, hogy nem az o hibaja, eppen azt mondtam, hogy hallgass ra, o is pont ezt irta, hogy valaszd le.
Mindedj akkor úgy látom a legegyszerűbb ha megveszem azt amit linkeltél úgy is lehet rendelnem kell. Sajnos valami történt a nano-val (nem ezzel mértem a feszt) ez a lézergépnek volt a vezérlője most rá dugtam usb-re észre vettem hogy nem csinál semmit mert alapból megvillogtatja a lézert de ez elmaradt próbálom programozni semmit se csinál csak annyi amit a videón meg a hiba üzenetet dobja ki programozáskor. Mit lehetne neki csinálni hogy életre kelljen újra?
Videó
A hozzászólás módosítva: Feb 21, 2016
Idézet: Ez kétségtelenül sok kockázatot rejt magában, ezért célszerű a keresést mindig a bevált, megbízható helyeken kezdeni (pl. Adafruit honlapja).„csomó megoldás van csak hogy az biztos hogy jó e azt már senki se írja meg.” A másik dolog, amit senki sem fog megmondani, hanem neked kell ellenőrizni, hogy ténylegesen mennyi a 12 V-os tápegységed kimenő feszültsége. Egy nagyteljesítményű 12-vos névleges feszültségű stabilizálatlan tápegység kimenetén 15-17 V is lehet, ami az Arduino Vin bemeneten sem tolerálható. Mindezek kivédése esetén még mindig előfordulhat, hogy mellényúl, figyelmetlenségből valamit rosszul köt be az ember. Ezt csak a bekapcsolás előtti többszöri ellenőrzéssel lehet kivédeni.
Ellenőriztem a tápegységet 12v állítottam be. Azt a legelején még össze nem kötöttem oda figyeltem rá.
Az arduino-nak van 1 kis panel ami előállít 5v meg 3.3v azt külön vettem.
A rajzodon a "led amplifier" input oldalán van egy 12 V jelű rész amit összekötöttél az Ardu 5V-tal.
Nem elképzelhető, hogy ha tápfeszt adsz az erősítőnek, megjelenik a 12 V azon a ponton? Mert ha igen, akkor ne csodálkozz a füstön...
Tanács kérés in circuit debugger-hez !
Nincs Atmel gyakorlatom. Más procikkal viszont sokat dolgoztam. Nekem nagyon-nagyon fapados az Arduino ide. Viszont sok hasznos lib van. Inkább az Atmel Studioban szeretnék dolgozni és kellene valami programozó és debugger. A TME árul néhány kütyüt. Elég drágák. Ezt találtam és sokkal olcsóbb mint az eredeti Atmel programozók. Bővebben: Link Vélemények ? Használ ilyet valaki ? Azt írják ujab Studiokkal nem műkszik!!! Esetleg tudtok valami jól működő cuccot ajánlani ? Köszi.... A hozzászólás módosítva: Feb 22, 2016
Tanultam belőle.
Majd máskor jobban figyelek.
Sziasztok!
Tudna nekem ajánlani valaki grafikus kijelző(k)höz valamilyen magyar nyelvü dokumentumot, oktatóanyagot, bármit ami magyar nyelven van? A karakteres LCD -vel már úgyahogy megbarátkoztam, de most egy projektemhez grafikus kijelző kell, szóval rendeltem egy ilyet: Arduino 2.4 inch TFT LCD screen Minden segítségnek örülnék ami magyar nyelven van... (Ha végképp nincs magyarul, esetleg az angol is szóba jöhet...) Köszönöm...
A lenyege, hogy a vezerlochip milyen. Vagy ILI9341-es vagy 9325-os. Ez a ketto van, mashogyan kell inicializalni.
A hattervilagitast viszont NEM lehet kapcsolni sehogyan, neked kell megoldani a kijelzo lapjarol.
Mármint hogy nem lehet kapcsolni? Ezt nem értem...
Még nem tudom melyík fajta, nem jött meg tegnap rendeltem csak... Idézet: „Még nem tudom melyík fajta” Ezt írják: spfd5408 controller Egyébként nem vásárlás ELŐTT kellene megnézni, hogy mit is veszel? ![]() Joao Lopes programkönyvtára és leírásai talán segítenek: SPFD5408 Arduino Library for 2.4 TFT Forráskód a GitHub-on Leírás az Instructebles honlapon Tévedés ne essék: nincs ilyen kijelzőm, a programot kipróbálni sem tudom, csak a Google használatában próbáltam segíteni...
Igaz, közbe rájöttem, hogy már letöltöttem hozzá ami kell, és bemásoltam ahová kell...
Mostmár inkább valami olyan felsorolás kéne, amiben le vannak írva milyen parancsokat lehet kiadni a kijelzőnek, és azokat hogyan kell alkalmazni...
Cáfolni szeretném a dolgot. 2,4"-es ILI9341-es és 9325-ös vezérlőchipes kijelzőim vannak - igaz az álló, nem a fekvő változat, mindegyiken kapcsolható a háttérvilágítás. Önálló lábkivezetése van- talán az 5V jelű.... A többi kivezetés SPI buszos. Arra vigyázz, hogy elég szépen vesz fel áramot, így nem árt külön megtáplálni. Igaz én Propellerhez használtam, de annak a kódja is használható az arduinós megjelenítés megértéséhez, mivel eleve az arduinóst irták át
Mi az, hogy a többi kivezetés SPI buszos?
Én azt hittem, ez 8 bites párhuzamos adatátvitelű, meg kell még valami négy vezérlőjel neki... Legalább is a leírásából ezt hámoztam ki... Ott szó sincs SPI kommunikációról...
Szia!
Cafolni szeretnem a cafolatot Nekem van ebbol jo tiz darab, amit a kerdezo belinkelt es rendelt. Miutan leveszem rola a kijelzot, igy lathatova valik a szerkezete. Nincs rajta kapcsolotranzisztor, hanem mindossze egy ellenallas. Jol vegigkovetheto a LEDek taplalasa.A 3.3V pedig log a levegoben, miutan mindent (meg a LED hateret is) a stabIC lat el. Igy az 5V valoban kapcsolja a hatteret is - no meg az egesz kepernyot is. Kezdhetned az inicializalast elolrol... Idézet: Ezeknek a kijelzőknek két nagy csoportja van: párhuzamos, illetve soros (SPI) illesztésű. A tiedről azt írja az eladó, hogy spfd5408 vezérlő, és 8 bites párhuzamos illesztés. Másoknak pedig van SPI soros) vezérlésű kijelzője... „Mi az, hogy a többi kivezetés SPI buszos?”
Szia! Igazad van. Ez enyémek mind SPI-sek. Ezen csak az SD kártya, illetve az enyémen kapcsolható a háttérvilágítás - külön. Mellesleg az SPI-shez talán könnyebb drivert találni.
Ennyit az Arduino-ról !!!!
wiring.c
Ilyen kódot írni a világ egyik "legdivatosabb"... nem is tudom micsodájban.... ! Hát nem semmi ! Egyszerűen nem hittem el ezért kiváncsiságból letöltöttem az aktuális wiring csomagot. /* $Id: WDelay.c 1154 2011-06-07 01:25:23Z bhagman $ Nem mai gyerek ez sem de már ebben is ez van :
Pontosan mondja már meg valaki, hogyha ezt a két eszközt összedugom:
Arduino Board TFT Display Akkor az arduinon hány szabad kivezetésem (és melyík pinek) marad amit használhatok még? Valamint tudtok olyan szimulátorról, amiben benne van ez a két eszköz, és ha összerakom, akkor beimportálva a skecs fájlt, láthatom a kijelzőn mit műveltem?
A product feturesben felvan benne sorolva 1 2 adat.
2.4" diagonal LCD TFT display 240x320 resolution, 18-bit (262,000) color spfd5408 controller with built in video RAM buffer 8 bit digital interface, plus 4 control lines Uses digital pins 5-13 and analog 0-3. That means you can use digital pins 2, 3 and analog 4 and 5. Pin 12 is available if not using the microSD Works with any 328 or Mega (Leonardo not supported yet) 5V compatible! Use with 3.3V or 5V logic Onboard 3.3V 300mA LDO regulator 4 white LED backlight. On by default but you can connect the transistor to a digital pin for backlight control 4-wire resistive touchscreen A hozzászólás módosítva: Feb 23, 2016
A leírtakkal ellentétben a fénykép szerint csak az A5 szabad.
Akkor ha már tényleg kézbe kerül és fizikáliasan össze lesz párosítva akkor biztos kiderül . "addig nyalogathatjuk kívülről a monitort és okoskodhatunk "
Üdv!
Még mindig dolgozom az nRF24L01 moduljaimmal, de már lassan ptt járok, hogy kihajitom az ablakon. Nincs nekem türelmem szórakozni vele, én csak egy vezeték nélküli soros portot akarok. Működik a mintaprogrammal, de én saját adatokat akarok átvinni, ami meg nem nagyon.
Van ez a rész, annyi tiszta, hogy a Hello Worldöt küldi el, ami egy uint8_t típusú tömb. Én szöveget és számokat szeretnék vegyesen küldözgetni, de számokat nem tudok, mert csak ezt a semmirekellő uint tömböt fogadja el, semmi mást máshogy. Ezen meg bonyolult pl egy longot átvinni. Az inttel addig jutottam, hogy átkonvertálom Stringbe, a Stringet meg char tömbbé, de nem sikerül ezt uint8_t[]-re. Hogyan kellene megoldani?
Nekem a data2[]-is átment:
Ugyan ez longra:
|
Bejelentkezés
Hirdetés |






Akkor ha már tényleg kézbe kerül és fizikáliasan össze lesz párosítva akkor biztos kiderül . "addig nyalogathatjuk kívülről a monitort





