Fórum témák
» Több friss téma |
Köszi, hogy kikerested a vonatkozó IEC szabványt. Tanultam belőle.
Bár olvasva, nekem inkább az jön ki, hogy ez inkább beszéd hangosításra vonatkozik, pályaudvarok, kórházak, repterek stb. hangosbemondóira. (?) Nem tudom, hogy közszükségleti termékeknél is használják-e? Viszont az egyértelműen látszik, hogy (természetesen) ők sem színusszal mérik, hanem fehér vagy rózsaszín zajjal.
Köszi szamóca, ez nagyon szemléletes.
(Honda130-nak): Alapjában kétféle képpen teheted tönkre a hangfaladat: - Ha az erősítőd nagyobb teljesítményű, mint a hangfalad. Itt az erősítő nem klippel, hanem a túlterhelt mélynyomó leég, kirepül stb. - Ha az erősítőd ugyan valamivel kisebb teljesítményű, mint a hangfalad, de a klippelés miatt, az amúgy alacsonyfrekvenciás sávba eső teljesítmény felharmónikusai megnőnek, a közép/magas hangszórókra fognak jutni, és azok fognak elszállni. Visszatérve az eredeti kérdésedre: Az 1100W -ot felejtsd el! Az egy olyan elméleti érték, ami csak igen speciális körülmények között bír ki a hangszóró. Ilyen speciális körülmény pedig a gyakorlatban nincs...
Semmit. Elég, hogy megköszönted.
"Az 1100W -ot felejtsd el! Az egy olyan elméleti érték, ami csak igen speciális körülmények között bír ki a hangszóró. Ilyen speciális körülmény pedig a gyakorlatban nincs... "
De bizony van. ![]() Nezd csak meg ezt.
Sziasztok!
Előre is elnézést kérek mindenkitől, mert nem válaszolok mindenkinek külön-külön! A helyzet az, hogy szép kis párbeszéd alakult ki a kérdésem kapcsán, amit nehéz lenne személyekre bontva megválaszolni, de komolyan mondom, nagyon tanulságos volt. Mindent összevetve, arra a következtetésre jutottam, hogy valójában egy nagy hum-bukk az egész. Ezt természetesen arra az 1100 Wattos adatra értem. És igen, ezt eddig is tudtam, csak a tudományos magyarázat hiányzott. Említettétek a mérési szabványok variációs lehetőségeit, nagyon érdekes gondolat jutott eszembe: Végülis nagyteljesítményű hangszórót a legkönnyebb készíteni, csak egy házon belüli szabványt kell neki kitalálni. Számomra azért picit bizar érzés, hogy pont a JBL-lel kapcsolatban kell rádöbbenjek ilyen dologra. Hogy adhatja nevét egy adathoz, amit egy olyan szabványméréssel állapítottak meg, amihez hozzászámolják a mellette felejtett vasaló áramfelvételét is?! Ilyen erővel a 280 Watt sembiztos hogy létezik. Vagy tévedek? Elvileg az általam kérdezett hangszóróhoz 49,5 literes ládát ír a JBL. Érdekes, hogy a boltokban meg 40 liter körüli mérettel árulják. Lehet hogy pont az adatok pontatlansága miatt kell kisebb láda hozzá. Köszönöm a válaszokat! Nagyon sokat tanultam belőle. Egyébként amit az erősítő méretekről és hangszóró méretekről írtatok, teljesen egyet értek vele. Szerintem is hiába méretezi túl az ember akár a hangszórót, akár az erősítőt, mindenképp a fül fogja eldönteni, mikor elég a hangerőből károsodás nélkül. Viszont egy erősítőt én soha nem választanék lényegesen kisebbre mint a hangszórót, mert hiszem,hogy egy erősebb erősítő akár kíméletesebb is tud lenni egy hangszóróval mint egy gyenge. Nem vagyok szakmabeli, elmagyarázni nem tudom, de szerintem egy jobb erősítőnél a hangszóró még kisebbet is mozog ugyanolyan mélynél. Jó éjt!
Idézet: „nagyon érdekes gondolat jutott eszembe: Végülis nagyteljesítményű hangszórót a legkönnyebb készíteni, csak egy házon belüli szabványt kell neki kitalálni.” Jó eséllyel felvételizhetsz egy kínai gyártó, magyarorszégi üzemébe, fejlesztő mérnöknek ! Idézet: „Hogy adhatja nevét egy adathoz, amit egy olyan szabványméréssel állapítottak meg, amihez hozzászámolják a mellette felejtett vasaló áramfelvételét is?!” A hozzászólásokban senki sem mondta, hogy a JBL milyen szabványt használ, mert nem tudjuk! Idézet: „de szerintem egy jobb erősítőnél a hangszóró még kisebbet is mozog ugyanolyan mélynél” Kérném, hogy ezt fejtsd ki bővebben, de... inkább NE!!! :eek2:
Egyébként a JBL adatlapok nagyon hitelesnek bizonyultak, a többi kacat gyártó mellett. (Pl. Monacor , SAL, diebeiseieie... stb)
Az 1100 W sem hülyeség , azt meg senki ne gondolja ,hogy úgy kell kibírnia , hogy nincs egy megfelelő dobozba építve. Az 1100W -os erősítőt is megnézném,hogy ki is volt a gyártója...
No szóval. Mondhatnánk hogy a gyártó ne adja meg csak a valós szinuszjellel bevizsgált maximális terhelhetőséget, és akkor nincs káosz, ezt tudja biztosan huzamosan és kész. ( na ez sem ilyen egyszerű csak hogy a káosz nagyobb legyen, mert függ a mérőjel frekijétől, az időtől
)De itt jönnek azok képbe, akik azt mondják, jó jó, de ki hallgat foteljában elpöttyedve szinuszjelet a hangsugárzóján ? Tehát a szinuszjel bár valós adat, egy szélsőséges felhasználási körülmény. ( most tekintsünk el a psychoelektronikus zene irányzatától, ahol még huzamosabb négyszög is előfordul ) A különböző hangszórók rövidebb, hosszabb ideig képesek elviselni nagyobb jelszinteket is mint az károsodási határértékkel bíró max.szinusz. -A zenei / vagy műsor / jel ami igen változó amplitudóval, és frekivel bír, már közelebb áll a hallgatási szokásainkhoz. Ha kis torzítású zenével táplált erősítő teljesítményt kapcsolunk a hangsugárzónkra, és adott ( huzamosabb ) időn keresztül mérjük ennek a tartós értékét, akkor a névleges terhelhetőséget mértük meg. Ez az ami közel áll a valósághoz, és régen így is vizsgáltak a szoc. kögösötöben. Hogy ez sem egyszerű a DIN szabvány szerint mérni, az már természetes. lsd. -A vizsgálat céljából egy legalább 8m3 es helyiségbe helyezik a hangsugárzót, és névleges teljesítményű,2 csúcstényezőjű, szabványban meghatározott átviteli karakterisztikájú szűrővel súlyozott fehérzajjal terhelik 300órán át, miközben ki be kapcsolgatják. 2 perc működést 1 perc szünet követ. 300óra elteltével, 100órán át állni hagyják egy előírt szabványú klimatizált helyiségben. Ezután a hangsugárzó paramétereinek a specifikációtól nem szabad eltérést mutatnia. És még van zajterhelhetőség, más néven teljesítmény álló képesség, RMS, Zenei, üzemi, PMPO stb.... Ráadásul az amerikai a IEC, a Német DIN, a Japán JIS ajánlások mind más mérési körülmények szerint mérnek, és más néven illetik ezeket. Tehát nem is olyan egyszerű a helyzet. Ráadásként ezeket az ajánlásokat szép kis összegekért árulják, ezért nehéz a hozzáférés, hacsak nem vagy kőgazdag hangszórókészítő, vagy nem olyan helyen dolgozol.
Ez szép volt. Valami ilyesmire gondoltam tegnap.
Köszi mindenkinek és bocsi a sajátos hozzászólásomért. Vannak dolgok, amiket csak értek, de fel nem foghatom. Ezt ti is láttátok a hasz-eimből. Szóval a lényeg: Azt értem, hogy villanymotor, de mi hajtja?
Hi Mesterek!
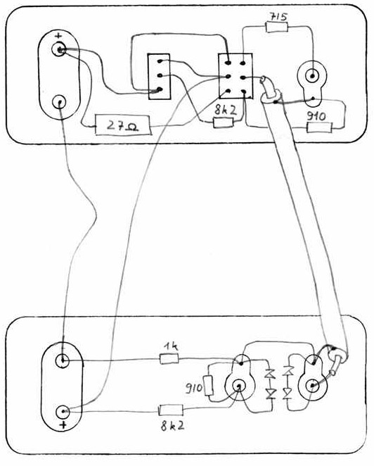
Nem közvetve de ide is tartozhat a kérdésem. Ezt a mérő kütyüt akarom megépíteni. Na már most két kérdésem lenne, mégpedig hogy: - A hangkártya be menetére menő jelnél zénerek vannak össze forgatva. Ami a két rajzon ellentétesen vannak. Egyszer a katoddal egyszer az anoddal, vajon melyik a helyes? - A hangkártya bemenete max 2V pp bír ki(drágábak). Itt a zénerek 4,1V-sek, vagy ugyanúgy 0,7V esik zénereként és 1,4 nél vág? 4,1v nél pedig rövid zár? Remélem érthető volt a kérdésem. Segítséget előre is köszönöm. Idézet: „Egyszer a katoddal egyszer az anoddal, vajon melyik a helyes?” Teljesen mindegy, a sorba kötésnél így 4,1 V + a nyitóirányú feszültség lesz a +/- feszültség korlát csúcsértéke, és ez kb. 1,5 V effektívet jelent. Ez pedig bőven alatta van a 2 V (eff) -nek.
Ok, kösz
A 2 volt csúcstól csúcsig értettem nem effektívként, de lehet hogy Én nem értem. De mivel már ez egy megépített és publikált projekt ezért gondolom biztos hogy működik.
A 2 Vcc az 0,7 V eff -t jelent. Ha ennyi lenne a bemenőfeszültség korlátja, használni sem nagyon lehetne a vonalbemenetet. Mindíg kell lennie túlvezérlési tartaléknak, legalább 5 - 6 dB nek.
Volt annó egy pár JBL "közepem?" aminek így nézett ki a membránja. A mágnest árnyékoló kupak fedte és ha jól emlékszek vissza relative nagy teljesítményűek voltak.
Mérete szerint az enyémek membránjai kb. 10 cm átmérőjűek voltak, de ez amit a képen látni asszem kisebb. Az enyémek elején volt sűrű lyukakkal fekete rács is ami levehető volt. 4 ?os példányaim voltak. Nagymama kedvesen kivitte őket a szemétdombra pár egyéb "kacattal" egy napon mire hazajöttem. Nagyon tudnék örülni ha legalább a típusát tudnám annak amim volt vagy azét amibe gyárilag gyártották őket. Bővebben: Link
Na lassan haladok a hsz-ek bemérésével :d. A freki menet majd holnap.
Hi Mesterek.
Eddig eljuttatom azaz sikerült itthoni körülmények közt lemérni a WH1770 hsz.-t Ř =16 cm,Fs =58.81 Hz,Re =3,4,Qms =6.27,Qes =0.87,Qts =0.76,Cms =0.505? 10-3 mN,Mms =14.5 gr- g Vas =29.1 liter,Bl =4.6 tesla ? m,L =0.47 mH,EBP=68 Érzékenység leméréshez van ötletetek? segítséget előre is köszönöm.
Szia.
Gond nélkül kalkulálható. A bassbox-ot szoktam használni erre a célra. Kell hozzá megadni: Fs ,Re ,QMS, QES , QTS, VAS, SD , de az SD-t jól meg kell gondolni ,honnan méred ,vagy inkább a gyártó adatlapját megnézni. xmax mérése otthon nemigen lehetséges, itt is célszerű a gyári adatlap értékeit használni. Pe mezőbe a hangszóró max teljesítményét lehet írni (sinus). Vd a hangszóró hátulja által kiszorított térfogat lesz.
Hi
Néztem a progit, s kicsit elbizonytalanodtam. Három dolog lenne: -A hangszórónak a VD-je az most a membrán által kiszorított tér és plusz a mágnes térfogata vagy a "hangszóró vázát" kell számolni és +a mágnest? - Én 2 db közepet akarok bele rakni a dobozba. Amit a prg számol az 1 hangszóró teret/litert azt 2 hsz-nél megszorzom kettővel s kész? (Gondolom hogy nem ilyen egyszerű) És ebbe a "rekeszbe" amit dobozon belül leválasztok a közepeknek a magasat bele rakhatom, vagy már az is külön tér/doboz méret kell neki? Remélem érthető volt amit kérdezek. Válaszokat s segítséget előre is köszönöm.
A bassbox progiban meg kell adni a hangszóró dimenzionális méreteit és akkor beleveszi a VD-be. De elhiheted ez nem olyan nagy jelentőségű dolog.
A középnek nem kell leválasztott tér ha a kosara zárt. Ha nyitott akkor T/S mérés kell és egy zárt dobozt kell neki méretezni .A hangolása QTC 0.707 legyen. A programban van lehetőség külön megadni , testeteket , térfogatokat , amiket szépen ki is von az össz térfogtból. Ilyen szokott lenni pl a merevítés , a beépített erősítő stb.
Hi, eddig jutottam ma.
Esetleg vélemény vagy észrevétel? Rakok fel képeket a hsz-ekről. A sárgából lesz 2 db a feketéből 1 db.
Most már csak azt kellene elérni hogy a mélynek számolt doboz nagyjából egyezzen a középpel, azaz csak a magasság váltózón a szélesség illetve a mélység az maradjon.
Várj csak . 100 literes zárt dobozt terveztél. Alig megy mélyre. 67 Hz.
A fekete az a középhangszóró? Milyen az átvitele? T/S paraméterek kellenek ahhoz is. Az alapján megtervezni egy neki szükséges zárt dobozt . Annak a térfogatával majd lehet számolni ,ha a mély dobozát tervezed. Milyen érzékeny? Legalább 3 dB-el érzékenyebbnek kell lennie mint a sárga hangszóró darabja. minimum 93 dB . Különben trükközni kell majd vele ,hogy tudjon olyan hangos lenni mint a két mélyközép együtt. A doboz dimenzionális méreteit majd megtervezed azzal a programmal amit én írtam , és fent található a blogomban. Abban tudok segíteni , de ehhez már tudni kell a két térfogatot.
Hi
Szóval a fekete a mély 20cm a sárga az mély közép. Igen Én is "furcsállom" a 100l, de 1hsz-hez 1770 (sárga, közép) is ~ 50l számol a prg. Nem tudom valamit rosszul állítottam be? Úgyis ~250/300Hz akarom engedni a közepet. Bekötését idáig sorosan gondoltam, de nem tudom menyire lesz macera az érzékenységüket össze hozni. Úgyhogy lehet hogy külön külön mennek majd, azaz párhuzamosan és így viszont az impedancia illesztését kellene majd össze varázsolni ~8 ohmra a hangváltóval. De mivel még a fekete mérésének nem álltam neki így még az kérdőjeles mi lesz vele. A mélyet viszont nyitottra akarom, így remélem elérem vele a 40 Hz. A hangfalat valahogy majd így képzelem el ahogy a paintos képen van. Méreteztem egy hsz-re is a prg-vel. Ez se lett kisebb .Gondoltam arra hogy a gyári doboz méret után megyek majd amibe a hangszórók valók, de mivel két külön "család" így a dobozok teljesen más méretűek. Gondolom a liter után menni meg teljesen felesleges. Néztem a prg-det, de még nem adtam fel! Kb. 1 órát húzogattam a méretező bigyókat, de nem nagyon találtam 3 piros sárga kocka alá.A bassbox meg beírtam az adatokat ahogy mondtad az érzékenység kiszámolása véget és ha már "dobta" a doboz tervet akkor mért ne. 1770, mélyközép A másik azaz a fekete ebben van:Wharfedale Valdus 400 , de erről érdemleges infót hirtelen nem találtam a google-ban. Köszi még egyszer a rám szánt idődet és segítségedet. Beszéltem melóhelyen egy hang mérnők gyerekkel és ajánlott egy könyvett. Most azt vadászom (Klinger - Hangdobozépítés). Próbálok fejlődni a témában.
Szia.
A méréseid alapján ilyen dobozba tenném. Egy másik fórumon is tervezteted a hangdobozaid? Nem biztos , hogy mindenben egyetértünk , vagy az is lehet más elképzelésünk lenne a projectről. Szerintem válaszd ki ,hogy hol csinálod... Azt könyvet nem nagyon érdemes megtanulni. Az alapokat könnyen és gyorsan megtanulhatod , subvoice oldalán.
Hi, kösz az infot, lehet valamit tudni a prg-ről?
doboz méretek nem láttam a pdf-be. Ma nekiállok a feketének. A feketét tere nyitott lesz, a közepeket meg szerintem külön külön lerekesztem hogy még véletlenül se zavarják egymást. Anno innen irányítottak arra az oldalra, de mivel itt interaktívabbak az emberek maradok itt, ne legyen belőle galiba.
Jó, semmi a bass box-ról van szó. Írni olvasni tudó embernek párja nincs
Ugyan ezen a modellen a "MAX Acoustic Power" diagramja mit mutat ?
Szerintem az a mervado.
Áruld el mit tudsz kiolvasni belőle ,nekem eddig nem sokat mondott , azért is hagytam ki a pdf-ből.
|
Bejelentkezés
Hirdetés |
















.


