Fórum témák

» Több friss téma
Fórum » Videoton RA 6363 és EA 6383 javítása
Lapozás: OK   97 / 124
(#) szaka hozzászólása Ápr 1, 2017 /
 
Sziasztok!

Kaptam egy RA6363s erősítőt javításra.
A hibajelenség, hogy ha bekapcsolom az FM kapcsolót lenémítja a végfokot. TAPE és PHONO kapcsolók esetén működik.
Hol keressem a hibát?
Szabályzó/végfok/előerősítő modulokat megnéztem azok jók.

Válaszotokat előre is köszönöm!
Üdv
Gábor
(#) djhans válasza szaka hozzászólására (») Ápr 1, 2017 /
 
FM programegységre menő némító vezeték vagy le van szakadva és hozzáér valamihez vagy a program taszt. hibás.
(#) szaka válasza djhans hozzászólására (») Ápr 1, 2017 /
 
Szia!
A vezeték nincs leszakadva.
Mi az a program taszt?
(#) steelbird válasza szaka hozzászólására (») Ápr 2, 2017 /
 
Programozó egység, más néven tasztatúra.
(#) szaka hozzászólása Ápr 2, 2017 /
 
Értem!
Megnézem van-e itthon másik egység és kipróbálom azzal.
(#) szaka válasza szaka hozzászólására (») Ápr 2, 2017 / 1
 
Sikerült!
A programozó egység volt a hibás.
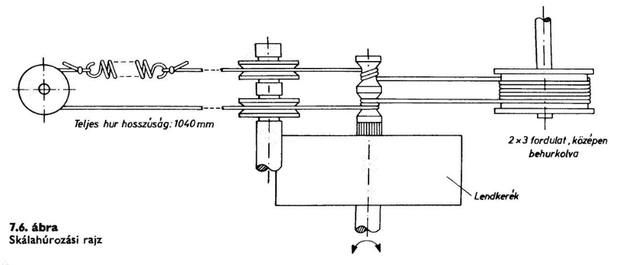
Viszont most vissza kell tennem a hangoló zsineget a csigákra.
Arra van valakinek instrukciója?
(#) rozsdas111 válasza szaka hozzászólására (») Ápr 2, 2017 / 2
 
Fel teszed a forgó kerékre, a hangoló gomb tengelyén át tekered. A rugó megfeszíti és kész is. A mutató helyzete lehet gond mindjárt csinálok képet róla. pill.
(#) rozsdas111 hozzászólása Ápr 2, 2017 /
 
Valamiért nem engedte a módosítást. Megpróbálom leírni A menetét.Készülék hátulja felől nézve indul: mutató bal oldala, bal oldali tartó kerék (készülék eleje felé eső tárcsája),le a forgó kondi tengelyére 2x, innen a jobb oldali tartó kerékre( készülék hátulja felé eső tárcsa),innen a rugós feszítő jobb oldalára, rugós feszítő bal oldaláról a bal oldali tartó tárcsa ( készülék hátulja felőli részre), innen a hangoló gomb tengelyén 2x, jobb oldali tartó tárcsa ( készülék eleje felé eső rész), innen a mutató jobb oldala. Jó szórakozást, és kitartást!
A 63 80 húrozási képe csak a tájékozódási jelleggel lett berakva.
(#) bekeipeter válasza rozsdas111 hozzászólására (») Ápr 2, 2017 /
 
A 6360-6363 húrozása már egyszerűbb.
(#) szaka válasza rozsdas111 hozzászólására (») Ápr 2, 2017 /
 
Köszönöm szépen!
Hát lehet nem teljesen olyan mint a képen, de sikerült mert működik és nincs gubanc benne

Már át is adtam a gazdájának!

További szép napot!

Üdv
Gábor
(#) rozsdas111 válasza bekeipeter hozzászólására (») Ápr 2, 2017 /
 
Amikor nekem kellett a sajátomat húrozni ( mert oktondi módon leszedtem egy szerelés alkalmával, akkor még nem volt róla rajzom sem, meg internetem sem volt. Magamtól kellett rájönnöm. Hát elszórakoztam vele egy kis ideig Mi lett volna ha bonyolultabb? Bele gondolni is rossz
(#) rozsdas111 válasza szaka hozzászólására (») Ápr 2, 2017 /
 
Na akkor minden jó lett. Gratulálok.
(#) bekeipeter válasza rozsdas111 hozzászólására (») Ápr 4, 2017 / 1
 
Én mielőtt leszedtel, lerajzoltam. Mire elkészítettem a tökéletes rajzot, rögzült is a fejembe Azóta sem kellett elővennem a rajzot, csak mások számára.
(#) rozsdas111 hozzászólása Ápr 27, 2017 /
 
Sziasztok!
EA6383 erősítőbe keresem az összes bele való potméter( hangszín,balansz,hangerő)
Nem tudom konkrétan mivel is lehetne őket pótolni. annyi fajta potméter van a kereskedelemben hogy nem tudom mit is kéne választanom. Kérlek segítsetek!
(#) sofa hozzászólása Máj 26, 2017 /
 
Sziasztok!
Érdeklődnék nincs e valakinek elfekvőbe egy EA 6383S végfok panelja amitől szívesen megválna?
Köszönettel és üdvözlettel várom válaszotokat!

6383s16.jpg
    
(#) fripi96 hozzászólása Máj 27, 2017 /
 
Sziasztok!
Hozzám került egy RA 6363S típusú erősítő, hibajelenség a következő:
Minden működik rajta , azonban halkan szól ha a Ballaszt középre állítom (FM módban is.) A potméter eltekerésével egyre hangosabban szól a jobb vagy bal oldal.
Várom az ötleteket , segítséget
(#) fripi96 válasza fripi96 hozzászólására (») Máj 29, 2017 /
 
Sikerült kipróbálnom egy másik szabályzó modul-al , a hiba továbbra is fenn áll sajnos.
(#) mugab válasza fripi96 hozzászólására (») Máj 30, 2017 /
 
Potméter földelési hiba?
(#) fripi96 válasza mugab hozzászólására (») Máj 30, 2017 / 1
 
Vissza olvasva a régebbi kérdéseket / válaszokat, volt másnak is hasonló problémája . A Megoldás az volt hogy ki kellett szedni a végfok modulokról a VT03-as FET-et. Most így rendben müködik, csak ugye nincs némítás. Ha lesz időm kimérem a némításhoz tartozó dolgokat.
(#) holaszlo hozzászólása Jún 13, 2017 /
 
Sziasztok! Van egy 6303-as tunerem. Eddig kifogástalanul működött. Nemrégóta bekapcsolás után egy darabig gyönyörűen működik, aztán elkezd torzítani, erős alapzajjal. Az antenna mozgatására is erősen érzékeny, torzít, zajos. Szerintetek mi lehet a hiba? FM2-n jelentkezik, minden adón.
(#) fripi96 hozzászólása Jún 23, 2017 /
 
Sziasztok!
Valakinek nincs bontott bekapcsoló gombja RA 6363s-hez ???
(#) holaszlo hozzászólása Jún 23, 2017 /
 
Sziasztok! Volna valakinek egy 3mm-es vasmagja vagy roncs 6363 tuner-je amiből kitermelhetném? Köszi Laci
(#) jbalo hozzászólása Júl 6, 2017 /
 
Sziasztok! A 48. oldal környékén belaradio néven történt hozzászólásoknak nem találom a megoldását. A hibám ugyan az ra 6386S típusú rádió erősítőnek nem jó a rádiója. Tudna valaki segíteni, kapcs rajzom van, de sajnos azon nincsenek feszültség adatok feltüntetve így most megakadtam.
(#) djhans válasza jbalo hozzászólására (») Júl 7, 2017 /
 
Szia. Meg kell mérni hogy az FM modul megkapja-e a 15V-ot. A tasztatúra egység program gombjai is vezérlik hogy AM vagy FM módban vagyunk. Ha az Utolsó gomb van benyomva akkor ugye a nagy hangológomb él és a kapcsolósorral lehet AM-FM-et váltani. Sokszor a tasztatúra kontakt hibája miatt nem működik mert vagy nem vált üzemmódot vagy a hangoló feszt nem váltja a rádió modulok részére. Van úgy hogy valamiért rádió állásban egyfolytában némít. Nem olyan egyszerű a hibakeresés. A kapcsolási rajz nélkül nem is érdemes hozzákezdeni. Sokszor skálarész hangolója ami egy nagy tolópoti, szokott rossz lenni még.
A hozzászólás módosítva: Júl 7, 2017
(#) Gafly válasza djhans hozzászólására (») Júl 7, 2017 /
 
Vagy csak koszos.
Érdemes nézelődni, alaposan.
(#) djhans válasza Gafly hozzászólására (») Júl 7, 2017 /
 
Nem egy egyszerű az biztos.

6363S
Valakinek van abban tapasztalata hogy mi lehet az erős zúgó hang oka amit némítás helyett produkál a gép? Már egy ideje küzdök vele de nem jöttem még rá.
A hozzászólás módosítva: Júl 7, 2017
(#) Zsolt355 hozzászólása Júl 19, 2017 /
 
Üdv!
Hozzájutottam egy kívülről szép 6060-S-hez. Nem volt még megbontva. Ha jól tudom ebben még nincs érintés némító, és erősen hasonlít a belső a cleopara-hoz. Kontaktspray tisztitás a potikban, és nem recseg egyik sem. Hibajelenség a következő minden bemeneti csatornán, és a rádión is. Bal oldal erősen fúj, és érzéketlen a mély és maga állításra, jobb oldal gyengén fúj, de ott nincs baj a hangszínszabályzással. Közép állásban is hasonló a helyzet. Az előerősítő modult kiszedve a bal oldali lábak kicsit feketék voltak, azt letakarítottam, az érintkezőket is, de a hiba megmaradt. Sem az előerősítő, sem a szabályzó modulon nem látszik rendellenesség. Van valakinek hasonló tapasztalata? Mi lehet a ludas? A szabályzómodul, vagy az előerősítő modul? Esetleg ebben volt hasonló típushiba amit bizonyos alkatrészek cseréjével javítani lehet? Előre is köszönöm a segítséget!
(#) djhans válasza Zsolt355 hozzászólására (») Júl 19, 2017 /
 
Valamelyik kisjelű tranzisztor kezd halódni.
(#) Zsolt355 válasza djhans hozzászólására (») Júl 19, 2017 /
 
Köszönöm! De melyik modulban lehet? Előerősítő, vagy szabályzó?
(#) szamóca válasza Zsolt355 hozzászólására (») Júl 19, 2017 /
 
Ha van szkópod, a jelút követésével tetten érhető.
Következő: »»   97 / 124
Bejelentkezés

Belépés

Hirdetés
XDT.hu
Az oldalon sütiket használunk a helyes működéshez. Bővebb információt az adatvédelmi szabályzatban olvashatsz. Megértettem