Fórum témák
» Több friss téma |
Fórum » 2x10wattból kimeneti jel
Témaindító: koboraram1221, idő: Dec 2, 2007
Témakörök:
azér nyitottam a témát mert van egy kis 2x10wattos hifim de nincs rajtakimenet pl:szublábához. nah én arra gondoltam hogy kéne valami ami a a erősitő kimenetére kötve csinál bemeneti jelet a szubládához és mindezt sztereóban. jah és a hangfalakat ne zavarja a kütyü. röviden ennyi
üdw
és mi a kérdés?
szia!
Javaslom egy aluláteresztő szűrő megépítését. ezt beépítede a subládába, a bemenetre a bal és jobb hangszórókat rákötöd, kimenetre értelem szerűen a sub-ot. A sub valamint a bal-jobb hangszórók párhuzamosan legyenek kötve. Szerintem igy jó lesz. Javaslom a Topi féle kapocslást. (itt, ittis) sok sikert! üdv: uli
Rákötsz a kimenetre egy 220ohmos ellenállatot és arról viszed egy kimeneti ajzatra.
Feltéve hogy aktív a szub, és van benne szűrő. Ha szebben akarod, akkor OPA jelkövető a hangerőszabályzó utánról meghajtva.
nah az a lényeg hogy nincsen rajta kimenet + egy erősitő zámára ezért kéne valami szabályzót kitalálni hogy ne őlje meg a 10w az erősitőt ha a bemenetére kötöm én is valami ellenálásra gondoltam
szerintem féreértettük 1 ást nekem csak valami leszabályzo kéne hogy a hifi hangszorójai szoljaon megy a szubláda is egyszerre tudjon menni csak nincsen a hifinek kimeneti jele amit az erősitőbe tudmék küldeni..remélem igy már érti mindenki
jah értelek!
de ellenállás. akkor oda viszont nagyteljesítményű ellenállat kell meg szeritenm azt az erőlködö elé kéne rakni nem? és ha odarakod, akkor nem kell akkora teljesítmény. De szertiem ez az ellenállás kérdés... biztosan van rá szebb megoldás. nemtudom, biztosan igy is müködni fog, de ez olyan egyszerű, TÚL egyszerűnek tünik. nem tudoma hifi sokáig fog e élni így :/ én nem tennék be ilyet ![]() üdv: uli
No kitaláltam. nem egy ellenállás, egy nagyon egysezerű kapoclsás és mégis szebb azért mint egy mezei ellenállat. ÉS változtatható!!!
ime: itt sztem ez jó lehet. egyzserrű, maximtól tudsz ilyen ICt rendelni.. mi kell még? üdv: uli
Ezt a soros ellenállásos megoldást használják fejhalgatókimenetnek az erősítőknél. Ott tényleg 1W-os az ellenállás, de a terhelés miatt. Egyébként autóhifinél is találkoztam már ezzel a megoldással.
meredek biztos 1 re gondolunk??
na én is valami olyasmire gondoltam már csak egy kapcsolás kéne
csá!
elvileg elég egy sima feszültéség osztó!!! http://www.epanorama.net/circuits/speaker_to_line.html felelősséget nem vállalok!!!! lehet, hogy pont line jel legyen, más értékek kellenek!!!!
És lőn.
De az is jó amit hhkfk mond, azt meg LM3915-ös kivezérlésjelzőnél láttam. Idézet: „mi kell még?” Pl. az, hogy ne torzítson 0,35 V-nál nagyobb bemeneti feszültségen. Vagy az, hogy ne menjen tönkre még nagyobb jeltől. Egy sima poti kellene ide, meg 2 ellenállás!
Hali.
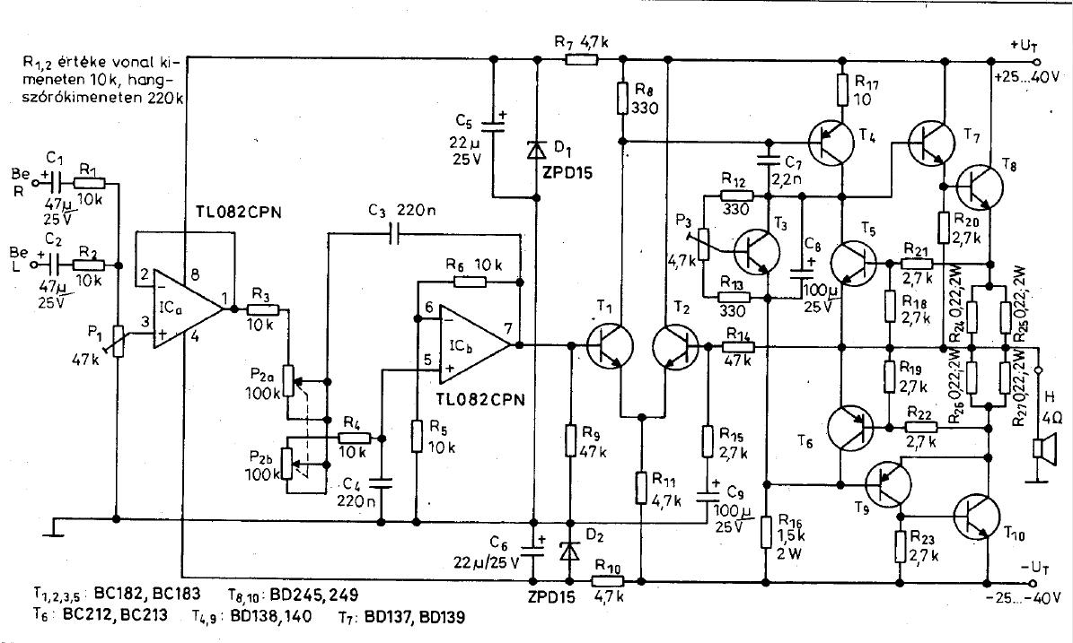
Ez az Urbán féle 60W -os subvégfok kapcsolása. Figyeld meg a bemenetét. Ez kell neked. A két kondi + ellenállás + poti. Ez a megoldás tökéletesen leválasztja a Hi-Fi -d kimenetét, és megfelelően összegzi a jelet a sub -nak. Amennyiben nem bírja kihajtani a Hi-Fi végfokja a subládát úgy kell egy egyszerű műveleti erősítős jelerősítő.
köszi mindenkinek a válaszokat remélem h valamiek jo lezs..na de most ké legyen a pont??
|
Bejelentkezés
Hirdetés |











