Fórum témák
» Több friss téma |
Többen kialakítottak valamely mikrovezérlőre egy univerzális áramkört. A gyári PLC-k is egy adott számú I/O csatornával dolgoznak.
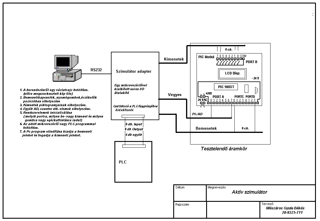
Egyszerűbb 2-20 I/O egység aktív teszteléséhez, ha nincs közelben a vezérlendő berendezés, mindig kinlódni kell a próbakapcsolás összehuzalozásával (kapcsolók, érzékelők, kontrol Led-k) provizórikus bekötésével. A virtuális szimulátorok jók, de jó lenne egy aktív szimulátor is. Egy PC-n futó program billentyűzetről és egérről kezelné a rendszer input jeleit, melyet soros porton továbbít az aktív illesztőn keresztül a tesztelendő egység bemeneteire. A vezérlőben futó program elvégzi a dolgát és a kimenetei adják a jelet az illesztőre. A kapott jeleket az illesztő feldolgozza és sorosan visszaküldi a PC-nek. A PC képernyőjén diszpécser pult jellegűen megjelennek a kiadott és a kapott jelek. Ezt nevezném aktív tesztelésnek. Ehhez kell: Egy egyszerűbb szerkesztő és futtató program. Egy mikrovezérlős soros átalakító egység. Az átalakítót meg tudnám csinálni, esetleg a programot is, bár nem vagyok profi. A témát azért vetettem fel mert, ha valaki csinált ilyesmit, vagy tud ilyen egyszerűbb szzimulátorról, vagy vannak ötletei, akkor megbeszélhetjük. Mellékelek egy elvi rajzot, hogy mit is gondoltam.
Hello!
Látom készítettél magadnak feladatot. Kicsit nagyot akarsz harapni. Bár véleményem szerint sokkal kevesebb az értelme, mint a munka vele... - Csak akkor érdemes munkát fektetni ilyen dologba, ha az esetleg egy sorozatban gyártott eszköz végellenőrzését végzi. (naplóz, archivál, minőségbiztosítási dokumentumot készít...) - A csatlakozó vezetékeket, így is be kell kötni a portákra. - A PLC-nek van saját tesztprogramja, de meg is lehet valósítani a teszt feladatokat, egy külön tesztprogram készítésével. - A PLC program letöltéséhez, megvannak a saját eszközei, ha ezt magad akarod végezni, a teljes protokollt fel kel dolgoznod. Utána mivel bizonyítod, annak megfelelőségét? - Analóg jeleket is szeretnél feldolgozni, azt külön át kel gondolni, felbontás, AD... Ebből már nem olcsó mulatság megfelelő sebességű és pontosságú AD-t készíteni. - Az RS232 porta sebessége elég lassú, hogy szimulációt elvégezhesd. PLC-hez még megfelelő, de mikrokontrollerhez már nem. - Ha a hardvert el tudod készíteni, akkor mi a gond. A PC szoftvert senki nem fogja helyetted elkészíteni, lévén az igényeknek csak Te vagy birtokában. De ha igen, azt ingyen senki nem készíti el, és azt nem tudod megfizetni, kivétel, ha az első pontról van szó. Én már készítettem egyszerű szimulációs programot, de abban sokkal több hibát el tudok követni, mint magában a főprogramban. Mert nem csak a programra kell koncentrálni, hanem a környezeti és időhazárd tényezőkre is. Aztán lehet keresni, ki miért nem úgy viselkedik ahogy kell. Szóval nem akartalak lebeszélni, sem elkeseríteni, és csak azért válaszoltam, mert láttam, hogy nem szól senki. Pedig ha lenne mit, akkor a PIC-es kollégák, már közbeszóltak volna. üdv! proli007
Szia !
Köszi hozzászólásodat és észrevételeidet. Sok mindenben igazat adok, de te más környezetben, más felkészültséggel, és más tapasztalatokkal írod véleményedet. Ha nem is olyan profi szinten, de PIC-kel már több problémát megoldottam és készítettem néhány aránylag univerzális alapáramkört, mely IO egységei általában szalagkábeles csatlakozókkal kapcsolódnak a be- és kimeneti illesztésekhez (illetve rátüzhető sorkapcsok mint a mellékelt rajzomon). Vizuális típus vagyok ezért a gondoltam, hogy a vezérlendő dolgot felrajzolom a monitorra, a kapcsolók, érzékelők jele szintén alkalmazáscentrikusan látszik. Igy lépésenként logikusabban végig követhető a megoldandó feladat. Demo és programcélokra is alkalmas lehet. Csak érdeklődtem, hogy valaki foglalkozott-e már ilyesmivel, vagy tud-e már megvalósult hasonló dolgokról.
Csá.
Szerintem jól hangzik, amit kitaláltál. Bár én már 18F-es szériában gondolkodnék a helyedben és nem RS232-es hanem USB-s csatlakozáson, az sokkal gyorsabb.
Igazad van a 18F és az USB alkalmazásával gyorsabb eszközök készíthetők.
Erre technikailag és tudás szempontjából egyelőre kevés vagyok. Én végálláskapcsolókat, mágmeskapcsolókat, pneumatikus munkahengereket és stb. mechanikai elemeket szeretnék szimulálni a képernyőn úgy hogy kattintok az egérrel, vagy nyomogatom a billentyűket.(és közben fejben is végiggondolom a folyamatokat) Ehhez a 2400 vagy 9600 baud még sok is. A GENIE-hez hasonló portokat és eszközöket szabadon definiálható egyszerűbb program kell. A dolgot nem én találtam ki, csak a lehetőségiem és szükségleteim szerint adódó feladat lenne.
Hello!
Mostanában éppen ilyesmin dolgozom. Régebben készítettem USB <-> I2C konvertert egy célfeladatra. Az USB soros port emulációt valósít meg, vagyis a PC-ről elég könnyen kezelhető Windows-XP-től felfelé. Jelenleg a firmware-t alakítom át általánosabban használhatóra. Mivel elég sok I2C vezérlésű portbővító, I/O, A/D, D/A, I2Crepeater stb. kapható, az eszköz szinte korlátlanul továbbfejleszthető análkül hogy a későbbiekben a firmware-t módosítani kelljen, csak a PC programot kell bővítgetni. Ha készen vagyok felteszek egy kapcsolási rajzot + hex fájlt.
Sziasztok! Olyan programra lenne szükségem, amivel optikai átvitelt tudok szimulálni. Amit eddig találtam a VPI Transmission Maker nevezetű program, de ezt sehonnan nem tudtam megszerezni. Tudtok esetleg ilyen programot? Köszönöm előre is! Ha rossz témakört választottam elnézést!
Nyilván próbáltam
Ezt a programot sehonnan nem tudtam letölteni, hasonló, számomra is elérhető programra lenne szükségem. Ha tudna valaki segíteni, akár csak egy program névvel megköszönném. |
Bejelentkezés
Hirdetés |






Ezt a programot sehonnan nem tudtam letölteni, hasonló, számomra is elérhető programra lenne szükségem. Ha tudna valaki segíteni, akár csak egy program névvel megköszönném. 




