Fórum témák
» Több friss téma |
- Ez a felület kizárólag, az elektronikában kezdők kérdéseinek van fenntartva és nem elfelejtve, hogy hobbielektronika a fórumunk!
- Ami tehát azt jelenti, hogy a nagymama bevásárlását nem itt beszéljük meg, ill. ez nem üzenőfal! - Kerülendő az olyan kérdés, amit egy másik meglévő (több mint 17000 van), témában kellene kitárgyalni! - És végül büntetés terhe mellett kerülendő az MSN és egyéb szleng, a magyar helyesírás mellőzése, beleértve a mondateleji nagybetűket is!
Nincs mit, örvendek, ha segíthetek valakinek! Bármi kérdés, fejlemény van, írj nyugodtan.
Ne haragudjatok, de lenne egy kérdésem. Nem vagyok szakember,de szeretek barkácsolni. Találtam egy rajzot, amin a kapacitások mellett nincs feltüntetve a mértékegységük. 470, 0,1 stb. Ez, amennyiben nincs kitéve más jelölés, nF-ot jelent?
Köszönettel.
Hali!
Kérdezni nem bűn,ha nem kérdezel,nem is okosodsz.A 470 valóban nF,DE a 0,1 az viszont uF!,vagyis 100nF.Nem tudom miért van így(tán' helytakarékosság).Általában nF-ban van feltüntetve,de figyelj a kivételekre! Máté.
köszönöm.
Furmányos. Nálunk a vérnyomás Hgmm, a pulzus 1/min. Hála Istennek!
Ha szeretnéd használni is, akkor kell. Egyébként nem.
A 14-es lábra a + feszültséget kell adni, a 7-esre a negatívat. adatlap
Sziasztok., feltudnátok arról világosítani hogy hogy van ez a + - GND dolog, néhány erősítőnél így van, és ha akksiról akarom üzemeltetni kettő kell, de nem tudom hogy kell bekötni, eddig azt hittam hogy van az akksin a + meg a - de nem, valami hatalmas kavar lett a fejembe...
Hali!
A + értelem szerűen a + táp.Mármost,lehetséges - tápfesz is,ez a GND-hez képest minuszban van(a pozitív meg pozitívban...)Az aksin valójában + és GND van,ha úgy tetszik,a - értéke 0. Remélem segítettem! Máté.
Szia!
A + / - / GND "dolog" általában szimmetrikus tápegységre utal. A gyakorlatban ez annyit tesz, hogy ha neked van egy tápegységed ami +12V, GND és -12V kivezetésekkel rendelkezik, az lényegében kétszer 12 volt, csak az egyik fele a földhöz (GND, ground) viszonyítva elméletileg "pozitívabb", a másik "negatívabb".
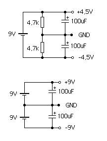
Hirtelen összedobtam két rajzot, hátha segít megérteni!
A felső egy ellenállásosztós megoldás, 9 voltot egyenlő arányban osztja le 4,5 - 4,5 voltra. Ennek a megoldásnak sajnos az a hátránya, hogy nagyobb terheléseknél az ellenállásokon jelentős feszültség eshet. Ha a ez huzamosabb, akkor ezt a kondik se tudják kijátszani. Az alsó "korrektebb" megoldás, két kilencvoltos elem sorbakötve, plusz kondik... Ez stabilabb! Remélem tudtam segíteni!
Ha már így belejöttünk,rajzoltam egy +-12V-os stabil tápot!
Kérésre a melléklet eltávolítva. --vicsys
Hello!
Ez az ami egyáltalán nem jó! Legjobb, ha megkéred egy Modit, törölje le, mert még megépítik.. üdv! proli007
Hello!
Szinte mindent! Ha megnézed,két plusz feszültségből lesz egy plusz, meg egy mínusz. Ráadásul az alsó stabi GND bemenete, lett a negatív feszültség kimenete. Így előállítani +- feszültséget csak akkor lehetne, ha a bemeneten a két bemeneti feszültségnek galvanikusan nincs semmi köze egymáshoz. De akkor sem célszerű megoldás. Ha ilyen egyszerű lenne a dolog, miért készítenének negatív stabikat szerinted? üdv! proli007
Köszönöm,hogy kijavítottál! :kalap:
Üdv mindenki!
Nekem is lenne kérdésem: Konkrétan az NE5534-nél az offszet kompenzálást hogyan illene megvalósítani. Arra tippelek, hogy az 1-es és 8-as kivezetésekre kellene tenni egy trimmer egyik-másik végét, és a középső leágazást pedig +tápra. Ez így jó lenne? Mondjuk 1Mohm az már sok? És mi van akkor, ha egyik és másik ágba is befolyatok áramot (mert ha ügyesen eltalálom, akkor tudomásom szerint elég lenne csak az egyik komp. bemenetbe befolyatni)? Melyik paraméterei változnak meg az alkatrésznek? Mekkora trimmert érdemes betenni oda? A másik kérdés: LM358 -as használható-e dual táplálással? Vagy ez felejtős? Ha használható, akkor hasonló képen, mint egy "sima" műveleti erősítő? Mit kell tudni róla? Mekkora lehet a bemeneti impedanciája minimum, és maximum? (be1-->föld, be2-->főld, be1-->be2) Mit jelent az adatlapján (ST féle adatlap), hogy "Large output voltage swing 0V to (Vcc - 1.5V)" ?
Az offszet-kompenzálásról a NE 5534 adatlapjában találsz egy rajzot (Frequency Compensation and Offset-Voltage Nulling Circuit).
Az LM358 működik kettős tápfeszültségről is. Az adatlap szintén sok hasznos információt nyújt a témában. A "Large output voltage swing 0V to (Vcc - 1.5V)" annyit jelent, hogy nagy kimeneti feszültség-kivezérelhetőségi tartomány.
Hali
NE5534; A gyari ajanlas (TI 5534) szerint az offset poti 100k es a csuszka 22k ellenallason megy a + tapra. Ha lehet a gyari megoldast valaszd, mert ha asszimetrikusan probalod a kompenzaciot, megvaltoznak a bemeneti parameterek (asszimetrikusan). LM358: Termeszetesen hasznalhato kettos tappal is. A kapcsolast kell akent kialakitani. A bemeneti impedanciara vonatkozoan a bemeneti munkaponti aram ad megkozelito adatot, ami tipikusan 40, max 500 nA. A kimeneti feszultsegtartomany 0V- (Vtap-1.5V), ez azt jelenti, meddig lehet a kimenetet kivezerelni. Udv Vili
Köszönöm a gyors választ.
Bocsánat, az említett rajz eddig kiesett a fókuszált látómezőmből, pedig kerestem. Eszembe jutott még egy kérdés az NE5534 -el kapcsolatban: Au=3 -ig van gyárilag frekvencia-kompenzálva?-> "These operational amplifiers are compensated internally for a gain equal to or greater than three." LM358: ha Vcc-1,5V a kimeneti csúcs, akkor ez azt jelenti, hogy földet -vagy kettős tápnál mínusz feszültséget- sem tud a kimenetre adni, hanem csak attól 1,5V -tal magasabb feszültséget? Vagy ez itt nem szimmetrikus?
A tápfeszültség(ek)ből vonj ki másfél voltot, és az lesz a maximális kmenőfeszültséged a GND-hez képest. Ennyit jelent.
Hello!
Azt szeretném kérdezni hogy, hogy tudom megcsinálni egy motorral azt hogy mondjuk egy propellert fordítson el egy bizonyos pontig és utánna áljon le?
Igen. Ilyen célra kimondottan alkalmas a léptető motorok.
Hello en megepitettem a ezt a kapcsolastVezetek kereso a falbanes semmikepp nem gyullad ki az ego
A léptető motort megkapom elektronikai boltokban?
Van, akinek meg mindig világít a LED a kommentek szerint
Valamit biztosan elkötöttél.
Szinte mindegyik rossz nyomtatóban találsz ilyet.
|
Bejelentkezés
Hirdetés |






Valamit biztosan elkötöttél. 




