Fórum témák
» Több friss téma |
Fórum » Keverőpult építése, javítása
Bővebben: Link a BPM Szamlalorol; amgy a lap aljan van, h 150$ ami szerintem draga! Egy ilyen kutyuert bar ha nagy szukseg van ra, ki tudja,..
Szevassz kösy a segitséged szerintem jól nézki csak az a baj hogy nem férne bele a keverőbe de megvételre hogy aztán szétszedhessem és átalakithassam jó lenne.
Csak énse fizetnék ki ennyit érte télleg kösy és fogadd mély tiszteletem. szevassz.
Hat ha mar venni akar az ember akkor ennyi penzert mar vehet egy hobby keverot, inkabb minthogy szetszedni es belerakni egy keverobe! Kar erte,.. Amgy nagyon szivesen ha meg van valami akkor irj nyugodtan segitunk ha tudunk,.. (de meg mindig keresgelek kapcsrajz utan ;o)) Erdekes a tema, soha nem is gondoltam ra)
Udv; Imre,..
Szevassz Valve.Hát van olyan hogy az ember szeme előtt ott van mindig az a dolog ami hasznos de nem igazán gondol arra hogy miért is ne csinálhatna eggyet Házilag Mert most miért vegye meg azt a készüléket kompletten keverő formályában amikor úgyis csak az kell belőle neki mert maga a keverő tulajdonképpen megvan neki csak ez a kis kütyü kell neki belölle.Nah szevassz és még mindig kösy mindent. Bence István (ez mind csak a keresztnevem) szólithatsz azon amelyik tetszik.
Sziasztok!
Az a kérdés merült fel bennem, hogy hogyan lehet digitális keverőt építeni? A CD lejátszóimon vannak digitális kimenetek, és ezeket a jeleket szeretném a keverőre kötni, itt digitálisan hangszínt szabályozni, majd keverni, és a kimenő jelet alakítani analóggá! Erre tud valaki valamilyen megoldást, illetve ötletet?
DSP-vel, vagy FPGA-val, de az nem az a ketegória, amit csak úgy hipp-hopp meg lehet építeni. Kisebb diplomamunka szintű dolog.
Sziasztok.Látom van elég keverős topic.Nagy gondom az,hogy van egy gyári keverőm,(Soundcraft Spirit Folio Powerpad RW5129)és valami elszállt benne.Kéne hozzá kapcs rajz,csakhogy nem találtam a neten.Hasonlót már igen,de pont ilyent nem.Aki tud segíteni,nagyon megköszönném.
Üdv emberek!
Pofátlan leszek, és segítséget várok! ![]() Lenne itt egy rajz, amit én rajzoltam... (csodálatok, nem? )Elmondom, mi mi rajta: Bal oldalt vannak felírva, h sávonként mit szabályzunk. Tehát: Sávonkénti hangerő, mély, közép, magas, kontroll 1 kimenetre mennyi mennyen, én kontroll 2 kimenetre mennyi jusson. Aztán vannak a master szabályzók, ettől jobbra. A kontroll/1 hangfalra master-ben mennyi mennyen, kontroll/2 hangfalra master-ben mennyi mennyen, és végül az egész, a nagyhangfalra mennyi mennyen. Felül pedig a kimeneteket látni. Bocs, ha valami érthetetlen! ![]() A segítségkérés igazából az lenne, hogy nem tud-e valaki tervezni/áttervezni egy keverőpultnak a kapcs.rajzát, hogy ilyet kapjak? Előre is köszi! (rajzok mellékelve) U.I.: Ezek nem azok a keverő rajzok, amiket megszeretnék csinálni, csak segítség (ez csúnyán hangzik, de nemtudok fogalmazni ) annak, aki segíteni akar.
Én a helyedben inkább vennék egyet.
Hello, értsd meg a keverők (a fokozataik) működését, ezek után az egységeiből, amelyek a példaként felhozott kapcsolásokban is van, olyat állítasz össze amilyet csak szeretnél.
Szia!
Azt vettem figyelembe, hogy tényleg belevágsz Na összedobtam egy kis "blokkvázlatot" sztem erre gondoltál. Medve kolléga szavait vedd figyelembe! én csak vizualizáltam. De most mondom, nem lesz egy könnyű menet. Ugyanis ha közepet is mindenképpen szabályozni akarsz, akkor nem marad más mint a műveleti erősítős előfokok alkalmazása, ami a mellékelt keverőkön is van. Namost kell minimum 30 db forgópoti. annyiszor 5db sztereo kivitel, ahány sztereo bemenetet szeretnél. Akkor ott van még a 6 db tolópoti, gondolom ezzel gondoltad a csatornánként hangerőt szabályozni. Nameg még ott a 3db sztereo (vagy toló vagy forgó) poti a mastereknek. Akkor műveleti erősítőkből is elkell soksok db. Nah ha megnézted a rajzot és elgondoltad és még mindig akarod építeni akkor kérdezz, ha még nem tiszta valami!
szia, közi a rajzot, nekem full mono kell. Tehát nem kell stereo. Közép szabályzást ki lehet hagyni, egyáltalán nem fontos, csak jól mutat
tul.képpen spórolás képpen marad a hangerőnek 6 forgópoti (az összes mono), aztán 6 mély poti, 6 magas, 6 sub/1, 6 sub/2. összesen 5x6, tehát 30poti. (nemrossz... átlaggal számolva 8.000ft körül van) Ha jól értelmeztem rajzodat alapjában véve: 1 bemenetet vizsgáljunk: bemegy, , ottvan a mély, magas szabályzó, aztán közvetlen utánna jön 2 poti, ami szabályozza a sub1-et, 2-t. A sub1 potikhoz csatlakozik a jobb oldali felső, a sub2 potikhoz pedig a jobb oldali alsó? ez egy ilyen alap, de ebbe "behelyettesítve" megoldható. Mit gondolsz?
Igen!
Innetől már játék az egész. Tulajdonképpen a pirossal kihúzott részt csinálod meg még 2x és azok lesznek a sub/1 és sub/2 kimenetek. Magyarul mindenhova mono poti, van 6 db előfok és 3 db összegző - ebből áll az egész. És mért montam, hogy játék? Nos azért mert csak pakolgatni kell a fokozatokat. Az ellenállás és poti értékeket lenézheted a neked szimpatikus keverő rajzról. De azért kíváncsi vok, hogy milyen célra kell, ugyanis énis építettem itthoni kevergetésre, meg partikra, de csak egy egyszerűbbet (2 mic + 2 stereo line, hangszín nélkül). Üdv: Zoli
köszi! most megpróbálom összevágni néhány rajzból, lesz 1 kis idő, és nem lesz szép, csak, h jól vettem-e ki!
köszi
Találtam a neten egy ilyen oldalt, ahol van először is egy felépítés, és külön-külön a részek... jóformán csak össze kell raknom, és ''be kell helyettesítenem''?
Itt az oldal Vagy ezt segítene valaki úgy "áttervezni", hogy ne legyen benne fader (mert az nekem nem kell ) meg legyen még az a külön sub-1 sub-2 szabályzás + kimenetek? jah és nem kell stereo-ba. Megpróbáltam kigobozni, és megcsinálni, megkérdeztem apát, csak annyit mondott, h nemjó! ![]() Szóval, ha valaki tudna ebben segíteni, azt nagyon megköszönném.
avagy, amit mellékeltél rajzot, oda a "háromszög!
" helyére rakjam be az előfokot, aztán azt a 3 potit, és azt a 3 potit a képeden ábrázolt módon összekötni, és kivezetni és a 2. "háromszög "-höz mit tegyek? kezdem nem érteni! Tehát nekem sávonkénti hangerő, mély, magas, (közép nem muszály, de ha van, az sose baj ) és sávonkénti sub-1, sub-2 szabályzás... de hogy mit hova, s hogyan... még nem sikerült megértenem.... :no:
na még valamit elfelejtettem!
![]() Azért kell nekem master-nek csak 1 kimenet, mert van 1 saját készítésű erősítőm (100w-os, vf2, kicsit átalakítva) és az úgy lesz megcsinálva, h 1 bemenet, és 2 kimenete van az erősítőnek. Apum mindig úgy emlegette, hogy ál-stereo.
Egy használt egyszerűbb keverőt (gyárit) megkapsz 8-10ből. ennyiből nemtudod otthon kihozni. és nem utolso szempont h azok a potik amiket 100-200Ft ért azok tized annyit bírnak, mint a legszarabb keverőben lévő potik
10-ért már BPM kijelzős behringert is lehet venni
Mennyire lenne bonyolult egy potival vonalszintű jelet szabályozni úgy, hogy ne csak csökkenteni tudjam, hanem picit erősíteni is? Mint a keverőkön. a 0db-es szint után még egy kicsit "fentebb lehet tolni" a potit.
Helo!
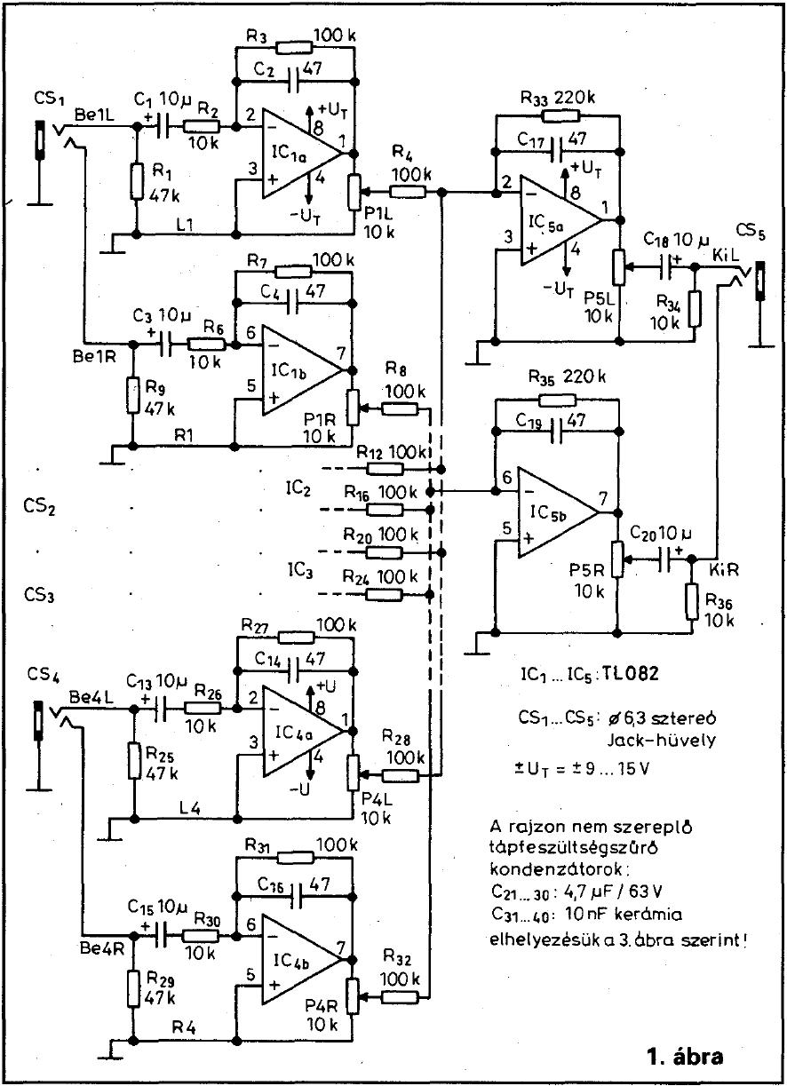
Nah, az általad belinkelt modulokból összevágtam a keverőd rajzát. Én ennél többet már nem tudok segíteni. Sikeres utánépítést kívánok! (Bár én nemhiszem, hogy belevágnék)
Un.aktív elemes tranzisztoros, vagy OPA-ás jelszint erősítő kell hozzá.
Durván 10-25 alkatrész. ha elemről üzemelteted kevesebb, ha hálózatról több, stereonál^.
nagyon szépen köszönöm!!!! örök hála!
![]() Majd meglátjuk mi lesz belőle, de ha minden igaz segíteni fognak, de akkor is élvezet lesz. Tolópotit én csak a 6 sáv hangerejére, meg a 3 masterre (sub1, sub2, meg kimenő) gondoltam. (egyébként nálam a sub az a kontroll... nemjól tudom? )
Nem akarom letörni a leleksedésed, de egy keverőpult megépítése nem kis feladat , főleg ha neked kell a panelt megtervezned hozzá.
És ahogy a régi mondás tartja Idézet: „A kapcsolási rajz még nem készülék” :yes:
Hát ez elég ember gyilkóló kapcsolás
Gondoltam rakok fel ennél barátságosabbat is Nem igazán keverőpult, de 10 hangszínt tudsz vele állítani, ez meg jól jön egy keverőhöz.
Nos igen... valóban úgy van ahogy mondod, a kapcsolási rajz még nem készülék, és nyákot nehézkes lesz megcsinálni, de én úgy gondoltam, hogy a nyára ráépítem a potikat, (vezetékmellőzés céljából), hogy ne legyen zajgenerátor... ezt valamelyik másik topic-ban olvastam. az én erősítőmben is az előerősítőbe be van építve a poti. Azután, köszi a rajzot, lehet, hogy másnak jó lesz, lehet, hogy még nekem is, ha eq-t akarok csinálni, csak összeszámolva potik árát, már 100.000ért lehet kapni egy 24csatornás keverőt (berhringer)... használtam 80körül... hát számoljunk csak. csatornánként 10bandos eq + sub-1, + sub-2 + hangerő ez CSATORNÁNKÉNT 13 poti. 6 csatorna (ami ugye nem túl sok) 6x13=78... + 3 master = 81. Elég átlagárral számolva 1 poti 300ft... 81x300=24300... ami kicsit sok, csak a potiknak... aztán még vmi trafó, alkatrészek, meg doboz, meg stb... szal lehet, h ezt most kihagyom, de azért köszi szépen!!!
Úgyis van!
Keverőt építeni csak nagyon kis csatornaszámmal érdemes + esetleg hangszín. Gondolok itt maximum 4 csatorna, 1 kimenet és az összegzett jelet esetleg hanszínszabályozni, de több nem. Legyél jó!
Jó 15 éve készítettem ezt a mixert.
De több száz munkaóra fekszik benne, pedig kis pultocska .Ma inkább vennék, mint csinálnám. Inkább 4 erősítő mint egy ilyen. |
Bejelentkezés
Hirdetés |






)





:no:
(Bár én nemhiszem, hogy belevágnék) 



