Fórum témák
» Több friss téma |
Fórum » MIG/MAG/Co2 hegesztő készülékek házilag
Témaindító: electorkalandor, idő: Feb 19, 2009
Témakörök:
Köszönöm mindkettőtöknek a gyors hozzászólást!
Csak egy rövidke heftnek indult!a munkadarab a vágógép asztalán kerult heggesztésre,kicsit festékes volt az anyag nem is volt rendes test ettől lehetett a baj!!!? a vágógépen van a villanymotornak föld igy záródhatott a kör?
Üdv!
Egy ESAB LAW410 ESAB MEK 4 előtolóval átalakításában/felélesztésében kéne segítség. Úgy gondoltam, hogy a gyári elektronikát megreptetem és kap egy sajátgyártmányt de lehet, hogy csak a toló. 3db gép lett hozva donornak(1db LAW510W 2db LAW410). Az alapgépek elektronikái közül 1 be sem indul, 1 csak 0-kat ír ki, 1 pedig elindul. az előtolók közül 1 kuka, mert tákolt elektronika volt benne ami jelenleg nem igazán használható álapotú de régen így ment. A másik kettő ugyanazt csinálja: látszólag szabályoz, mágnesszelepet behúzza, motort forgatja egy ideig. Mit lehetne kezdeni velük? Csatoltam a gép és az előtoló rajzát.
sziasztok lenne ismételten egy kérdésem néztem hogy az ok 4616 -os elektródának 50 V -olt kell üresjárati feszültség . A trafó ha 48 V-os akkor az elviszi még lehet vele dolgozni szépen?
Azzal nyugodtan használhatod észre sem veszed azt a 2 voltot.
Faterom itthon egy olyan hegesztőtrafóhoz, ami 35 voltos üresjárati feszültséget ad ki, 46.16-os elektródát használ. Sokat kell kopogtatni, hogy ívet fogjon, de lehet vele hegeszteni, csak ügyes kéz kell hozzá!
Sziasztok! Elkészült a co2 gépem a trafó is meg van minden csak egy baj van vele hogy egyenirányító nélkül és fojtó nélkül jól hegeszt szép a varrat csak nagyon fröcsköl de ha ráteszem az egyenirányítót akkor meg csak düncsöl nem hegeszt rendesen! Hogy kössem rá az egyenirányítót hogy jó legyen?? Egyébként a fojtó egy gyári co2-ből van az egyenirányítót én csináltam 2db 200A generátorból szedtem ki a diódákat mondjuk lehet hogy rosszul kötöttem össze a diódákat tudnátok mutatni egy rajzot hogy hogyan kell összekötni a diódákat?
Előre is köszi a segítséget! Üdv.:Gábor!!
Egyutas vagy kétutas egyenirányítást csináltál? (Egy vagy két db szekunder tekercs van a transzformátorodon?) Egyenirányító bekötés így szokott lenni egy fázison:Bővebben: Link
Hello! Egy szekunder tekercse van a trafónak 8db diódából csináltam az egyenirányítást!
Üdv!
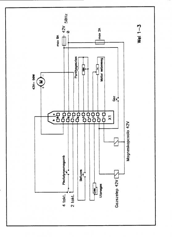
Az egyik előtolómból kibontottam egy ilyet: El-Melior Wel 1-3. Tud róla valaki valamit? Egy házikészítésű nyákkal volt összekötve és az előtoló gyári kijelzőjével és az alapgép gyári vezérlésével. 8 hozzászólással visszább csatoltam a rajzokat.
Tehát egyfázisú trafód van és graetz kapcsolású egyenirányítót kell építened. Az alábbi elrendezésben kell bekötnöd a diódákat egy-egy db párhuzamosan és úgy hídba. Generátor diódáknál alaposan nézd meg, melyik a diódák anódja és katódja.
Köszi szépen a rajzot! És aszt hogyan tudom megnézni vagy miből látom hogy melyik az anód meg a katód??
A WEL 1-3 ipari felhasználásra készült tolásszabályzó kártya, féligvezérelt tirisztoros szabályozással. 65-90-120W-os motorokhoz gyártják, 24V és 48V-os kivitelben. A 48V-os kivitelű kártyán van egy címke 48V felirattal, egyébként a jelölés nélküliek alapból 24V AC feszültségről mennek. Ez a kártya kapcsolja a főtrafó mágneskapcsolóját, és a mágnesszelepet is. A szelep és a mágneskapcsoló a kártya tápfeszültségétől független feszültségről működtethető, de kizárólag AC feszültség jöhet számításba,mivel a kapcsolóeszköz triac.
A mellékletben a bekötése.
Szerencsés embernek mondhatod magad,ha úgy kell gépet javítanod hogy 3-at kapsz,és egyet visznek vissza javítás után. Bár nekem lenne ilyen szerencsém...
A toló azért "kuka" mert csak a doboza van meg? Ha nem így van, akkor javítható. Különösen úgy,hogy van hozzá szervízdoksi.- Persze csak akkor,ha a CPU nem halott.
Kössz az infót. A kép sajnos nálam nem jelenik meg, pedig nagyon örülnék neki.
A cégnél ahol dolgozok selejtezés volt és vettem 3 selejt/hiányos gépet 3000ft/db áron és ezekből szeretnék 1 használhatót. A kuka toló a benne lévő káosz, leszakadt vezetékek, beletákolt házikészítésű és a WEL 1-3 elektronika miatt lett "kuka", ami egyébként "komplett" volt. 2 alapgép nagyrésze és a "kuka" toló doboza sajnos már a méh-be van.
Szia! Mini Mig 120 Co 380-as gépemből eltünt az ERŐ 4.fokozatban 1-es huzallal gond nélkül 6-os anyagot tudta m hegeszteni.Most pedig 0.8-al csak taknyol.Nincs hegesztési áram vagy-mi. Szakadás lehet?égett szaga nincs.Sajnos nem értek az elektromos kütyükhöz.A mágneskapcsolóig megvan a 3 fázis tovább nem tudom mit kellene mérni.Segítséget nagyon megköszönném!!!
Minden nagyáramú vezetéket ellenőrizz mert első körben a kontakthibát kell kizárni.
Aztán a 230/400 voltos részben terhelve hegesztés közben mérni kell a tekercsen a feszültséget. mert fokozatkapcsoló hiba is lehet. de a mágneskapcsoló is lehet kontakt hibás.
Erre mondják hogy jókor jó helyen kell lenni!
![]() Még rézben is megérte a darabár!
Igen. Nagy szerencsém volt, hogy el tudtam hozni őket. Eredetileg Fronius Vr 357-2-t akartam hozni, de abból már csak 2 nagyon szétbelezett volt. Az Esab-okban pedig nem sok réz van, kb. 2 kg. A trafó és a folytó is aluval van tekerve. Gondolom nem is kell mondanom, hogy leültem amikor megláttam...
Szeretnélek megkérni, hogy tedd fel mégegyszer a képet a bekötésről vagy küld el az e-mail címemre. Köszi.
Sziasztok !
Az Ok 55.00 papíron alkalmas AC-hegesztésre, de gyakorlatilag nem, csak DC-vel lehet érdemi munkát végezni. Mostanság én is Hetrát használok ( 140/200 , 1x25 A, 2x25 A ), az SVE-200 viszont gyárilag csak DC-t tud ( 3x16 A )
"SVE-200 viszont gyárilag csak DC-t tud ( 3x16 A )"
Ez így van, mivel 3 fázisú. De mi ezzel a probléma? Amelyik elektróda hegeszthető váltóval, az egyennel is.
Itt van mégegyszer. Remélem most jó lesz.
Üdv.
Először próbáld átkötni a mágneshapcsolód(a trafó kapjon direkt tápot,úgy próbáld ki a gépet),mert én már jártam úgy,hogy üresjárati méréskor minden OK a feszültségekkel,de viszont terheléskor nem negedett át megfelelő áramot a mágneskapcsoló. Csere után minden rendbe jött,majd szétbontottam a régit,és volt mit látnom.Szét volt égve.
Sziasztok!
Van egy épített 3 fázisú CO gépem, eddig tökéletesen működött, de most elkezdett habosodni a varrat, semmi sem változott vékony és vastag anyagnál is csinálja, gáz eljut a terelőig, huzallal sincs gond. Ötletek?
Sziasz! A minimig 120 vagyok,a mágnes kapcsoló jó viszont a fokozatkapcs. halott. Szétszedtem és törött benne egy bigyusz ami működteti az érintkezőt gondolom ez a baja a 4-es fokozatnak ezért nincs elég fesz.Ezt javítani nem lehet főleg, hogy szétszedéskor lehetetlennek tünt össze jelölni az alkatrészeit ez kuka szerintem.Érdeklődtem üzletben ilyet csak a gyártótól lehetne beszerezni szerintük. Ha tudtok megoldást kérlek segítsetek nagyon fontos lenne, kellene már ez a fránya gép köszi!
Szia
Azok a bigyuszok miatt lehet kapcsolgatni ha van türelmed akkor össze lehet azt még rakni, csak le kell gyártatni a akármit vagy a kapcsoló számábol ami a müködésere utal (ki / be kapcsoló ) stb.. be kell szerezni egy kedvező (megfizethető ) árú kapcsolót de azonos tipúsút és abbol lehet potolni a hiányzó alkatrészt. Részemről csak butykös akármit esztergáltattam és a alakzatot én reszeltem be, a kapcsolni kivánt logika szerint. De itt van egy fokozat kapcsoló létezik nagyobb is Bővebben: Link Azt azért nérd meg hogy hányat kell kapcsolnia. üdv.
Üdv! Ha elkészíted a kottát a ganz kk legyártja neked.Ha szerencséd van akkor már van is ilyen logikájú kapcsolójuk.
|
Bejelentkezés
Hirdetés |






A toló azért "kuka" mert csak a doboza van meg? Ha nem így van, akkor javítható. Különösen úgy,hogy van hozzá szervízdoksi.- Persze csak akkor,ha a CPU nem halott. 
