Fórum témák
» Több friss téma |
Üdvözlöm.
Az MMG-s termosztátok éjszakai üzemmódban 3-4 nappaliban 2-3 fok hőkülönbséggel üzemelnek. Így reggelre, hidegebb a lakásod, ennek megfelelően, idő mire újra felfűti.
Szia!
Jelenleg a Mif 011 esnél jobb nincs forgalomban. Több ezer kazánt szereltek vele. Mint minden panelnek ennek is vannak gyengéi. A 8500 ft-ot kissé soknak tartom. Közvetlenül a Mechatronikátol is megrendelheted. Hívd: Fehér József Tel.: 20/988 5012 Én már vagy 10 éve így rendelem.
Támogatom gázszerest a panellel kapcsolatban!
A potméterrel nagyon pontosan tudod a fordulatot beállítani.
Ha éjszakait állítasz be neki, az ellenállások ráfűtenek - így becsapják a "termosztátot"!
köszönöm a segítséget. Én meg szeretném építeni a panelt, mert nem igazán bonyolult. A PIC-et már ki is olvastam , a panel meg van tervezve. Már csak az alkatrészek kellenek hozzá.
Pelet kazánvezérlés dokumentációt rajot ,keresek a képen láthato vezérlővel:
Ha valakinek ismerős kérem segitsen. Üdv Sony
Háát, ha lehet különvéleményem a MIF panellal kapcsolatban, akkor az még mindig a régi:
MIF panelt nem akarunk javítani, vásárolni, beépíteni! Ha valaki érezte azt a penetráns bűzt, amit a MIF áraszt, amikor tízforintosnyi területen szénné ég, az többé látni sem akarja! Bármelyik másik, utángyártott, pár ezer forintos panel különb nála, azokból még egyhez sem kellett visszamennem!
Sziasztok!
Érdekelne, hogy Fég C21-nél (eredeti elektronika, eredeti grundfos szivattyú) a főégő gázellátását kapcsoló szelep érzékenységét hol lehet állítani? A probléma az, hogy az utánkeringetés alatt nem kapcsoldik le a főégő. Az áramlásérzékelőn keresztül a főégő gázszelepe még csökkentett szivattyúteljesítménynél is nyitva. Az elektronika rendben van, gyári alkatrészekkel is csökkentett fordulaton (kb 100Volt) megy kb 20 másodpercig a szivattyú, majd szépen leáll és elalszik a főégő is. Az elektronikán alkatrészek cseréjével már tovább is csökkentettem az utánkeringetés teljesítményét (60Volt). Ilyen kis feszültségnél szivattyú néha le is áll az utánkeringetés kezdetekor, közben persze az álló motor kapja az áramot . Persze így leáll a főégő is, de a célom, hogy utánkeringetés legyen s ezalatt a főégő ne égjen...Hőcserélő kisavazva, nincs folytás a nyomóoldalon, a kazán egy 400 literes puffert melegít, ahonnan egy másik szivattyú szálltja a padlófűtésnek a vizet. Szóval túl érzékeny a főégő gázszelepe, állítani kellene rajta, vagyis csak nagyobb szivattyú nyomóoldali nyomásnál kapcsoljon be a főégő.
Lehet állítani. Kérdés az, hogy milyen képzettséggel rendelkezel?
Szia Toro!
Nem vagyok gázszerelő, különben nem kérdezném. Villamosmérnök és középiskolai gépész végzettségem van. 11 évig mechatronikai eszközök fejlesztésével foglalkozó cég fejlesztőmérnöke voltam németországban. Jelenleg programozással keresem a kenyerem. Meg fogom érteni ha valaki válaszol a kérdésemre esetleg körülírja mire figyeljek még. Biztos van valahol egy rugót (membránt) előfeszítő csavar, ami ellenében kell dolgoznia az áramlásérzékelőnek. De még nem szedtem szét és csak köv. hétvégén fogom tudni újra megnézni, mivel apámék kazánjáról van szó. Ami évek óta utókeringetés nélkül működött és emiatt, időnként a szivattyú leállásakor a hőmegfutás miatt a hőcserélőben lévő víz felforrt. Emiatt néha a biztonsági hőkioldó lekapcsolta a teljes gázt. Plussz hamarab vízkövesedik a hőcserélő. Apámék múlt hónapban kihívták a gázszerelőt, aki lelkesen 6000 Ft-ért kicserélte a "lángőrt" (hőelem), azaz a régi nem használt kazánjukból kiszerelte és berakta a jelenlegibe. Szóval a hiba ugyanúgy fennállt. Ezután kezdtem el vizsgálni, hogy mi a baj. Lángerősséget visszavettem, hogy kisebb legyen a hőmegfutás. Ebben az egyhe télben még járható út. Közben kibogarásztam mi ment tönkre az elektronikán és kicseréltem a hibás alkatrészt, most már jó az utánkeringetés. A témához vissza: A gázszelep kapcsolási pontját abba az irányba akarom pont tolni, hogy nagyobb víznyomásnál induljon el csak a főégő. Épp biztonságosabbá tenném ezzel a rendszert, hisz csak megfelelően járó szivattyúnál(vízmennyiségnél) kapcsolna be az égő. Ha esetleg "túlállítom" legfeljebb bekapcsol a szivattyú de nem indul el a főégő. Robbanni nem fog semmi... Várom a választ.
Emlékeim szerint a C21-es eredeti szivattyúja LAING volt. Roszabb a hatásfoka, mint a Grundfoss-é, ami az eredeti kondival tud akkora nyomást létrehozni, hogy a főégő nem kapcsol le.
Szia Hutty!
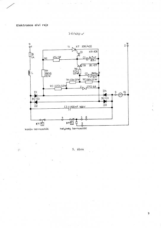
Mindkét C21 a nagyon régi (15 év ?) és a jelenleg használt régi kazánon nem lett cserélve szivattyú. Mindegyiken grundfos van. A mi C21-eseink elektronikája nem sima ellenállás / kondenzátoros feszcsökkentéssel oldja meg a csökkentett szivattyúteljesítményt. Ebben egy diakkal gyújtott tirisztoros kapcsolás + 820 Ohmos ellenállás sorbakötése végzi ugyanezt a feladatot. Ezen felül egy időzítő (zéner, feszosztó, 1mF kondi, tranzisztor) van még a panelra implementálva. Így a csökkentett teljesítmény kb fél percig áll rendelkezésre (mennyire öreg a kondi), majd az is lekapcsolódik. Már írtam előző levelemben, hogy a szivattyúteljesítményt nagyon lecsökkentettem, szabályozhatóvá tettem az elektronikán, hogy beállíthassam a csökkentett teljesítményt amikor a főégő elalszik. Sajnos olyan kicsi feszt kell már adni, hogy a motor néha leáll. Azaz a gázégő szelepe túl érzékeny, kis áramlásra már bekapcsol a főégő. Ha esetleg másnak is az elektronika rossz: Nálam mindkét kazán elektronikájában ugyan az az ellenállás (R2 47k/1W, tirisztor gyújtóköre) volt szakadt. Továbbra is várom, hogy hol lehet a túl érzékeny főégő/áramlásérzékelő szelepet beállítani.
Kedves hatty! Kicseréltem a kondit 3.3µF ra de az a borzasztó nyikorgás 60 fok felett nem szűnik meg.Csak ha a vízhőfokot lejjebb veszem./le álláskor/
Szia Sari!
Köszi a rajzot! Meg kérdezhetem, hogy a szabályozhatóságot konkrétan hogyan oldottad meg? Nyilván potméterrel, de melyik ellenállás helyére(vagy vele sorba), és milyen értékűt tettél? Talán az R2? Válaszodat előre is köszi!
Lehet, hogy a 1118902-es hozzászólásban van a válasz a kérdésedre.
Üdv!
A szelepbeállításban nem tudok segíteni.... Az elektromos részét meg tökéletesen leírtad.
Szia!
Szereld ki a szőnyeg égőt. Találsz alatta a szelepben egy csavart ezzel állítod a rugóterhelést. Tekerd be. Javaslom, ha már ennyire szétszeded, folytasd a bontást. A fazék szelep lebontása után megtalálod a gázszelep tányérját. Az ezt mozgató rudazatot húzd ki finom csiszolás és zsírozás nem árt neki.
OK!
Ki kell szerelned az égőt. Vigyázz a termoelemre. A gázarmatúra tetején benyúlva, egy csavarhúzóval tudod a rúgó feszességét állítani. Majd vissza az egész. Begyújtás - próba. 10-15 perc alatt megvan.
Szép egy időzítés!
Ugyanabban az időben írtuk.
Bocsának hogy újra felhozom a MIF011-et , de szerintetek egy NTC vagy PTC (pirossal jelölve , jobb alsó sarok). Varisztor csak nem lehet, mert azt párhuzamosan szokták kötni.
Emlékeim szerint, kb. 5-6 évvel ezelőtt ott még egy 100 ohm 5W ellenállás volt. Vettem is belőle párat, de mindössze egyszer kellett cserélnem.
Szia gazszeres, Toro!
Köszönöm a segítségeteket, hétvégén megnézem.
az mondjuk tényleg kicsit furcsa. Nem tudom hogy lehet kiiktatni és NTC-vel helyettesíteni egy 100ohmos ellenállást. A fórumot egyébként átböngésztem és olvastam valahol 18k ohm ellenállásról is
Mivel próbálnám kideríteni, hogy mi lehet ott. De max akkor teszek be én is teljesítmény ellenállást.
Sziasztok!
Megígértem, hogy megírom mi volt a hiba oka. Sajnos soha nem fogom megtudni. Mire hétvégén haza értem (szüleimnél van a kazán) addigra ők kihívtak egy másik szerelőt aki megjavította. De legalább most jól működik!
Megértem meglepettségedet, de mint írtam, rendeltem ebből az alkatrészből és egyszer volt is alkalmam cserélni.
A mechatronikánál, ( ők gyártják a mif paneleket ) a kapcsolatom Fehér úr, ha kérdésem van neki teszem fel ( többnyire kapok egy másik telefonszámot, akik a fejlesztők ) és kapok választ. Javaslom próbáld te is ezt az utat. A telefon számot már megadtam valahol pár oldallal visszább. De van web oldaluk is. Erről a panelről még nem láttam, korrekt, alkatrész listás működési leírást tartalmazó dokumentumot. De ha valakinek meg van, én is szívesen olvasnám.
k öszönöm szépen. mielőtt még beszerezném a maradék pár alkatrészt, előtte felhívom és megkérdezem, hogy az mi lehet. A többit kimértem.
Kedves Toro!
Megfogadtam a tanácsod plusz elolvastam itt a fórumban egy-két hozzászólást hasonló történetekről és nem jártam rosszul. (szerintem) A folytatás röviden: Hétfőn jött a szerelő. Első dolga az volt h kicserélte az elektronikát egy bontottra (melyről állítootta hogy gyári). Az elektronika hibát jelzett azonnal. (búcsú a könnyű pénztől). Utána behozott egy gyári csomagolású újszerű elektronikát, amivel a kazán tökéletesen működött. Az ára valóban 114.000.- +Áfa Kérdeztem h elképzelhetetlen-e h javítsák a panelt, hisz messze nem űrtechnikáról van szó... Azt mondta volt rá példa hogy 1 relét cseréltek és a mai napig működik az elektronika, de ők nem javítanak. Nos Nekiestünk kollégámmal aki -bár se nem öreg, se nem kazános, de - látott már pákát ![]() Vesztenivalónk nem volt, 2 napot adtam magunknak, addig a fűtést megoldottam és az esti fürdéshez mindig beraktam az egyre jobb elektronikát. (próbáltam a cég tulajdonosától az elektonikát bérbe venni 2 napra, de temészetesen nem adta. ![]() Első körben kicseréltük a 2 db relét (1000) Ft semmi változás. Másodikban a reléket vezérlő IC-t. (150 Ft) semmi változás. Harmadikban az összes elektrolit kondit (1000 Ft) És lőőőőn a relé kattogása teljesen megszűnt. sőt kapcsoló üzemmódú termosztáttal a fűtés is üzemel, szabályoz, dolgozik, szivattyút vezérel. 2 kondenzátor is botrányosan (30% alatt) teljesített, de a többi sem volt toppon. Ekkor azt mondtam ne nyúljunk hozzá, nézzünk körül a Net-en. Pár napon belül sikerül találnom egy ugyanolyan gyári csomagolásban levő, kifogástalan (új) állapotban lévő elektronikát, (gyári számlával, doksival stb..) a Holland vaterán. Az ára 50 Euró volt, amiből 25 a szállítási költség. Senkit nem akarok felbuzdítani, hogy nosza essünk neki kazánt javítani, de számomra nagyon tanulságos volt. Érdekesség: Hollandiában garanciával javítja egy cég 200 euróért ugyanezeket a paneleket. Köszönöm ennek a fórumnak és a témához hozzászóló Szakembereknek az ötleteket és a segítséget. Nélkületek talán sosem kezdek bele.
Nem tudom megállni, hogy erre ne reagáljak.
Nagyon örülök a sikernek, ez az első ami eszembe jutott. Csak még egy cseppnyi vélemény. A szakembert a szerelőtől az különbözteti meg, hogy a szaki javít a szerelő cserél. És ez minden szakmában igaz. Még egyszer gratulálok a sikeres javításhoz.
Jó olvasni, hogy Valaki - ismételten - nem hagyta magát megvezetni!
Sajnos ilyen világot élünk. Ha a választott politikusaink is ezt csinálják a kis ember miért akarna más lenni. Természetesen tisztelet és becsület a kivételnek. Gratula a kitartásodhoz és a kijavított NEFIT kazánodhoz. Mert így hívják Hollandiában az eredetit. Boldog Karácsonyt és néha nézz vissza hozzánk! ![]() ![]() |
Bejelentkezés
Hirdetés |





. Persze így leáll a főégő is, de a célom, hogy utánkeringetés legyen s ezalatt a főégő ne égjen...

