Fórum témák
» Több friss téma |
HY
nekema BU508 helyett TIP3055 először is nagy a ß-ja kisebb bázis áram. NAMEG OLCSÓBB SOKKAL és ha elszálakkornem 500-600Ft füstöl haenm 100Ft. Nekem is nagyon kis kereszt metszetű drót van. Lefényképeznéttek a tieteket?
A bu508 mellett az szól, hogy gyorkapcsolású.
A drótot egy winchester olvasófejének a mozgórészének a tekercséből szedtem ki, szal az szerintem elég vékony.
Csátok. Felhozom, ezt a "régi" témát, mert lenne egy pár kérdésem a Lifterekkel kapcsolatban:
- Milyen erők képezik a lifter tolóerejét?? Mármint, miből származó erők?? térerő?? ionszél?? És hogyan? - Képes lenne egy lifter felszállni nagyon erős vákuumban is?? És nagyon nagy nyomáson???
hm?
Sztem ez ionszéllel megy (de hol vannak a csúcsok???)
a csúcs közelében ionizálja a levegőmolekulákat, és mivel ugyanolyan a töltése, mint a csúcsnak elfújja...(erő-ellenerő miatt maga a test is elmozdulhat) Én is szórakoztam sorkimenővel: elfújattam a zsebkendőmiszliket Bár a faszenesítés tetszett a legjobban
Szerintetek menne ez a modell 3-4Kv-al is? Csak mert ilyen tápom már van!
Szerintem a megfelelő felhajtóerő érdekében nem érdemes 25-30 kV DC alatt kísérletezni!
A vákuumban való működésről pedig itt találtok elvégzett kísérletet: Bővebben: Link
Ha a tápod AC, akkor tv sokszorozóval már esetleg érdemes lehet próbálkozni!
Az egyszer csináltam már ilyet, de csak egy ismerős tápjáról ment, először szépen működött, de aztán áthúzott és lángbaborult az egész. Szerintetek egy kisebb modell repülne vele vagy maradjak a sokszorozónál?
Nem, nem működik! Maradj szerintem a sokszorozónál!
*****
Tiltott reklám.
A lifteren gondolkodva új hajtóművet gondoltam ki repülőgépekre.Mi lenne ha a repülőgép szárnyába tennénk két elektródot,amik elektromosan taszítanák egymást.És ugyanúgy tolóerőt képeznének mint a lifternél.Mert a lifter nem antigravitál, hanem tolóerőt fejt ki,mert elkezd mozogni a levegő a töltések(ionok) miatt. Szóval ha ilyen ionhajtóművet raknánk a gépbe,ugyanúgy süvítene mint egy sugárhajtómű.Bár tudom hogy bődületes energia kellene hozzá,hogy létrejöjjön a tolóerő,DE nem lenne benne mozgóalkatrész.
a lifter egyszerű légmozgással,felhajtóerővel működik,mint egy repülőgép szárnya pl. Vaacumba nem tud felszállni
Szerintem a kérdés feltevése óta eltelt több mint 5 év alatt már rájöhetett
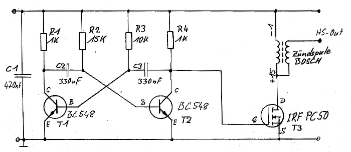
Hali mindenkinek szeretnék építeni egy liftert de nem találok sehol 2n3055 tranzisztort lehet helyettesíteni valami mással tranzisztorral?
Sziasztok!
Én is szeretném megépíteni a lifter modellt, csak a tápegység még nem állt össze rendesen. Van egy 6V-os, valamint egy 12V-os gyujtótrafóm, két sorkimenőm. Az egyik modernebb, a másik régebbi. Plussz van még kettő nagyfeszültségű sokszorozóm. Ezekből és persze a járulékos anyagokból szeretnék egy tápegységet összerakni, ami képes felemelni a liftert. Előre is köszi
Szerintetek ez felemelné egy nagyfesz sokszorozóval párosítva?
Szevasztok!
Korábbi hozzászólások között olvastam hogy jó hozzá zománcozott vezeték is. Én ilyenből építettem meg az anódját és nem emelkedett fel. Biztos hogy jó ez ide?
Örülök hogy valaki válaszolt. Még a válaszod előtt kicseréltem zománcozatlanra a vezetéket de így sem működik. Szerintem a tápegységemmel lehet gond.
Én képcsöves monitorokat használtam tápegységeknek melyek eleinte csak szikráztatták a liftereim, de nem emelték meg őket. Jelenleg azonban már egyik monitoromtól sem szikrázik. Feltételezem kiégettem bennük a biztosítékokat. Holnap szándékozok utána nézni.
Gafly amúgy neked van személyes tapasztalatod lifter építésben?
Kíváncsi leszek hogy mi lehet a gond. Előrebocsátom, nekem sem sikerült soha a liftert akár csak egy picit is megmozdítanom. Nekem a nagyfeszt egy flip-flop áramkör hajtotta gyújtótrafó biztosította. És hiába húzott a gyújtótrafó magában folyamatos vastag ívet már 2 cm-ről, egyszerűen meg se mukkant a lifter. Nekem mondjuk nem volt zománcozatlan vezetékem, ezért 0,1 mm-es wolfram szálból csináltam. A zománcozott 0,1-es réz drótról egyszer sem sikerült leszednem a zománcot az ér elszakítása nélkül.
Itt egyébként még az enyémnél is primitívebb táppal reptették a liftert. A hozzászólás módosítva: Ápr 23, 2019
Ugyan ezt láttam én is de ennek egy másik változata tetszik nekem és lehet hogy meg is fogom majd építeni. Bővebben: Link
De jelenleg még a tápegységnek használt monitorjaim szeretném működésre bírni. Idézet: „Gafly amúgy neked van személyes tapasztalatod lifter építésben?” Az igazat megvallva, azt kell mondanom, hogy nincsen. ![]() Olvastam is, és van is, viszont egy csomó Egely és Nemere könyvem. ![]() Az a része, megvan, hogy könnyű legyen (balsafa). Arra nem tudtam görcsöt tenni, hogy légüres térben jobban teljesít. ![]() Meg az összevissza belinkelt/ollózott linkeken még az sem tiszta, hogy egyen, vagy váltó feszültség kell hozzá? ![]() Ugyanakkor 10...30KV-ot nem kunszt csinálni... A hozzászólás módosítva: Ápr 24, 2019
Az biztos hogy egyenfeszültség kell, és az is hogy vákuumban nem működik mivel ez a levegőt ionizálja. Az általam épített liftereket hurkapálcákból készítettem ami szerintem lehet hogy balsafából van ha pedig nem akkor is könnyű. Ám sajnos ezek egyike sem repült.
![]() Én tovább kísérleteznék lifterekkel de sajnos tönkretettem a tápegységnek használt monitorom így nem tudok. Esetleg neked van valami ötleted (ha igen csak akkor írok részleteket) a javítására? |
Bejelentkezés
Hirdetés |
















