Fórum témák
» Több friss téma |
Fórum » Napkollektor házilag
Üdvözlök mindenkit!
Végig olvastam a topicot, és úgy gondoltam, én is megosztom veletek a tapasztalataimat. Az OM kiírt egy pályázatot mely az "Út a tudományhoz" névre hallgat. Amelyik iskola megnyerte ezt a pályázatot, kapott 300 eFt-t egy napkollektor elkészítésére. Az iskolám is megnyerte ezt a pályázatot, szóval belekezdtünk az építésbe. A parabolánk kb 1-1,5 m átmérőjű, (pontosan most nem tudom, majd megmérem ill. hozok fotókat) 5*5 cm-s tükrökkel van kibélelve. (10 eFt volt munkadíjjal együtt) A fókuszpontba el van helyezve egy 6 mm külső átmérőjű réz csőből tekert csiga.(Rézcső kb 8 e Ft volt.) Gyertyával be van kormozva. Van az egész cucchoz egy böhömnagy állvány (kb. 80-100kg, hogy ne fújja el a szél...) Kb 2-2,5 m magasan van a rézcsiga a talajtól. Mind függőlegesen, mind vízszintesen lehet állítani a pozícióját a parabolának egy-egy ablaktörlőmotorral. A keringetést eddig a közlekedő edények módszerével oldottuk meg. Ezzel az a baj, hogy túl gyorsan áramlott a víz a csőben. A probléma az volt, hogy gyorsan ment a víz a csőben, és így nem volt elég ideje felmelegedni. Azonban ha elszorítottuk a szilikoncsövet (ebből áll a rendszer, az egyik vége a vödörben van a másik vége pedig a rézcsiga végére van csatlakoztatva), ezzel megállítva a víz áramlását, kb fél perc várakozás után újraindítva 50-50 celsius fokos vizet is elő tudtunk állítani. Most szereztünk egy miniatürizált búvárszivattyút (kb olyan mint amilyen az akváriumokban van).Még nem próbáltuk ki, ezért erről még információt nem tudok adni. Ennek lehet állítani az áramoltatási sebességét, tehát remélem ezzel "múkodni" fog (ahogy Uri Geller mondaná .. )Na most ennyi, ha valami eszembe jut, illetve kérdeznétek valamit, szívesen írok/válaszolok. Jó építgetést! ![]()
Persze, ez az 55 celsius ez még nem egy olyan nagy hőmérséklet, amiért érdemes lenne kib***ni 300 eFt -t iskolánként, tehát szeretnénk továbbfejleszteni.
Van már tervünk is, csak csinálni kéne. Lerajzoltam, és a képet mellékelem. Bocsi, ha eléggé kivehetetlen a dolog, de csak így sikerült ![]() Na egy kis jelmagyarázat. A rézcsigát ugyebár hevíti a naptányérban fókuszált napenergia. Kis mennyiségű víz lassan átfolyik a rézcsigán, míg el nem éri a megfelelő hőmérsékletet, melyet egy hőmérővel mérünk. ( A hőmérő leírása, kapcsolási rajza fenn van itt HE-n. Bővebben itt Magát a termosztát részét nem építettem meg, csak a programozó áramkört, hogy gépre lehessen vinni a mért adatokat, és rögzíteni. A mellékelt program nem alkalmas az adatok rögzítésére, ezért az informatika tanárom segítségét kellett kérnem.) Amikor elérte a megfelelő hőmérsékletet, akkor az Y szelepet "átbillentem" a másik állásba, és a meleg víz belefolyik a bojlerbe. Az szelep eredeti helyzetbe állítása után újra feltöltöm a rendszert hideg vízzel, és kezdődik az egész elölről. Nyílván ezt jó lenne automatizálni. Hát ott még nem tartunk. Először legyen meg ez, utána ráérünk tökölni vele... Mi a véleményetek?!
Hello!
Itt azért több dologgal tisztában kéne lenni. Mi a cél? Működő rendszer demonstrációs céllal, vagy tényleges napenergia hasznosítás? Tisztában kell lennetek a begyűjthető energia mennyiségéről, ehhez kell méretezni a rendszert ( szükséges tároló térfogat, hőfok, áramlási keresztmetszet, sebesség meghatározása). Minél magasabb hőfokra van szükséged, annál rosszabb lesz az elérhető hatásfok, ezért kell már az elején tisztázni a felhasználás célját. Szigetelni az egész rendszert, különös képpen a "réz csigát". Vizsgálni kell a begyűjthető, illetve a begyűjtött energia mennyiségét (a rendszer, illetve egyes elemeinek hatásfokát), a felhasznált anyagok minőségét, megtérülést (bekerülési költséget, működéshez szükséges energia mennyiségét, milyen energiát váltasz ki), stb., hogy tudjátok mit csináltatok, min kell vagy lehet még javítani. Egyáltalán mi a szerepe a vödörnek?
A vödörre azért van szükség, mert a mini búvárszivattyúnak állandóan vízben kell lennie ugyebár. Ezt csak úgy tudod elérni, ha beleteszed egy edénybe, amibe van valamennyi víz. És ennek a víznek el kell lepnie a szivattyút. Az a vödör lehet akár egy Chapis konzerv is, a lényeg az hogy abban álljon a víz.
Mi a cél? Működő rendszer demonstrációs céllal, vagy tényleges napenergia hasznosítás? Az én esetemben, a demonstrációs cél a lényeg. Bár ezt mindenki tudja hogy valamennyire működik a dolog, az OM mégis volt oly rendes és kiírta ezt a pályázatot, hogy a diákok akik részt vesznek benne okosodjanak. Fraba
É is belefogtam építésbe.Falra lassan felkerül a 120literes bojler lekopaszítva, festésre vár, lyukak kifurva már.A tartálykollektor köré üveg lesz téve, így nem melegíti a levegőt, ha hirtelen lehül az idő.reggel 9től kb éri nap és utánna este mikor már majdnem lemegy akkor meg a fürdéssel bemossuk a vizet belőle a benti szokványos villanyos boilerünk bemenő hidegvizére csatlakozva.Az 1-es boilerbe ami kinn van abba meg belefolyik a hideg víz közben és felkészül a másnapra
![]() Azért is tetszik ez a rendszer, mert nincs benne mozgó alkatrész, elektronika, baj sem lehet vele.És szerintem angyon jónak kell lennie a hatásfokának. Majd lesznek képek.
Na gyerekek, ahogy ígértem beszámolok a dolgokról, bár a képeket még nem sikerült megszereznem. Azok majd később jönnek(feltéve, ha érdekel valakit, illetve nézi még valaki ezt a fórumot).
Na ma (máj.24-én, szombaton) bementem a suliba, aztán lemértem egy sráccal a dolgot. Majdnem úgy csináltuk, ahogy azt ábrázoltam egy képen. Ezt feljebb megtaláljátok az egyik hozzászólásomnál. A különbség az volt, hogy az "Y" szelepet nem vettük meg, illetve a csiga kimenetét visszavezettük a vödörbe, így az előzőleg felmelegített vizet melegítettük tovább. A probléma a következő. A szilikoncső, amit beszerzett a projektet felügyelő tanár, az egy rakás hulladék. Míg a rézcsigához eljut a melegített víz, illetve míg a rézcsigától a vödörbe eljut a víz, addig kb 15-20 celsius fokot vesztettünk a dolgon. A cső hossza kb 2*2m. Igaz a vödör sem hőszigetelt, hanem csak egy sima mezei vödör, de akkor is 20 celsius fokot bebuktunk... Mértük az abszorbernek a hőmérsékletét, illetve a vödörben lévő víz hőmérsékletét, és a kettő közt mindig 15-20 celsiusfok különbség volt. Pl. az abszorber ha 75 fok volt akkor a víz csak 55. :S:S A kísérlet kb 3 órán át tartott, ebből 2 órán keresztül volt felhő. Olyan 30-35 fokot sikerült emelni a víz hőmérsékletén. és kb 4-5 liter mennyiségű vizünk volt a vödörbe :S Tehát nem valami hatásos eszköz... :S
Hali majdnem kész a bojler a falon cucc. csak még sok a hézag. jelenleg 34fokos a víz benne alul , a gyári hőmérő szonda helyén.Jól be kell szigetleni, hogy zárt legyen a levegő, és hátha több lesz a hőfok. Ha valaki most akar elkezdeni ilyet akkor ne várjon magas hőmérsékletet. Ha magasat akar akkor hosszu fekete slag és villanymotor kapcsolgatva bemossa a meleget a tartályba.Csak így lehet magasabb hőmérsékletet elérni.A napi 5,5kw os átlag fogyasztásunk lement 3-3,5kw-ra.Soha nincs kihasználva a víz.Éjjel mire mindenki lefürdik még minfig van 100liter 30fok fölötti vizünk.Reggelre lehül 25fokra kb mostanába.
Most találtam erre a fórumra, úgyhogy átfutva az eddigieket van néhány meglátásom.
Napenergiával leghatékonyabban hőt lehet előállítani. A LED-ek elég könnyen megvakulnak koncentrált fény, ill. hő hatására. A fókuszba valami fém edényt érdemes tenni, ami a hőszállító folyadék által folyamatosan hűtve van, tehát nem fog eldurranni. A parabola forgatását a távcsövek mechanikájához hasonlóan lehetne megoldani. Tudom ajánlani a Kulin Györgg: Távcső világa című csillagászati alapművet. Szóval a parabola "vízszintes" forgatását az óra-tengely körül kell megoldani. (Ez a föld forgástengelyével párhuzamos forgástengely. Tulajdonképpen a tengelynek a sarkcsillagra kell mutatnia.) A függőleges mozgatást akár kézzel is utána lehet állítani naponta. A Nap É-D irányú látszólagos mozgása Március és Szeptember vége fele (a napélyegyenlőségek idején a leggyorsabb). Ilyenkor 24 óra alatt majdnem 2 fokot mozdul el, vagyis napkeltétől napnyugtáig 1 fok elmozdulás van függőleges értelemben. Ezt az egyszerűség kedvéért fölösleges patika pontossággal követni. Másrészről, ha valakinek nincs foncsorozni való parabola antennája, akkor a Gömb-tükör kedvezőbb, mert nem csak a parabola tengelyével párhuzamos fénysugár fut be a fókuszpontba, hanem a bármely irányból, végtelenből érkező. Így még a szórt fény is hasznosul. Ebben az esetben a tükör hasznos felülete változik valamelyest a szemből történő megvilágításhoz képest (a kör elipszissé válik), de az 1 fok eltérés itt már tényleg bakfity, mivel nem arról van szó, hogy a nap sugarak lemásznak az elnyelő felületről, csak a begyűjtött energia egy kicsit változik. A sík-kollektort sem mozgatják mindig merőlegesbe a Napra.
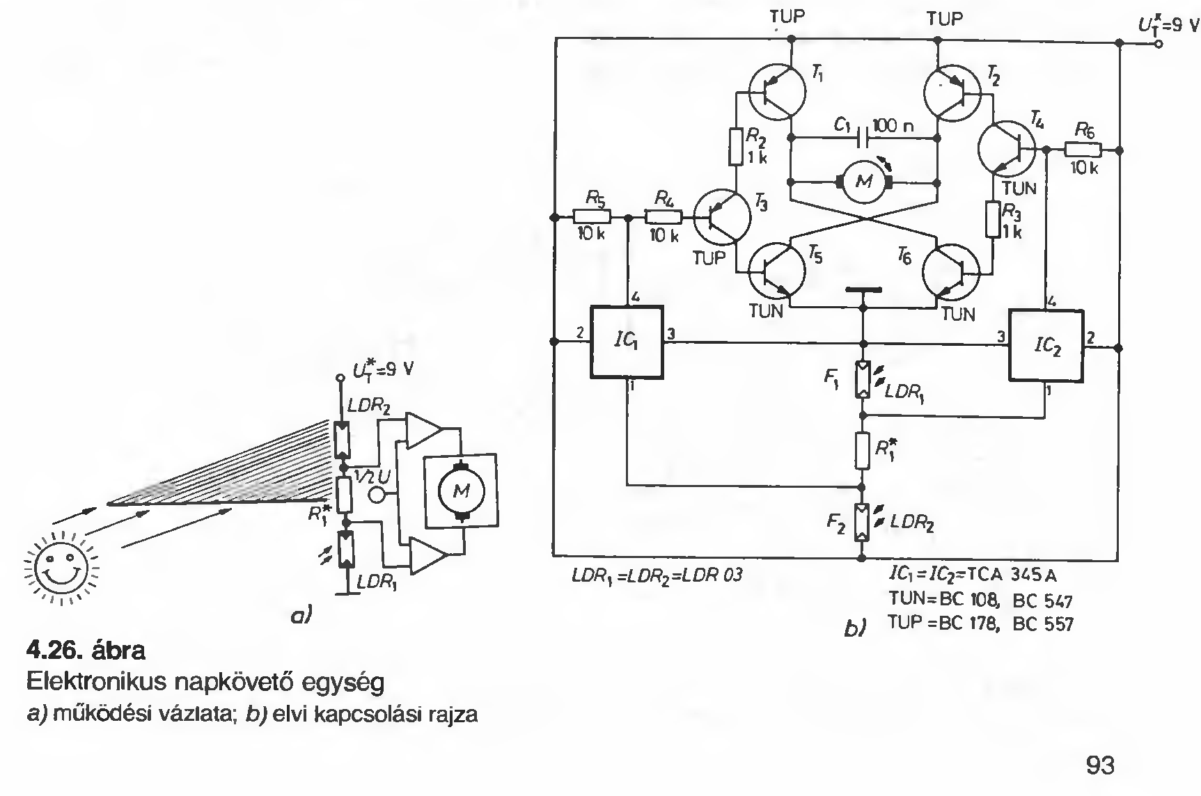
Van egy könyv:
Ha jól emléxem az Elektronikai receptek 2-es kötet, de utánanézek. Abban pont egy napkövető elektronika van megcsinálva.
Bocs mindenkitől. A Gömb-tükör nem sokkal jobb, csak egyszerűbb, de még nem is hatékonyabb. Szóval az nem teljesen igaz amit leírtam róla, mert nem egy fókusz pontja van, hanem ugyanúgy egy felület, ahova iránytól függően érkezik a fény, ez meg azt jelenti, hogy legfeljebb meg lehet duplázni a gömb tartály fénnyel érintett felületét, de nem lehet nagyobb felületről gyűjteni a fényt.
Viszont emlékszem egy régi Tudomány című folyóiratban volt, valami olyan matematikai felület, amiről bármely irányból érkező fénysugár egy pontba gyűjthető. Majd utána nézek jobban.
Tibu, köszi az eszmefuttatásodat
![]() Wg_kezdo! Amit említettél könyvet, azt meg tudnád mutatni? Érdekelne engem. Ha megtaláltad pls írj PM-t vagy írhatsz ide a fórumba is, mindennap olvasom ezt. Köszi!
Rendben, bescannelem, mivel régi kiadás talán már a szerzői joga is elévült
.Amúgy áll vagy 10 alkatrészből, most rendeltem meg mindent hozzá a HEStore-ból.
Nos megtaláltam:
Ferenczi Ödön: Elektronikai receptek III. 91. oldal. Mellékelem a leírást és a rajzot, hogy mennyire működik nem tudom még nem építettem meg.
Nem rossz ez a sörkollektor.
De olcsónak azért nem nevezhető. Most azon gondolkozom, hogyan lehetne minél kevesebb pénzből kihozni. Polikarbonát helyett esetleg valami (mezőgazdasági?) fólia használható lenne (ezt már fölvetette itt valaki). Két rétegben talán elegendő hőszigetelése lenne. Ezután jöhetne sík fémlemez (akár alufólia is) feketére festve. Ezalatt lehetne "áramlási csatornákat" kialakítani például falécekkel (és erre lehetne az alufóliát ragasztani). Végül pedig a hőszigetelés... Még valami: Festék helyett esetleg kormot lehetne használni. Nem vicc! Kitűnő fényelnyelő (szerintem jobb a festékektől), olcsó és védett helyen van, nem kopik le. (Persze elég macerás nagy felületre felvinni). Na, itt tartok most, véleményeket várok, hátha nem teljesen abszurd dolgokat írtam le.
Sziasztok barkácsolgatók! Nagy érdeklődéssel olvasom hozzászólásaitokat, tapasztalataitokat. Tervezési fázisban vagyok. Megújuló energiákkal üzemeltetném az új házamat. Sok helyen voltam már, ahol működő rendszerek vannak. Eddigi összegzés: - napelem>hálózatba tápláló, napkollektor>vákuumcsöves, medence fűtés>sima matt fekete festékes horgany lemez+rézcső a hátulján, fűtés>víz/víz hőszivattyú. Ami a legfontosabb:-10cm szigetelés a házfalon, 5 a földben, 20 a padláson. Felmerülő kérdésekre szivesen válaszolok privátban.
Na, kicsit utánanéztem, elvileg semmi akadája az "olcsó sörkollektor" megépítésének. Ezen az oldalon találtam mérési eredményeket is: kollektor A mérés szerint egy 3.5 m^2-es légkollektorral több, mint 2 kW-os hőteljesítmény is nyerhető.
Ez eddig elég jónak tűnik. Ezután elkezdtem számolgatni... Eredmény (persze csak tájékoztató jellegű): 1 m^2-es kollektor átlagos fűtőteljesítménye 50-100 W közötti, HA egész nap derűs az ég! Tehát két darab 100 W-os villanykörte többet fűt, mint ez a kollektor átlagosan! Ha valaki megépíti, észre sem fogja venni a fűtésszámlán. (10 000 Ft nagyságrendű megtakarítás)
Hello!
Több helyen már olvastam hogy Mo. területén a nap földre érkező enegiája átlagosan 1kW/m"2 télen persze kevesebb is lehet. Nekem sajna nincsenek adataim (még). De viszont ha jól számolom a te mérésed akkor 1m"2 re sztem 175w ami téllleg nem sok de az átmeneti időszakban a kora tavasz és késő őszi időszakban viszont egész jó erdmények érhetők el. Van egy oldal ajánlom mindenki figyelmében az oldalon regisztráltak feltöltik az eredményekik és ott egész időszakra lebontva megtalálhatod elég jók az adatok. A cím :sorkollektor.hu jó böngészét.
Hello Barkácsolók!!
Jómagam is építésbe fogtam. El is készítettem a prototípust. Csak fejbeni tervezés előzte meg a munkálatokat. Elkészítettem a fakeretet. Rézcső került bele melyekhez idomokat vettem és összeforrasztottam, ez a "rézkeret" pedig sajnos nem rézlapon hanem 0.8mm-es vaslemezen fekszik. Illetőleg 6cm vastag kőzetgyapot lett a szigetelése, és 2 egymásra fektetett 2mm-es üveglap a teteje. Festés: (ami szerintem az egyik leglényegesebb része) hőálló festék 2 rétegben melyek közé vasport szórtam (nem keveset), ezáltal durva felületű és nagyon fekete. Eredmény: augusztusi nap majdnem 80 fokos vízet tudtam kivenni de a 70fok októberben is megvolt. Ezek után a vezérlés következik.
Helló!
Képet csináltál róla? Milyen vezérlést csinálsz hozzá?
wg_kezdo!
Gondolom, már azóta megépítteted a napkövetőt. Leírnád légyszíves, hogy mik a tapasztalataid rólla? Előre is köszönöm!
Üdvözlök mindenkit!
A mai magas energia árak miatt valamilyen alternatív energiahasznosításon töröm a fejem. Elsősorban a vákuumcsöves napkollektor keltette fel a figyelmemet. Találtam egy oldalt, a címe www.grunpower.hu A többi forgalmazóhoz képest nagyon emberi áraik vannak. Hallott már valaki róluk, esetleg használja valaki az ő terméküket? Előre is köszönöm a válaszokat!
Használati melegvízre jó. Fűtésre nem éri meg. A vákuum csövek élettartama 8-10 év.
Üdv Gábor02!
A Permanent.hu-n jóval olcsóbbak a vákuumcsövesek. Telepített 30 csövesről napi adatokat tudok mondani. Munkatársamnak Ajkán van egy komplett rendszere. Közvetlen fűtésre nem használható, esetleg hőszivattyúshoz előmelegíteni a hideg oldalát. Az élettertamról én 20 évet hallottam. Jégverés esetén 0, tartalék csöveket is forgalmaznak Permanenték. A szállítás közben sérülteket autómatikusan cserélik.
47 csöveset használok több mint egy éve. A honlapomon leírás, havi termelési, májustól napi hőmérsékleti adatok is vannak.
Sziasztok,
Nem akarok ünneprontó lenni, de a 8-10 év élettartam vákuumcsöveknél valós. Olcsóbb kínai csöveknél már 2 év után 180 fokkal forgatni kell a csöveket, mert elhasználódik az abszorber bevonat a napsütötte felén. Négy éve fontolgatom egy 30 csöves rendszer kiépítését. ( Leginkább innen: www.kardoslabor.hu) Az ikerhőcserélős tartályt már a ház építésekor telepítettük. Röviden a lényeg a soha meg nem térülés: Tényadatok: 5 fő esetén. Mezei átfolyós gázüzemű kazánnal a melegvízkészítés: 15m3 / hó azaz 135Ftx15m3=2.025Ft/hó Kazán ára: 120.000Ft 1x beruházás. Napkollektoros rendszer esetén 5 főre: Ikerhőcserélős reflex tartály: 180.000Ft 1x beruházás Indirekt fűtésre is képes kazán vezérlése +20.000Ft Napkollektor nélkül melegvízkészítésre jelenleg 50m3/hó gáz fogy. Rendkívül gazdaságtalan az indirekt üzemmód. Kardosék szerint 60% megtakarítható éves szinten, also: 20m3/hóra tudna csökkenni a gázfogyasztásunk. (2.700Ft) És még nem beszéltünk a 30csöves napkollektor 10 évenkénti cseréjéről, ami havi szinten 250.000Ft/120hó=2.080Ft költség. Konklúzió: napkolektorral 2.700Ft+2.080Ft=4.780Ft a havi költséged, míg mezei átfolyós gázüzemű kazán esetén ennek kevesebb, mint a fele. Érdemes átgondolni, ezen rágódok 3-4 éve, de még senki nem tudta bemutatni azt az áttörő és mindent elsöprő érvet, ami miatt a napkollektoros rendszer olcsóbban üzemeltethető, mint egy átfolyós gázos. Ja, és nem tartozom semmilyen energetikai cég holdudvarába, nem ezért írtam. ![]()
Szia, néztem az excel kimutatásodat. (Egyébként nagyon profi az oldal, gratula!) Sajnos abból is az tűnik ki, hogy télen 5 köbméter, forró nyáron 30 köbméter gáz takarítható meg havonta. Ez édes kevés a rendszer bekerülési és fenntartási árához képest.
(
Nálunk 120l es boiler 1kw os patronnal, és napi 5kw os fogyasztással.Havi 150kw éjszakai áram 150*20Ft=3000ft.
Nyáron a kinti tartály melegíti elő a vizet s az folyik be a hideg csövön a benti tartályba. Most télen a vegyes tüzelésű kazán kéménycsövére készített tartály 6 óra körül már 50fok felett van, és este mikor fürüdünk azt mossuk be a benti tartályba. Sokszor melegebb mén a tartályba mint ami kifele jön a zuhanyzó fele mert a termosztát 50fokra van állítva. Nappal 30fokos meleg víz marad a kazán meletti tartályba de akkor se 16fokos mint ami az utcáról jön. Napi átlagunk 1-2kwra jön ki így. És ingyen van a többi dolog.
Szia! Külső - belső tartály térfogata?Nem okoz gondot, hogy lehűtöd a kémény kimenő hőmérsékletét? Kátrányosodás? Hogy oldottad meg a víz melegítését? Csőkígyót tekertél köré? Kíváncsian várom válaszod.
Külső az 120literes síma lebontva a borítás alábbi linken nézd meg!
A belsőnek mellékelem a fényképét. Kb 50literes, próba még. Elsőnek folyt rendesen a kondenz víz lefele, de bele lett heggesztve a pipa az aljába s így már ha folyik bele folyik egy kis lemez miatt a kazánba. Szerintem nem nagyon hüti le a kimenő füstöt, mert még forró a vas cső fölötte is. Kátrány? Biztos van nem foglalkoztunk vele. De ha végig gondolod a gyári fa tüzelésü boler is így müködik, csak az sokkal hosszabb a melegítő tere.Magas a cucc. |
Bejelentkezés
Hirdetés |








(10 000 Ft nagyságrendű megtakarítás)
( 





