Fórum témák
» Több friss téma |
Fórum » Tesla tekercs építése
Szivesen. Amúgy tényleg egész jó lett.
Köszi,összedobtam egy tápot is-kérdésem az lenne,mivel nincsen puffer kondim,kb 10000µF-ot tudnék összeszedni kisebb kondikból,az elegendő lesz,vagy spóroljak valami komolyabb pufferre?Üdv!
Stabilizált vagy stabilizálás nélküli táp?
Simán trafó + graetz és kondi? Attól is függ mekkora lesz a pufferen az üresjárási fesz. Müködni fog már 10000µF-al, is de minél nagyobb a puffer annál jobb.
Jó reggelt!
Stabilizálás nélküli,sima trafó+graetz+kondi.
Üdv!
Ráértem ezen a hétvégén,összedobtam még egy minitesla elektronikát,az lenne a kérdésem,mivel a komolyabb zenerem elfogyott,hogy Z1-nek már csak 0,5W-os zenerem van-megteszi?
Sziasztok! Az lenne a kérdésem hogy egy tesla tekercs működtethető-e több sorbakapcsolt autó gyújtótrafóval?
Előre is köszönöm.
Szerintem csak szenvedés van vele. Meg ha sorbakapcsolsz, akkora lesz a feszültség, hogy primer kondinak is elég brutál feszültségűnek kell lennie. Nem utolsó sorban a meghajtó szikrája nagyobb lesz, mint a vele hajtott tesla tekercs szikrája.
Az is megteszi....
Olyan tesla tekercset nem tudtok, ami egy sima (mondjuk 9V-os) elemmel működtedthető?
Üdv!
Youtube-on láttam már rá példát,de szerintem túl veszélyes.Van egy egyszerű kapcsolásom gyújtótrafóhoz(nem relés verzió),5cm-es szikrát produkál,ha kell,feltöltöm neked,de javaslom,hogy inkább más úton indulj el.A gyújtótrafó piszok durva,engem ütött már meg-nem kívánom senkinek!
Szia!
Megköszönném ha feltöltenéd, de szerintem mégsem fogok gyujtótrafót használni(viszont lehet, hogy jó lesz még valamire a kapcs. rajz. Úgy tudom, hogy a TV sorkimenő- nek nagyon kicsi a teljesítménye, ezért inkább a Skori féle 24V-s verziót próbálom megépíteni.
Parancsolj.Ez kettő verzió,egyik 555-ös szaggatással.
Köszönöm szépen
Kellemes Karácsonyi Ünnepeket!
C4,L4 még nincsen beépítve,de már tápos
![]() Több képet már nem töltök fel szerintem
Jó lett!
Milyen dobozba van beépítve? Mit használtál csévetestnek, ill. mi az a fekete anyag a tekercs tetjén?
Köszi!
A dobozt lomexben vettem,elég masszív darab! ![]() Csévetest 63as pvc cső,nitrolakkba mártva,viasszal kiöntve.A "fekete anyag" -azt hiszem egy szilikonhenger kupakja,a tekercs alján is van egy kupak,az kevésbé látszódik,csak a kiöntés miatt raktam rá,de rajta is hagytam-az pl hajlakk kupak.Elvileg gyártanak idomokat,kiegészítőket 63as pvc csőhöz-bízom benne,hogy csőzáró kupakot is,még meg kell érdeklődnöm,mert az valamivel erősebb és tartósabb megoldás lenne.(szekunder rögzítése is erősebb lenne)A képen is látszódik,hogy a primertartó tartja függőlegesben a szekundert,tehát ezt még majd orvosolni fogom valahogy.
Sziasztok
Én is megépítettem Skori mini tesláját, csak nem akar szikrázni. Eddig összesen egy 0,5 cm-es jött ki csak belőle 1 másodpercre, de azt se sikerült még megísmételnem. Egy pc tápról hajtom, az áramfelvétel vmiért csak 10 mA. Ha vkinek van ideje segítsen. kösz
Szia!
Tegyél fel képeket! A 10 mA miatt nem hiszem,hogy a primereddel van baj,azért egy ellenőrzést megérne a dolog!Üdv!
a képek:
http://kepfeltoltes.hu/view/081230/P1010500_www.kepfeltoltes.hu_.jpg http://kepfeltoltes.hu/view/081230/P1010501_www.kepfeltoltes.hu_.jpg http://kepfeltoltes.hu/view/081230/P1010502_www.kepfeltoltes.hu_.jpg a primert cserélgettem de nem lett jó, a negatívra rákötöttem a földet
Szia!
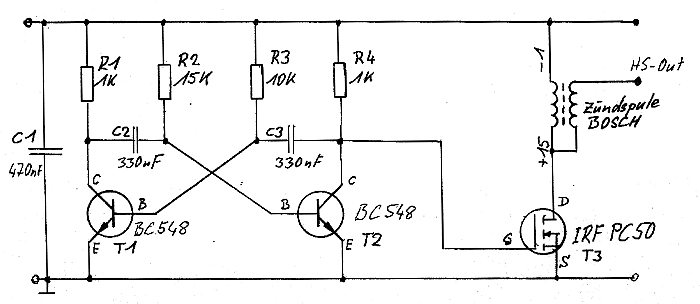
Azért csak nem szállnék le a primeredről,csatolok egy képet,egy ellenőrzés sztem belefér. Ha javasolhatom,a szekundert azért szigeteld le,mielőtt elkezdesz bármit,mert így csupaszon nagy esély van az átütésre. Ha a primer jó,L1,L2 cserélgetése sem hoz megoldást,akkor még lehet a Tr1. Ha van időd,energiád,légyszi küldd el nekem a nyáktervedet!Az is jó,ha ide felnyomod fórumra,de megadom az email címemet is:belganarancs(kukac)citromail.hu
BÚÉK!
2009-ben az első kérdésem: Hogyan kell átalakítanom a Skori-féle miniteslámat drsstc-re? Csak annyit tudok,amennyit az oldalán,a videójában láttam. Pontos adatokat azonban nem találtam,tuti,hogy van valamilyen számítás rá.Aki tud vmit,az ne kíméljen légyszi!Már googléztam is,nem jött be..
Hello!
Lakkozott rézhuzalt(CuZ) honnan tudnék szerezni? Itt nem találtam: link Akkor honnan lehetne?
Lakkozottat sehonnan. Zománcozottat esetleg a villérttől.
Szia!
Cáfolnám Collector hozzászólását. www.conrad.hu Az oldalon úgy írják,lakkozott. Én ott vettem,miniteslához tökéletes.
Kösz a válaszokat!
Nem halt meg
Bővebben: Link
....
Vizsgaidőszak után belefogok egy új,nagyobb teljesítményű sstc projectbe,még mindig mini kategória,de már 230at is kap a picike. |
Bejelentkezés
Hirdetés |

















