Fórum témák
» Több friss téma |
Ez tényleg ép kinézetű.
Kipróbáltad, hogy a másik bemenet jelével és hangszórójával is produkálja-e a hibát? A mai nap ilyen malőrökkel van tele.
előszőr, az előerősítős részre gomdoltam, hogy az viszi bele, a torz jelet, mind a két kimeneti csatornát le teszteltem, a jó panelon, tisztán szolt mind a kettő. Ebbe az esetbe, leteszteltem, mind a 2 hangfalat is, mind a 2 hangfal jó. majd átkötöttem, a másik oldalra, és itt mind a két jelcsatornával teszteltem, kb negyed hangerőig tisztán szól, és amikor feljebb tolom, a dinamikásabb zenei részeknél el kezd köhögni, a hangfal...... Nem lehetséges, hogy a munkapont nincs jól beállítva? van rajta, egy kék trimer poti. Alapzaj, szinte semmi nincsen.
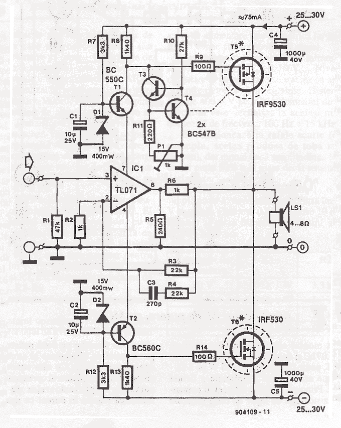
A képek alapján valamelyest sikerült feldolgozni a kapcsolást. A poti nyugalmi áramot állít, ha a 0,22 ohm ellenálláson 0-2mV közötti a feszültségesés és halk jelnél nincs kásás hangja akkor az rendben van.
A leírt torzítással kapcsolatban két dolog jut az eszembe: az egyik, hogy elfogy a kimenő áram, ezt nagyobb impedanciájú hangsugárzóval, például a meglévőket sorba kötve, tudod megnézni. Ez esetben a torzítás megjelenésének határán nagyobb kimenőfeszültségig jutsz el. A másik ahhoz az eseményhez fűződik, mikor a jelkábel árnyékolásának melegedését tapasztaltad. A bemenet DC-csatolt az ott lévő tranyókat megviselhette ez a jelenség.
Megnéztem, a tranzisztorokat, és mindegyik jó.... nemértem...
Nézd meg a terhelőimpedancia növelésétől növekszik-e a kivezérelhetőség. Nem tudtam visszafejteni az áramkorlátozóját, de ha ezen múlik keresünk rá megoldást.
A terhelőimpedancia növelésétől nem növekedett, a kivezérelhetőség.
Elég baj, hogy nem szűkíthető a hibás alkatrészek köre, így bármely aktív, vagy passzív elem lehet a torzítás kiváltója. Még mindig a mechanikai behatást meglovagolva ajánlom a panel szisztematikus átforrasztását, hátha valamelyik elengedett, vagy a lyukgalván megszakadt.
Ha ez nem segít, meg kéne szerezni a kapcsolási rajzát, vagy visszarajzolni az áramkört.
Igy igaz , csak 63v legyen , és a méretre figyelj , hogy ahová kell elfér e .
Hali, a tegnap befejeztem a saját készítésű erősítőmet. Van benne egy reloop féle előerősítő, két opa2134-el, van egy dracula erősítő a mélynek és van két 70W-os mosfet erősítő a magasnak. A probléma, hogy mikor mindkét speaker erősítőmet betáplálom, és rákötöm az elsőre a jelet az előerősítőből, akkor a másodikben is hallatszik ugyanaz a zene gyenge recsgős ropogós minőségben(az elsőben pedig a jó minőségre rátevődik ez a zaj). Nem igazán volt időm foglalkozni vele azóta, de megemlítam hogy a két speaker erősítőmnek ugyanaz a tápja, mármint egy trafó egy diódahíd és 2 kondi. Ha csak az egyiket táplálom be akkor tökéletesen megy, szépen tisztán. Gondoltam földhurokra az előerősítő és a két végkfok között és le is vágtam az egyik jel földjét de nem számított, nameg nem is az a tipikus 50 herzes zaj van... Köszi előre is a segítséget!
A hozzászólás módosítva: Nov 16, 2015
Szia! Fényképezd le a huzalozást! Nagyon precíz csillagpontos test és táp kialakítással orvosolható a probléma.
Hát most sajnos nem vagyok otthon de ha hazaérek lefényképezem. Kb. erre gondoltam én is, kösz a választ
![]() Fizikailag mi lehet a baj oka? A hozzászólás módosítva: Nov 16, 2015
A test és a tápáram óhatatlanul feszültséget ejt a vezetéken és ez hozzáadódik más csatornához.
hmm értem tehát akkor ha csillagpontos táp kialakítást csinálok ennek a két végfoknak elvileg jó kellene legyen, mert most kb úgy néz ki a tápelosztás mint a villanypózna, sorba veszik le az erősítők a tápot a vezetékekről..
Gondoltam
![]() Tápot közvetlenül a pufferkondi lábáról, testet a két puffert összekötő szakasz (ez jó vastag drótból legyen) felezőpontjáról oszd szét! Ez utóbbi pontról kell a hangszóróknak testet adni! A jelföld vezetését majd kitaláljuk a fotó alapján.
De, ha nem 63V-t hanem 50V-t teszek bele, az sem baj?
Mert ahogy elnézem, a 63V-t amit találok, nem épp erősítőbe való.
feszültség alatt, hogyan tudom multiméterrel ellenörizni, hogy a végtranzisztorok helyesen működnek? Találgatni nemigen szeretnék, mivel 8 db végtranyó van.
Ellenőrzöd a kimeneti egyenfeszültséget vezérlés nélküli állapotban.
Kivezérelve, pedig megméred: szinusz jelet mekkora AC feszültségre tudod kivezérelni a torzítás határáig kihajtva. Oszcilloszkóp használata ajánlott. Ha a torzítás oszcillogrammja aszimmetrikus, akkor a hiba az egyik tápoldalra korlátozódik.
Sajnos szkopom nincsen. Valami le is tilt a kapcsolásban, mivel feljebb tekertem a jelet, amikor torzít, majd a panel jelző zöld led ki is alszik, a hang megszünik a hangfalon, majd addig nem kapcsol be a végfok, amíg ujra nem indítom.....
Hogy hogy nem erősítőbe való ?
Egyébként mindig inkább nagyobbat szoktak bele tenni mint kisebb értékűt.
Hát úgy, hogy felső része csavaros, meg a lábak inkább sarusak, mint panelba ültethetők.
Attól , hogy abban a boltban ahol nézted , csak olyan van az nem jelenti azt , hogy nem létezik olyan , ami a tiédbe való lenne, , vagyis gondolom beültethető típus kellene neked
Köszönöm, a segítséget! Meglett a torzítás oka...... a bemenet környékén, egy zener diodát fordítva forrasztottak be a kicsi kínaiak, még szerencse, hogy a helyes irány, fel volt rajzolva, a nyákra, illetve a jól működő panelon is jól volt ez az alkatrész beforrasztva. megfordítottam, szól mint az állat.... ! Falat bontok, a próbateremben!
Gratulálok, hogy kiszúrtad
Én mindíg mondtam, hogy sok "nézéssel" és "gondolkozással" nehéz problémákat is meg lehet oldani. De mióta "net" van, azóta tudjuk hogy minden hibát a "púpos" kondenzátorok cseréjével meg lehet javítani... Gratulálok!
A hozzászólás módosítva: Nov 18, 2015
Szia,
sikerült végül csillagpontosan megoldani a táplálást és jóval szebb hangzást kaptam de a pattogás nem tünt el. Észrevettem hogy furán melegszik a hüttőborda bár nem adok nagy jelet, a lényeg hogy a hüttőborda kifúrásakor ottmaradt egy-egy alumíniumforgács és miután felfogattam a 2 pár fet-et a szigetelő tranzisztor alátéteket átdöfték . Így összekötődtek a drainek-sourceok s baj lett. Most már minden a legnagyobb rendben és jól müxik az erősítő. Kösz a segítséget reloop!
Mégegy kérdésem lenne.... földhurok elkerülése végett. ehez az erölködöhöz. A tápból külön külön kapja a kakaót a végfok tehát külön szekunder tekercsről. a 2 vékfok jelföldje, a keverőelőrerősítőnél találkozik, a keverőelőerősítő, 2x18v al üzemel (18-0-18) ez egy harmadik független szekunderről kapja. gondolom, a 0 pontokat, nem szabad összekötnöm, vagy igen?
A tápnál ne köss össze semmit, csak a jelvezeték árnyékolásán keresztül találkozzon egymással a keverő és külön-külön a két végfok. Tekints rá úgy, van két komplett mono erősítőd és rákötöd egy-egy rca-val egy keverőre.
Rendben, Köszönöm!
|
Bejelentkezés
Hirdetés |







. Így összekötődtek a drainek-sourceok s baj lett. Most már minden a legnagyobb rendben és jól müxik az erősítő.





