Fórum témák
» Több friss téma |
Fórum » Propeller Clock
THX Last_Scout.
Közben rájöttem (kis segítséggel) hogy a tranzisztor kivezetéseit ugyanoda kell kötni (mind a 2-őt), de csak ha szükség van rá.
Helló ismét
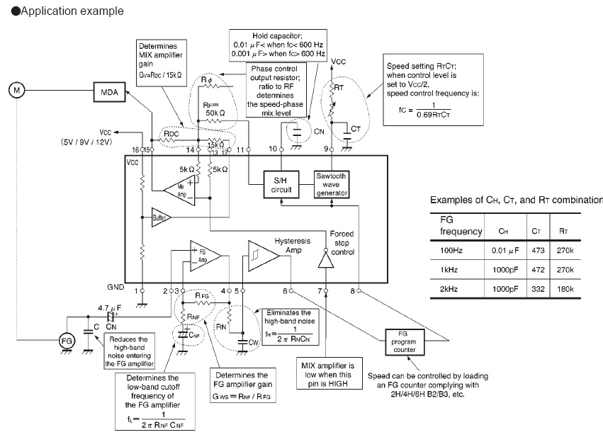
Videófej motor vezérlőjéhez szeretnék egy fordulatszám beállítót (jelgenerátort) készíteni (az az izé ami adja a jelet a meghajtó ic-nek, asszem fűrészfog jelgenerátor) Van is az ic adatlapján mindjárt ehhez alkalmazható fordulatszám beállító, de pár dolog nem egészen világos számomra. Az egyik dolog, ami érdekelne, hogy mi az az FG program counter. Ezek a ba6301 6-8-as lába. A másik az, hogy az 1-es és 2-es lábak közé megy a fej motorja körül nyákra rajzolt szögletes hurokféleség (mivel a rajzon is ilyesmi van) ? (le is fotóztam, jól látni) És az emellé felrajzolt karikában lévő FG felirat összekötve egy szaggatott volnallal egy karikában lévő M betűvel, ami a motor tekercseihez van rajzolva. Ez valami fordulatszám szabályzó? vagy mi? Legyxetkek szívesek segíteni ezzel kapcsolatban (ha érthetetlenül fejeztem ki vmit, szóljatok) Mellékeltem a vezérlő ic-hez ajálott jelgenerátort tartalmazó kapcsolási rajzot a ba6411-es adatlapjáról, meg a ba6301-es bekötési rajzát a saját adatlapjáról... köszi előre is üdv WM
Idézet: „Ez valami fordulatszám szabályzó? vagy mi?” Kijavítom: fordulatszám mérő (impulzusadó)
Szevasztok! Még mindig nincs kész az órám :S ,a HQ több mint 1 hónapja nem küldi a PICeket...nem tudjátok hogy olcsón hol lehet még rendelni pic-et? Mert már elegem van belőlük...eddig mindent nagyon rendesen küldtek de ez már nekem így sok...
köszi szépen...
PIC16F628-20/P ezt rendelted? Mer csak ez van nekik raktáron!
Igen, a javaslatom nekem is az, telefonálj!
Az email még nem az igazi náluk de élőszóban elég segítőkészek. Keresheted Arapovics Zoltán-t, Ő vmi ügyéntéző lehet. Amugy regisztráltad magad? vagy csak mélbe rendelsz? Nekem általában 2 nap alatt megjön a cuccos...
PIC16F628A-I/P
Ezt rendeltem tőlük már vagy 1.5 hónapja..akkor még volt aztán miután megrendeltem,látom h neten átrakták h rendelés alatt áll...Aztán rá 1 hétre hívtak hogy mi legyen a csomaggal mert mást is rendeltem és hogy megvárjuk-e a pic-eket és 1ben küldjék-e...mondom mennyi idő amíg meglesznek? hát max 2 hét,ez a legrosszabb eset. Mondom akkor várjuk...aztóta sem tudok róluk semmit,honlapon meg még mindig rendelés alatt áll... Szóval nem tudnátok esetleg valami más helyet ahonnan rendelhetnék? (Lehetőleg olyat ahol van ilyen típusú pic -16f628 i/p - és más elektro cuccok is pl:ledek,tranyók) köszi szépen... ui.:azért bosszant a dolog mert karácsonyi ajándéknak terveztem az órát és már kb a picek hiányoznak meg még 20 perces munka összekötögetés... Hát telefonon segítőkészek nekem is ,és regeltem.Ha van nekik raktáron cucc akkor nekem is megjön 2 max 3 nap alatt... Egyébként nem fikázni akarom őket,eddig mindig segítőkészek voltak,most van vmi ilyen probléma ezzel a pic-ekl de mind1.Attól még a vásárlójuk maradok csak ezeket kéne beszerezni máshonnan...(kb 6 db kéne...)
A PIC16F628-20/P van nekik és csak 150.- drágább mint az I/P változat. Szerintem kérd azt. (sok helyen néztem már, de bizonytalan mint a kutya vacsorája. Sztem még mindig ez a legbiztosabb.
Helló!
Lenne szíves valaki nekem is válaszolni? üdv
Hát jah..szerintem az lesz..ünneoek után mikor helyreáll a rend
sztem megrendelem megint tőlük... Hátha most sikerül... ![]() köszi...
hát én valószínűnek tartom, hogy az a hurok ott egy jeladó akar lenni, amiben a forgórész forgás közben feszültség impulzusokat indukál, és az van bekötve egy hiszterézises erősítőbe, ami valószínűleg négyszögjeleket csinál belőle... jobb elképzelésem nincs...
köszi! és nem tudod hova kell kötni azt tekercset (érzékelőt), ami a forgó dob szélén lévő kis mágnesecskével néz szembe? egyeltalán be kell kötni, vagy az csak videókban szokták használni szinkronizáláshoz?
mint az a hozzászólásomban több helyen láccik csak találgatok
de így tűnik logikusnak, nekem nem olyan hurok van a videomotorom körül, hanem csak az a tekercs szerű, és a forgórészen egy darabka mágnes, vagy nem is emlékszem már, de nekem még akkora szerencsém sem volt, hogy adatlapot találjak hozzá, pedig kerestem...
Ezen is van ilyen kis tekercsszerű, de van hurok is. Szerintem az a kis mágnes, ami forog körbe, a processzornak mondja meg hogy mien gyorsan forog a fej, és aszerint szinkronizálja a szalag forgását, és ha nem ad jelet tekercs (tehát beragad a fej, vagy szorul rá szalag), akkor megállítja a forgást a rendszer. A hurok, meg akkor valószínűleg a fordulatszám szabályzónak segít stabilan tartani a fordulatot, hogy egyeletes képet adjon a videó. Tehát arra jutottam hogy jelen esetben a ba6301 és a ba6411 kombinációnál nincs szükség a tekercs féleségre meg a kis mágnesre, hanem csak a motor körül lévő kis hurokra. (a másikat nem is lehetne hova kötni ebben az áramkörben)
Nem mint hogyha sok köze lenne az egész általam írt hozzászólásnak az órához, de esetleg van, akit érdekel... Ez inkább csak az ic meg a fej videóban való működésének egyszerű magyarázata volt...
Helló
elkészült az áramkör a motor meghajtására. (eddig is volt egy egyszerűbb, csak egyszerű volt és ezért nem ment ) Ez részben a ba6411 adatlapjáról származik, és stabilan tartja a beállított sebességet. Fotót a penelről mellékeltem Meg szeretném oldani, hogy ezt az áramkört ki tudjam kapcsolni távirányítóval, mint a sima venti motornál. Gondolom vmi FET-es vagy tarnzisztoros megoldás lenne a jó erre a célra, vannak azomban gondok: Egyik az, hogy eddig se tudtam ki/be kapcsolni a motort távirányítóval, szal vmi nincs jól vagy elszállt, a másik az, hogy szerintem nem jó ezt bekötni az lm2941-es után, mivel ott /elvileg/ PWM-es jel van, ami a ventilátor motorhoz van, ez meg egy különálló áramkör, aminek nem kell pwm. Ráadásul a gombok definíciója a távirányítón nálam teljesen más, mint amit korábbi hozzászólásokban olvashattam. Tömören összefoglalva egy olyan megoldást szeretnék, hogy ezt a vezérlőáramkört ki/be tudjam kapcsolni távirányítóval. (elég ha 12 voltot kap, és már megy is a motor) előre is köszi a segítséget üdv
elnézést, de olyan bonyi dolgot kérdeztem, hogy senki nem tud/akar válaszolni? Vagy egyszerűen csak mindenki sz***ik rám? (talán rémisztőek a kilóméterhosszú hozzászólásaim?)
Hello! Lenne egy olyan kérdésem hogy:
A régi ventilem nem volt képes elég fordulatot elérni (épp a határon mozgott- egyszer ment rendesen, máskor nem), és most vettem egy nagyobbat. De itt más a tekercsek átmérője, amit a forgó részre és az álló részre légmagos tafóhoz készítettem. Azt szeretném megtundni, hogy befojásloja-e a menetszámot az átmérő, tehát kell-e növelnem.
Sziasztok!
Elég nagy gondban vagyok ! Megépítettem a propeller clockot és a következő a problémám!Jelenség1./ a propeller forog a mag közepétől a 9db. led nem világít a többi igen. Bármely fordulatra állítom a motor fordulatát a kijelzés nem látszik pontosabban körönként fel fel villan. Néha kivehető a digitális számok kiírása 12:00:00! Igyekeztem betartani a leirtakat 150 menet a forgórészen / 0,2 mm. szépen / tekerve, 100 menet az álló részen /0,2mm. szépen / tekerve. A megépítésnél mindent figyelembe vettem. Amiben viszont eltértem / mert nem kaptam / az a fotótranzisztor tipusa és az IR led tipusa! / mekkora probléma ez? Okozhat ez ilyesmi problémát? / Kérdésem a következő? 1. A forgás íránya? 2. A minimális és a maximális forgási sebesség a műkődéshez? Fontos kérdés! 3. A forgó részen mérhető feszültség értéke / abban az esetben mikor a forgórészt megállítva mérem meg a feszültséget / Nálam DC-8.99V van az egyenirányítás után ami a stabIC BE lábára érkezik!? Ez jó vagy rossz? 4. Az inditáshoz szükséges az írányító? Azt még el kell mondanom, hogy 3 szor építettem meg a mehanikus rész és mind a 3 esetben ezt a feszültséget mértem! Az álló és a forgó rész között nincs több mint 2-3 mm.! Hol lehet a hiba? Légyszíves adj nekem egy pár tippet, hogy mit nézzek meg! Előre is köszönöm mindenkinek! Zoli
Helló!
A 8.9 volt az nagyon kevés! Emeled a kitöltési tényezőt, hogy kb 15-16 volt legyen a propelleren! Az infra led és a fototranzisztor lehet más típusú, működi azt fog, meg írtad is hogy kicsit próbált működni.... Tekercsnek én 0,25 mm-es huzalt használtam, de a 0,2-nek is jónak kell lennie... Általában pc ventilátorok úgyis csak egy irényba tudnak forogni, tehát az iránnyal sem lehet gond, mivel mind egyformák. Az is lehet az oka az akadozásnak, hogy túl lassan forog. Ez nehéz nyák esetén gyakran előfordul, lehet, hogy ez a problémád. Maximum határ nincs, én például videófej motorral hajtom, és elég állatul forog, max kevésbbé villog (ha vki hozzáérne lecsapná az ujját rendesen...) A 9 led azért nem világított valószínűleg, mert azoknak ,már túl kevés volt a fesz. Az indításhoz nem kell távirányító, legalább is nálam biztos nem.. meg hát azt mondtat láttál má számokat rajta. Szerintem először emeld a kitöltési tényezőt, hogy meglegyen az elegendő fesz, és nézd meg hogy azután mit produkál. Lehet, hogy ezután minden megolódik! Sok sikert! üdv Gábor
Az inditáshoz kell távirányitó, előszöt ki aztán be kell kapcsolni, és miután elérte a megfelelő fordulatot kijelzi az óráz. És is sokat szórakoztam a megépitésel, de már vmi kialakult belőle, ami hasonlit a propeller clockhoz.
Nemtudom, nekem alapból úgy indult, hogy minden ment, nem kellett távir. ahhoz, hogy lássam müxik-e... csak az idő meg funkció beállításához kellett, na meg kikapcsolni....
Hali mindenki!
Hamarosan én is elkezdem megépíteni ezt a cuccot, tetszik nagyon. Kérdés aki mér megépítette: Honnan tudta kisilabizálni az alkatrészek pontos típusát meg hogy smint. mert ami van a lapon néhány kapcsolás, az nekem használhatatlan. Ha valaki tuda nekem segíteni azt megköszönném, ha feltud venni msn-re azt mégjobban! egyéb: ti mire raktátok rá a tekercseket? az egyiket ugye a venti forgo részére, ez ugyahogy sikerült.... kb 140, menetet tudtam rárakni... ez már elég? ja és 0.4-es a vezetékem... mennyi helyet legyen a 2 tekercs között? mindenhol 2 milkó? ugybár a másik tekercs nagyobb mint a propelleren lévö, namost ott akkor is 100 menet legyen? én ma a suliban elkezdtem megcsinálni a második tekercset, a külsöt, de nemigazán jött össze és csak egymásra hánytam jósok menetet. ez mennyire baj? csináljam ujra? elöre köszönök minden építö hsz-t! :yes: A hozzászólás módosítva: Jan 12, 2014
Sziasztok! A propeller clock-hoz kell egy PIC16F628 típusú IC. A CsipCAD-nél (direkt írtam így
)viszont van egy rakat féle, melyik a jó bele? (PIC16F628-04/P PIC16F628-04/SO PIC16F628-04/SS PIC16F628-04E/P PIC16F628-04E/SO PIC16F628-04E/SS PIC16F628-04I/P PIC16F628-04I/SO PIC16F628-04I/SS PIC16F628-20/P PIC16F628-20/SO PIC16F628-20/SS PIC16F628-20E/P PIC16F628-20E/SO PIC16F628-20E/SS PIC16F628-20I/P PIC16F628-20I/SO PIC16F628-20I/SS PIC16F628A-E/ML PIC16F628A-E/P PIC16F628A-E/SO PIC16F628A-E/SS PIC16F628A-I/ML PIC16F628A-I/P PIC16F628A-I/SO PIC16F628A-I/SS PIC16F628AT-E/ML PIC16F628AT-E/SO PIC16F628AT-E/SS PIC16F628AT-I/ML PIC16F628AT-I/SO PIC16F628AT-I/SS PIC16F628T-04/SO PIC16F628T-04/SS PIC16F628T-04I/SO PIC16F628T-04I/SS PIC16F628T-20/SO PIC16F628T-20/SS PIC16F628T-20I/SO PIC16F628T-20I/SS) Nah kb. ennyi Lécci valaki segítsen
annyit tudok mondani hogy neked "/P"-s kell, mert azt könnyebb beforrasztani, mint a többi tokozást!
A 04 és a 20 az utolsó számsorban a sebességre utal(Mhz-ben), én a 20 -asok közül válogatnék.
Ha jól tudom akkor a PRclochoz PIC16F628A-I/P kell. Én legalábbis ezt használtam! Ezt ajánlom neked
1. gyors válasz, köszi!
2. ez elég ellentmóndónak tűnik, de mindenkinek köszi |
Bejelentkezés
Hirdetés |







de így tűnik logikusnak, nekem nem olyan hurok van a videomotorom körül, hanem csak az a tekercs szerű, és a forgórészen egy darabka mágnes, vagy nem is emlékszem már, de nekem még akkora szerencsém sem volt, hogy adatlapot találjak hozzá, pedig kerestem... 
! Megépítettem a propeller clockot és a következő a problémám!
)viszont van egy rakat féle, melyik a jó bele? (





