Fórum témák
» Több friss téma |
Sziasztok! Én egy Orion 331-es csöves rádiót javítok. Az előző oldalakon használható infokat olvastam,mert hasonló jelenséget tapasztalok én is. Majd még jelentkezem mire jutottam. Nándi
A sávváltó kapcsolón lévő tekercsek vezetékei között látok olyat ami nem csatlakozik sehová.
Lehet, de én a képen nem látom...
Rajzod van? Esetleg nem a "kukac" trimmerek vezetékeire gondolsz?
A képet csak szemléltetésképp vettem fel, hogyan is néz ki a váltó. Itt még nagyon poros. A kukac az ami úgy néz ki, hogy vastagabb drótra van vékonyabb spirálba tekerve? A rendes tekercsek hajszál vékony kivezetéseiből látok olyanokat is ami nem egyértelmű hová voltak forrasztva ha voltak. Megpróbálok azokról is képet készíteni.
Azt úgy hívják, hogy drót trimmer. A feltekert drót a másik fegyverzet, és ennek a hosszával lehet állítani a kapacitást. Egyszer.
Leteker, felteker. A két lakkréteg a dielektrikum, a vastag szokott teest felé lenni
Itt már talán kivehető mire gondoltam. Nem mindegyik drótnál egyértelmű.
Meg itt a rajz is.
Igen, látom... valamibe beleakadhatott és elszakadt. Mást nem tehetsz, minthogy a rajz alapján azonosítod őket (iránymutató lehet az üres hely), nyilván az egymással szemben lévők a párok (oszci, mod), az üres hellyel szemben a hosszúhullám modulátortekercse van.
Bekapcsoltam a rádiót. Csak enyhe búgás hallatszik meg -úgy tűnik- az AZ1-es cső zörög. A poti tekergetésére még sérceg, más hang nem jön ki belőle. A varázsszem félig nyitott állapotban van.
Szia!
Csőhibára kell ilyenkor gondolni. Mivel sercegés van, ezért a hangfrekvenciás erősítő jó. A keverő és KF-erősítő körül kell kutakodni.
A neten találtam írásos anyagot a rádiók felépítéséről. Mivel még amatőr vagyok a rádió technikában elég száraz anyag nekem. Nem tudnám megmondani a keverő és a KF erősítő fizikai elhelyezkedését e csöves készülékeken. Kérhetnék némi szakmai segítséget az öreg szakiktól?
Most láttam meg, hogy van rajz hozzá. Nos, mindegyik felső cső lehet bűnös, meg még a hangfrekis erősítő cső is jobb oldalon, mert tartalmaz egy kettősdiódát. Az egyik dióda az AM demodulátor, a másik az AGC- szabályzáshoz kell. Szerencsére a rajzon fel vannak tüntetve a feszültség és áramviszonyok is, így sokkal könnyebb a hibafelderítés. Az elkókat is ellenőrizd(32 µF )
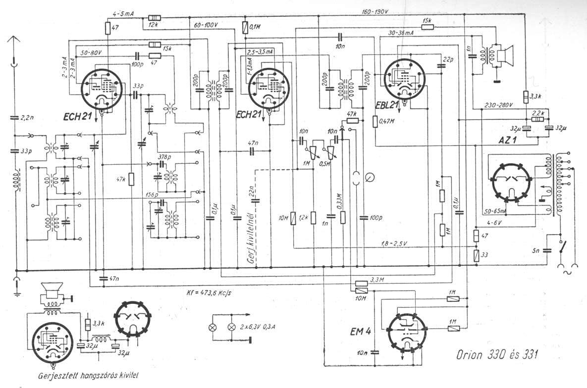
Ez a rádió, régebbi szóhasználattal egy 3+1 -es szuper vevő. Három erősítő, és egy teljeshullámú hálózati egyenirányító. (ECH21, ECH21, EBL21, és AZ1).
Az első ECH keverő (H), és oszcillátor (C), ide csatlakoznak a hullámváltón elhelyezett modulátor körök, a heptóda első rácsára, a harmadik rácsára a triódával felépített oszcillátor, melynek a hangoló rezgőkörei szintén a hullámváltón vannak. A heptóda anódja az első sávszűrőre csatlakozik, amely kiszűri a KF frekvenciát. A sávszűrő szekunder tekercse a második ECH heptódájára csatlakozok, pentódának kötve, és a KF jel erősítését végzi, melynek rácsa az EBL egyik diódájáról kap AGC negatív előfeszültséget. A heptóda anódja a a második KF sávszűrőbe megy. Ennek szekunderéről kapják az EBL diódái a jelet, az egyik az AGC t állítja elő, a másik a demodulátot. Ide csatlakozik a hangerőszabályzó poti, melynek a közepéről a hangfrekvenciás jel a második ECH triódájára kerül. A trióda anódjáról a jel az EBL rácsára megy, az anódjára a kimenő trafó. Az EBL pentódájának, és a második ECH triódájának negatív előfeszültségét a táprész negatív ágában levő 47, és 33 ohmos ellenállás állítja elő. Ennek megfelelően a 2×32 µF -os pufferkondi házát (negatív pólusát) a sasszitól szigetelni kell.
Nos, egy fórumtárs szaki tanácsára hallgatva csináltam a rádióhoz egy antenna csatolót hosszú vezetékből(4-5m) és a rádió saját kimenő kondijából(2,2n). A középső ECH 21 cső egyik rácsán ami a bal oldali leválasztó tekercs(ha jól veszem ki az az egyik sávszűrő) , 1-es számú mérőpontnak jelöltem, az a bizonyos "rádiósúgás" jelent meg. Ha a forgókondit tekerem némi változást is mutat a varázsszem. Ha csak mozgatom rajta a "csatolót" sérceg és ugrál a varázsszem. A másik ECH felé menve már hasonlót nem tapasztaltam. Kíváncsi vagyok a véleményetekre/véleményükre.
Néhány fizikai kép
:
Szia!
A feszültségek hogy alakulnak a rádióban? Az anódáramok mekkorák? Az anódáramot az anódok munkaellenállásán eső feszültségből kiszámíthatod. Amelyik cső kevesebb áramot vesz fel az előírtnál, az rossz, vagy valamelyik rá kötött ellenállás értéke nőtt meg. Természetesen érdemes mérés előtt az összes ellenállást kimérni. Csatolókondenzátor is lehet szakadt, sőt még zárlatos is. Hibakeresést kell végezni, nem drótozgatást! :yes:
Legelőször is mindíg a feszültségek (és a rajzon levő áram adatok) ellenőrzésével kell kezdeni, hogy meg vannak-e minden elektródán.
A hibakeresést (ha a feszültségek rendben levőnek látszanak) hátulról kezdeném. A végcső EBL21 rácsát megérintve, brummot kell hallanod a hangszóróban. Ha ez nincs, tovább lépni addíg nem lehet, amíg ez nem hallatszik. Ha ez jó, akkor a második ECH trióda rácsát megérinve erősebb brummot, búgást kell hallanod, amit a hangerőszabályzóval szabályozni is tudsz. Ha ez már jó érzékeny, akkor az EBL (rajzon) baloldali dióda anódját megérintve valmilyen KH adót, vagy jellegzetes KH zajt kell hallanod, a hangerő potival szabályozhatóan. A drótos megoldásodnak nem sok értelme van a KF fokozatban, mert a KF sávban esetleg fogható adók vételéhez az érzékenység nem elegendő, Ha a keverő fokozat nem megy, akkor a KF -ek hangolását csak egy erre a sávra hangolt oszcillátorral tudod megoldani. A további vizsgálatokhoz köss egy multimétert az EBL másik (a rajzon jobboldali) diódájának anódjára. A második ECH rácsát testre zárva koppanást kell hallanod, és a multiméteren fesz csökkenést látnod. Az első ECH triódája rácsának testre zárásával leállítod az oszcillátort, (már ha megy) szintén koppanás. Ha nem megy, akkor ellenőrizd a feszültségeket a triódán. A hosszú drótodat, meg a bemeneti antenna csatlakozóba dugjad, A KF sávszűrőinek hangolását csak akkor kezd el, amikor a rádió már életjeleket ad, vesz állomást, pl Kossuthot 540 kHz, csak gyengén. Ekkor kezdheted a KF tekercseket hangolni, többször végig menve, óvatosan, max kitérésre (értékre) az multiméteren. Ha már minen jónak tűnik, akkor húzhatod be az állomásokat a helyükre a sáv aló részét a tekercs vasmagjával, a felső végét a trimmer kondikkal. ezt is többször finomítva meg kell ismételni. Ezek után a modulátor körök hangolása hasonló képpen. A vasmagok hangolása előtt érdemes a viaszos rögzítést pákával óvatosan felmelegíteni.
A feszültségek úgy ahogy stimmelnek. Beszkennelt képen ceruzával ráírtam az értékeket.
A hangok megvannak úgy és ott búg és koppan ahogy leírtad. Egyedül az EBL bal anódján nem hallok KH zajt.(Ha a KH zaj a rádió súgását jelenti.) Az nem volt még tiszta, hogy melyiket értetted első ill. második ECH-nak. Végülis mindegyiken megcsináltam a testre zárást. Azon rácsán amelyik középen van a rajzon: ott kopp és elhallgat az alap búgás. Még a varázsszem is hunyorít ![]() A baloldalin: csak kopp. A multiméteres méréssel nem jutottam semmire. A szkennelt lapon is látszik, hogy 0,6V van rajta és az sem csökkent.
Szia!
A jelzett két helyen mitől van ilyen nagy feszültség?
Szia!
Sajnos nem tudom Nincs ötleted?
Azt még nem emítettem, hogy a sasszin is mérek fázist a fázisceruzával. Az normális?
a 160-190-es vonalon normális a feszültség? Mekkora áram folyik a csőbe?
A 160-190V jó.
3-3,5mA között váltakozik a csőbe menő fesz. Most viszont a 139V helyett 51V-ot, a 214V helyett 183V-ot mértem. Egyre nagyobb rejtély a számomra. Főleg a 139 kontra 51
Mindenképpen áramot is kellene mérned. Először lehet, hogy a műszered rossz helyre testelted, azért voltak fals értékek.
Lehet még olyan is, hogy valamelyik kf-trafó vagy valamelyik bemeneti tekercs szakadt meg, esetleg kondenzátor zárlatos.
Még a kondenzátorok ellenőrzésével kezdtem az egészet. Nem találtam zárlatosat.
A KF trafók azok amelyekre 200p -s kondi van kötve mindegyik oldalára? Kondistól van az alumínium henger ház alatt? Én legalábbis azokat a kondikat nem találtam a sasszi alatt.
Az árnyékoló serleg alatt vannak a kf tekercsek. Cseréld meg a két egyforma csövet. Arra mit csinál?
Próbáltam, változatlan a helyzet. Ráadásul plusz kettő van még belőle. Az egyik olyan, hogyha a középsőt cserélem ki rá akkor elhallgat a rádió, nem is búg tök süket lesz. A másik szintén az alapbúgásos helyzetet hozza ki a szerkezetből.
Problémám a következő: Van egy Unitra Diora Elizabeth Hi-Fi tipusú rádiós erősítőm, és a jobb oldala kb harmad akkora hangerővel szól, mint a bal oldal! És NEM a hangfal a gubanc forrása, mert direkt megcseréltem a két hangfalat, és a probléma ugyanúgy fennáll! Szeretném ezt megjavítani, hogy élvezhető legyen a rádió/zene hallgatás ezen az erősítőn! Ebben szeretnék segítséget kérni! :hide:
|
Bejelentkezés
Hirdetés |









: 




