Fórum témák
» Több friss téma |
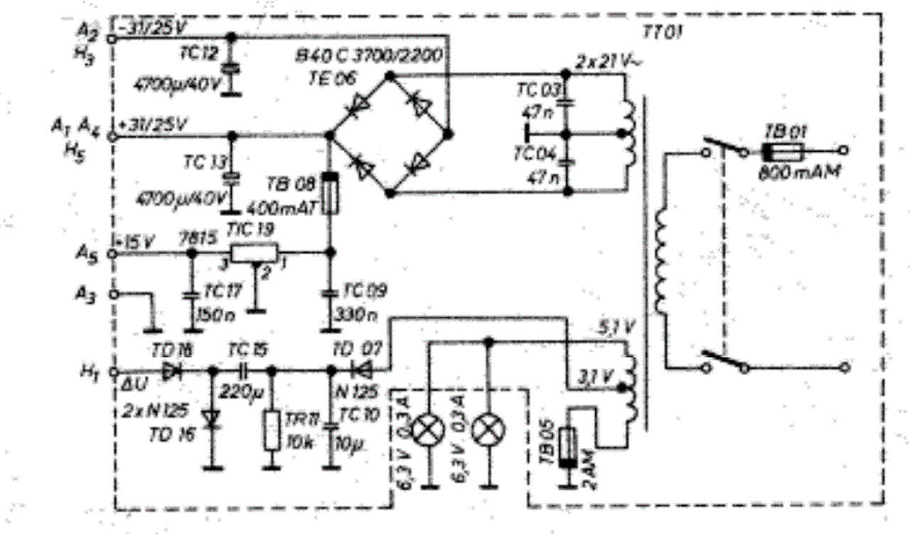
Alapból ez a rajz se jó. Azért nem megy neked se. A diódahíd rosszul van benne.
De hát évek óta így megy és most jelentkezett a hiba .
Ezzel a kapcsolással amit linkeltél? Mert itt szerintem csak nyomdai hiba van, de fizikailag rendesen van megépítve.
De akkor mitől 55v a feszültség a testhez viszonyítva mérem?
Szia! Azt neked kell megadni milyen pontok között mérted a feszültséget. Hivatkozhatsz az általad mellékelt rajz csatlakozási pontjaira is. Ismered a viccet amikor a kapitány leszól a gépházba: - Mennyi?
A hozzászólás módosítva: Szept 18, 2014
A +31/25v és az A3 valamint -31/25v és az A3 között
Értelek. Ez egyúttal azt is jelenti, hogy A1-A2 között 110V mérhető?
Szerk.: kijavítottam a rajzot A hozzászólás módosítva: Szept 18, 2014
Igen a rajzon már látom a híd a helyén valóban így jó de ha most vissza rakom birni fogja a nagyobb feszt?
A TDA7294-et a mérésed szerinti feszültség tönkre teszi.
A transzformátorból ugyan elő lehet ±55V-ot állítani, de ahhoz valami szándékos, vagy véletlen beavatkozás szükséges. Az 55V polaritásáról még nem írtál semmit, az A1-A3 feszültségmérés helyre tenné ezt a kérdést.
Ezt a tápot nézd át, lehet pár dolog. Először mérd meg A3-hoz képest a szekunderek AC feszültségeit, praktikusan az egyenirányító hídnál tudsz csatlakozni.
Mit mondanak a vájtfülűek erről az IC ről, milyen hangzásra?
Nyertél! Nem találok A3 hoz viszonyítva semmi feszültséget ez krimi!
Ismételten írok .az előbbi téves. Lemértem a szekunder oldali feszek is 50v felett vannak. Most nem értem, a rajz szerint 31/25 v értékek szerint nem egyeznek?
A hozzászólás módosítva: Szept 18, 2014
A mérőeszközöd nem csal? A rajzon lévő teljes tápegység a birtokodban van? A 8515 stabilizátor kimenetén [A5] mennyit mutat?
Én nem sok reményt fűztem hozzá vájtfül vagyok, de kellemes csalódás.
Nem rossz a műszer .most mértem a stabilt nincs feszültség.azt szeretném kérdezni mivel tudnám helyettesíteni UA7815UC
Az 50V feletti szekunder feszültségből óhatatlanul 70V feletti egyenfeszültség lesz az egyenirányító utáni pufferkondenzátorokon. A méréseid helyessége tovább is kétségeket támaszt.
A feszültség-stabilizátort ne kösd ekkora feszültségre mert nem fogja elviselni. Amennyiben a transzformátor ténylegesen ekkora szekunder feszültséget szolgáltat, az nem lesz jó a TDA7294-hez.
És a rajzon látható végfokkal vajon működne?
Most valószínű a stabil kiforrasztása és vissza forrasztása megoldotta a problémát mert helyre álltak a feszültségek és köszönöm a segítségedet.
üdv :aramis
Üdv mindenki! Mennyire lehet ezt az ic -t tda7294 híd huzamosabb ideig határon hajtani? 2 db 8 (Valóságban 10-10 ohm a kábelek vastagsága és hosszúsága végett) topládát szeretnék vele kihangosítani, az erejével nincs gond, és nem is melegszik számottevően mivel a hűtése és a borda nagyméretű,valamint az ic is jól felfekszik rá, mivel hűtőkengyel leszorítást alkalmaztam.
Szia.
Pont a határon disszipál keveset az IC, ùgyhogy szerintem kevesebb terhelést jelent neki, mintha fél hangerön járatnád. Én most csak a disszipációt néztem.
Enyém ment 24 órát a következő körülmények közt:
bement: 1kHz szinusz, kimenet: 8 Ohm műterhelés, rajta 33Veff, tápfeszültség: +- 26 V. De nálad jellemző, hogy magasabb feszről járatod ezeket a kis aranyos IC-ket, így a tiédre nem mondom ki az áment amíg el nem árulod, hogy mekkora a tápfeszed.
Köszi szépen, természetesen egy 12 voltos (8cm) ventillátor (nem teljes fordulaton) szellőzteti a bordát.
Üdv! A tápfeszem ~AC (23V) (DC) 30-32 v, már "kinőttem" abból hogy "pláne" a hídnak 43-44 voltokat tekerek
Amit írtál az viszont bíztató dual monó híd a kiépítés, mindkét oldal egy beag 23 v AC (szimmetrikus) tápról megy külön külön egyenirányítva. 20-20 ezer mikrofarad. A hozzászólás módosítva: Okt 3, 2014
A "kis" díszvirág
8.5 kg os 750 VA-S "szörnyeteg" Mikor leemelem a polcról az erősítőt újra előbújik a gerincsérvem Amúgy műtehernek mit használtál? Érdekel ez a méricske téma, gondolkoztam rajta hogy majd oszcilloszkóppal figyelve a kimenetet csinálok én is ilyen tesztet. A hozzászólás módosítva: Okt 3, 2014
Műterhelésnek 4db. 4 Ohm / 100W huzalellenállást. Bővebben: Link
Mivel hűthetem?Gondolom a hőt erről is el kell vezetni.
Ha nincs "csúcsra járatva", esetemben ~70W-ot fűtött darabja, akkor ez elvan a természetes konvekcióval is, nem kell megfújni.
Amikor sokszáz wattos PA végfokokat mérek vele, akkor bedobom egy vödör desztilláltvízbe. Így sokszorosan túlterhelhető a huzalellenállás.
A "huzamosabb ideig" és a "határon hajtani" fogalmak nem elég konkrétak.
Ennek ellenére (sok más eszközhöz hasonlóan), lehetőleg olyan viszonyokat kell választani/teremteni, ahol az elvárt üzemi körülmények mellett, megbízható a működés. Végfokok esetében, viszonylag hamar beáll egy egyensúly (hőmérséklet), ami azután már nem változik számottevően. Ha ez a meleg-tömeg nem károsítja az áramkör egyetlen részét sem, akkor szinte korlátlan ideig működhet. A gyári készülékek egy jelentős részének éppen az a baja, hogy több kompromisszumot is együttesen alkalmaznak, ami kritikussá teszi a határértékek elérését. |
Bejelentkezés
Hirdetés |











