Fórum témák
» Több friss téma |
Közben kotorásztam itthon, és találtam olyat, ami ketté van osztva, tehát 100k-s, és 50k-nál is van egy lába. Elég gyártóspecifikusnak tűnik, valószínűleg amit én keresek, azt nem lehet kapni...
Gondoltam. Köszi az infót, lehet, hogy hentereg valahol a pincében egy hasonló rádió, majd megnézem. Most azt találtam ki, hogy kiváltom 33k-s ellenállásokkal a tolópotit, a jelet meg direktre kötöm, így olyan, mintha padlón lenne a hangerő, és ez elé a tákolmány elé meg bekötök egy hagyományos sztereó potit, aztán kész...
Szerencsére a többi poti hagyományos, azokat lehet cserélni forgóra... :yes:
Nem szedem szét, mert kiderült, hogy nincs is olyan rádióm... :no:
Valami nagyon hasonló, régi, német rádiók henteregtek az egyik sarokban, azt gondoltam, akad köztük Vidi is, de csak egy fadobozost halásztam elő, egy Disco Baby-t... ![]() Viszont szépen szól a szélessávú Unitrákkal, és fogja a CCIR-sávot, úgyhogy be is izzítottam a mühelyemben, hogy ne unatkozzak...
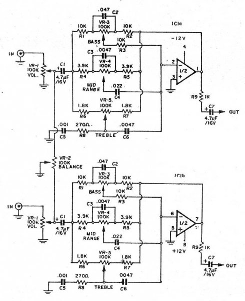
Hali. Elkészítettem egy kapcsolás alapján ezt az alkonyat kapcsolót, csak az a kérdés hogy jól kötöttem-e be a potit?
Üdv!
Hol lehet kapni, jó minőségű, kinézetű potmétersapkákat?
Hát, elvileg elektronikai szaküzletekben. Meg a börzén van egy bácsi, aki ilyeneket árul, igaz, azok régiek. Ha tényleg profit akarsz, akkor csináltatni kell, esztergálni aluból... :yes:
Nézz szét ebay-en, nagyon olcsók, és a gyári készülékekhez valók (nagy része), azok jól néznek ki - muszáj egy gyárinak jól kinézni
Sziasztok!
Azt szeretném megkérdezni hogy a balance potmétert hogyan kell bekötni ? Egy mono A-s 100kOhm-osat kötöttem be a hangerőszabályzó sztereo B-s 47kOhm-os elé . Úgy hogy a két szélsőre (forgó poti) a bal és jobb csatornát,a középsőre tehát a csúszkára a testet . A végeredmény a két szélső helyzetben nagyon gyorsan szabályoz . Rosz a bekötés,vagy a poti értéke ?
Hangerőt úgy kötsz, hogy a bemenetre kötöd fix ellenállásként, a csúszkára a szabályzott jelet, ami ugye továbbmegy… A balansz meg keresztbe (amikor egy egyiket leszabályozod, a másikat úgy engeded felfelé). Ha "nagyon gyorsan szabályoz a vége felé", akkor pedig tegyél lineárist.
Nem jó a bekötés.
Sztereo potit kell bekötni, a csuszkákra a bemenetet, a kimenetet egyik végére, így úgy viselkedik mint egy hangerőszabályzó, no most a másik végét azt kösd rá arra a végére amiről mén tovább a jel, de fordítva, tehát megkeresztezve. Nem papírról nézem, csak most gondoltam így, esetleg valaki megerősíthetné.
És milyen értékű kell ? A hangerőszabályzó elé vagy után kössem ? Egy Quad 405-ös erősítőhöz kellene,a hangerőszabályzója 47kOhm B sztereó .
Használj kisebb ellenállású balansz potit. Akkor nem lesz olyan gyors a szabályozás.
Bekötési rajz a lap végén: Bővebben: Link
Nézd, mit rajzoltam Neked
Egy NE5532 köré épült hangszínszabályzón is úgy van bekötve a balansz, ahogy Te kötötted előszőr. Csatolom. Ugyanolyan értékű, mint a Tiéd.
Jó a bekötés, és nem kell sztereo poti. Az is jó, amit Te írtál, úgy is meg lehet oldani, csak nekem azért nem tetszik, mert így mégegy potin végigkergeted a hangfrekis jelet, a sima potinál meg csak a GND-t tolod rá a jelre, így szabályozol vele, arról nem is beszélve, hogy a sima poti jóval olcsóbb, mint a sztereo.
Szerk.: Kadarist kolléga linkjén is az egyszerű, általam is preferált megoldás látható, csak nem 100k-val, hanem 10k-val. Az viszont nagyon lényeges, hogy csak lineáris lehet, mert ugye egy logaritmikus érdekesen, kb. 2/3-1/3 arányban szabályoz középállásban...
Jónapot minden fórumozónak!
Valaki tudna ötletet adni, hogy milyen potmétert vegyek arra a célra, hogy egy pillangószelep állását nézzem vele? Tehát elég sűrűn mozogna. Milyen fajta potméter bírná az ilyen igénybevételeket? Kaptam ismerősömtől S*zuki pillangószelep állásmérő potmétert. Jó nagy és rugósan visszahúzza magát, de 450K-s nekem pedig 100K-s kellene, tehát az nemjó.
Üdvözletem Fóumlakók
![]() Olyan amatőr kérdésem lenne, hogy an egy ilyenen erősitőm(mellékelem lent), és van egy 6 lábu sztereo 100k -os potim. Meg tudnátok mondani hogyan kellene bekötni mer nem boldogulok vele. A válasookat előre is köszönöm. Üdv: bander
Hello!
Házimozi rendszeremhez való erősítőt, és hangszórókat akarnám használni más készülékhez, de az erősítő a ládába van építve, és nincs rajta hangerőszabályzás. No, én megcsináltam, raktam rá, először csak az első hangszórókat szabályzó 2 toló mono potit, 220K ellenállású, de kevés, ha maximumon van, akkoris eléggé hangos. hogyan tudnám kimérni mekkora kellene neki? Próbálkoztam ellenállást hozzátenni, de ez már (gondolom) legyengíti az áramot is, így alig szólt egy 20K-s ellenállás mellett. Amúgy az erősítő elé kötöttem, ahol bemegy a jel az RCA kábelekből. Jah, és ez a csúszó potinál a földet nem a 3. lábhoz kötöttem, hanem a külső részén van fém, és annak a lábához. Remélem érthetően írtam, hellyel-közzel. Nemrég óta foglalkozom elektronikával, így ezértis kérnék segítséget, és tanácsot.
Bocsi, ha értelmetlen a kérdés. van egy 2,2 KOhm-os potméterem, de 3 KOhm lenne a max ellenállás. betennék mellé egy ~700 Ohm értékű ellenállást, az nem baj, ha nem megy le az értéke ez alá (1-3 K Ohm között kellene mozognia). A potméteren van még egy külön kapcsoló (sima I/O), ami egyik végállásban kikapcsol.
Hogyan tudom azt megoldani, hogy levihető legyen 0 Ohm-ra az egész?
csősztök!
vki modja már meg nekem h hogy kell egy tl082-es ic-t hozzá kötni egy B10k-s potihoz és ezután ha ez meg van akkor ezt ha össze van kötve a poti meg az ic akkor ezt hogy lehet 4tranzisztorra rákötni??kapcsolási rajz jölenne vagy egy fénykép!! előre is köszi
Gyorsan!
Valami konkrétabb leírás?
Szia!
Hangerőszabályzáshoz kellene a poti? Mire fog szolgálni a 4 tranzisztor? Kicsit bővebben, ha lehetne.
tudtok nekem küldeni egy msn-cimet?
és ott átdobálom a képeket és onnan már fogod tudni
Ez eléggé zűr zavaros amit kérdezel de ha egyértelműbben kérdeznéd talán jobban értenénk a kérdést és akkor jobban is tudnánk rá válaszolni !
aj aj ez egy fóum itt nem divat az msn ! |
Bejelentkezés
Hirdetés |




Szerencsére a többi poti hagyományos, azokat lehet cserélni forgóra... :yes: 






Valami konkrétabb leírás? 




