Fórum témák
» Több friss téma |
Üdv!
Hát ennyire konkrétan nem volt meg a csati bekötése, én direktbe forrasztottam be a panelra egy rca kábelt ![]() Gondolom most minden Commodore-s a fejéhez kapott ![]() No de a baj itt nem kevés. Feltünt hogy az U1 nem reagál a gombnyomásokra. Legalábbis én úgy gondolom hogy ha nyomom a gombokat, akkor U1-nek ezt közölnie kellene U6 felé az IRQ, de legalábbis D0-D7 vonalon. De nem csinált semmit. Ekkor jobb hijján U1 20-as lábára (Vcc +5V) menő fóliát átvágtam. Főleg mert a gép áramfelvételét is sokalltam... No most fognak megint a fejükhöz kapni a népek De bejött! Most már van kép, van minden, csak épp billentyüzet meg Joy nincs, nincs ami kezelje. Szóval a napi kérdés. MOS6526A IC-t hol lehet venni? Ha lehet ilyet kapni egyáltalán?
Nézz szét a http://www.vatera.hu-n, mintha az előbb láttam volna ott ilyen IC-ből eladó darabokat :yes:
Sziasztok
ITT van egy ilyen nevű (6526A-1) valami C64-hez, de nem írja, hogy mi is ez tulajdonképpen... A kikiáltási ára 5 forint... Amúgy jó kis gép, nekem is van egy komplett, monitorral, floppyval, joyokkal, a mai napig hibátlan... TaTa
6526 chip : komplex interface adapter (CIA)
16 egyenként programozható I/O vonal 8 vagy 16 bites handshaking 2 független, összeköthető 16 bites belső óra 24 órás (AM/PM) óra, programozható alarm jelzéssel 8 bites shift regiszter a soros I/O porthoz 2 TTL terhelhetőség CMOS kompatibilis I/O vonalak 1 vagy 2 Mhz-es órajelllel működik szóval a maga nemében jó kis chip!
Srácok, tudna valaki segíteni abban, hogy bontott C64-es billentyűt honnan tudok szerezni ? Nagyon sürgősen kéne a sajátom megjavításához. Minden megoldás érdekel.
Sziasztok,ha még építeni akar valaki,van üres C64 nyákom,sőt akár építőkészletben is lehet,adok hozzá mindent.
Kicsit drágább mint egy kész C64,dehát a legó is drágább mint a játékautó ![]() Én C64 és commodore őrült vagyok a mai napig. http://motohacker.fw.hu
Helló!
Van még egy olcsó megoldás. FPGA-ból kellene összerakni a C64-et. Több érv is e megoldás mellett szól. Az FPGA-knak nagy a sebességük (akár 400MHz-is) lehet, nomeg ha ezzel a kütyüvel csinálja meg az ember a klónozást, az FPGA-n kívül nem is kell nagyon más IC. Ha valakit érdekel a dolog, elő tudom bányászni a C64 VHDL kódját, amit csak be kell tölteni és kész is a C64. Üdv: MaGor
Pontosítanék egy kicsit,van egy FPGA alapú C64 alaplap az un. Cone.
Ez a nálunk majd beszerezhetetlen Altera gyártmányú FPGA családra épül. A nálunk elterjedtebb Xilinx FPGA-ra a VHDL kódot némiképp konvertálni kell. A dolog másik szépséghibája,-ha jól emlékszem- a legolcsóbb FPFA panel jelenleg 32ezer+áfa. Ezért kb csomagtartónyi C64et lehet venni komplett,de IC szettet is tudok adni tucatszám. Aki csak szórakozni akar vele,az vegyen inkább egy C64DTV joystick-ot,lehet még kapni,párezer ft. Az is teljes értékű C64,csak bővítéseket nem lehet beledugni.
hello
érdekelne a vhdl core-ja... fel tudod tenni valahová?
Szia !
Engem is erdekelne a VHDL kod,ha megosztanad
Szia ! Elküldenéd ezt a C64 VHDL kódot az FPGA-hoz ? Továbbá, érdekelne minden okosság erről a dologról: milyen típusú FPGA kell hozzá, mi kell még ezen felül (van bontott RF modulátorom, meg egy hibátlan billentyűzetem, stb.), esetleg van-e valami terv vagy rajz az FPGA C64-hez , ilyesmi. Szívesen megpróbálkozom az utánépítésével. PIC-ezek, Atmelezek, meg százezer éve komputer hardverek közt forgok, meg rádióamatőrködöm, tehát nem idegen a téma. Köszi a szívességet.
Sziasztok!
A VHDL kódot én is egy barátomtól kaptam. Egyébként a forráskód a Bővebben: Link oldalról származik. Mellékelem a kódot. Ha esetleg valakit érdekel a PIC16F84 vhdl leírása az szóljon, mert az is megvan. Üdv: MaGor
Köszi szépen!
a 18f84 ha jól emlékszem az opencores.org -on is fennt van rengeteg társával egyetemben, nézzetek körül, sok hasznos dolog van ott
Sziasztok!
Nekem van a padláson három C-64-esem. Ha valakit érdekel, kis pénzért eladnám. Minden jót! Pista
Sziasztok!
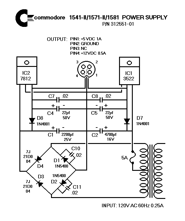
Van aki megtudna mondani, hogy a 1541-II -es floppy meghajto tapjanak mi a bekotese? 4db erintkezo van. Ill hany V-os a tap ami kell hozza. Udv:Gabor
Üdv!
A képen megtalálod amit kerestél.
Találtam egy kincset ha valakit érdekel:, ingyen elvihető c64
COMMODORE
Szia Mineral! koszonom szepen az infot!
![]()
Emulátor, szimulátor szoftver nem válna be?Elég sok szoft letölthető.
Hello Masi1!
Haat igazandibol ha mar van otthon eredeti +4esem akkor szivesebben jatszom, vagy probalkozom azon mint PCn. Mint erdekesseg keppen erdekel ![]() Anno azzal kezdtem jo kis retro cucc ![]() PC-re is vannak +4es prgramjaim de az nem olyan izgi szerintem ![]() Udv:Gabor
Sziasztok!
Bocs mindenkitől ha hülye kérdést teszek fel, de még csak most tanulgatom az elektronikát AZ lenne a érdésem hogy megoldható e az ha egy c64-esből kiberhelem a megfelelő IC-t és beültetek a helyére 1 EPROM-ba égetett saját progit?(Szóval a BASIC helyett valami mást)? Kérlek aki tud segitsen előre is köszi: Róka
Megoldható, de sokkal egyszerűbb ha egy cartridge-be rakod az adott programot.
Létezett(ik) olyan eprom égető szoftver amivel egy ilyen cartridge tartalma elkészíthető. Floppyról betölti a programot amit futtatni akarsz és elkészíti hozzá betöltő rutint is és beégeti egy EPROMba.
Szoval ismered a 6502-es programozását?Egyébként CP/M es létezett hozzá bövitményként.
Nagyon köszönöm a gyors válaszokat rendesek vagytok
AZt hiszem a Cartridge-nél maradok.Azt könnyebb elkésziteni Üdv: Róka
Sziasztok,
nosztalgiából keresek bármilyen állapotú C64-et, ésszerű keretek között fizetnék is érte. Ha valaki tud ilyet dobjon egy mailt légyszi. Köszönöm
sziasztok!van egy c64es flopy meghajtóm!gondoltam megnézitek!
Szia, itt nézzél szét: http://www.vatera.hu/listings/index.php?pt=3&q=C64
|
Bejelentkezés
Hirdetés |













