| Fórum témák 
 
 » Több friss téma | 
				Ha van egy feszültségmérőd, mérd meg az akkuk feszültségét rendszeresen egyesével, töltés előtt, és után is pár nap mulva. Esetleg ha egyik másik jobban el van használódva, az így kiderül. Egyébként a Válasz "gomb" ott van az üzenet(ek) jobb felső sarkában, illik használni... 
				Meleg helyen hamarabb szulfatosodik es onkisul az olomakku. 5-15°C kozott tartosabb. 
				Való igaz, ha a másodlagos szulfátosodás elkezdődik természetes, hogy az önkisülés is rövidebb idő alatt következik be. És az is igaz, hogy hűvösben (nem pedig hidegben) jobban tárolható. Szóval ha választani kell, hogy kb a 20°C -os szobában/folyosón akárhol, vagy kint a szabadban/féleresz alatt akárhol a 0°C vagy mínusz °C -ban tartjuk, még mindig azt mondom az első verzió az előnyösebb. Ha vesszük ugyanazt az akkut akkor az 5°C -os akkunak kissebb a kapacitása mint egy 20°C -os akkunak, ami szintén csak üzemszerű, ezért csökken is a megtehető táv, és nem képes hirtelen annyi áramot sem leadni, ezért érezhető úgy, hogy "nem húz úgy" a bringa, mint mondjuk tavasszal/nyáron... A másik pedig, ha használtuk és utánna feltöltjük normálisan, a szulfátosodás is nehezebben alakul ki. Ami valóban növelli a szulfátosodást és ezáltal az önkisülést az a kb 35-40°C feletti hőmérséklet.... 
				Sziasztok Olyan kérdésem lenne hogy van egy 36v elektromos kerékpárom ami nem mindig indul el vagy ha el is indul rángat a kerék. De viszont a kereket fel emelve semmi gond nincs vele. 
				Hali! Ha menet közbe tekered a pedált, akkor is rángat? 
				Bocsi, kicsit OFF szerű leszek : Most már kezdem kapisgálni, hogy az általam "kinézett" villanybringa-szett adatai között miért 30-70 km hatótávot írtak ...   
				Ráadásul azt még el is felejtettem írni, hogyha folyamatosan "maxigázon" mész, a hatótávolság is kevesebb lesz, mint ha csak "félgázon" mennél folyamatosan. De gondolom azért érthető volt e nélkül is.				 A hozzászólás módosítva: Dec 29, 2017 
				Vannak a "rásegítéses" villanybringák, az enyém is (Tornádó), itt nem tudom hogy értik a hatótávot. Az nyilván attól függ, mennyit segít rá az ember, ettől függően mennyi erőt veszünk ki az akkuból. Esetleg a 30-70Km-ben ez is benne lehet.						 
				Próbáld meg, hozzá sem nyúlsz a gázkarhoz, vagyis egyáltalán nem tekered. A pedált elkezded tekerni a bicikli el indúl. Ebben az esetben a gázkart/tekerőt  kell kicserélni. Nem nagy munka.				 A hozzászólás módosítva: Dec 29, 2017 
				Én azért még nem kezdenék "gázkar" cserébe, míg ki nem mértem, hogy valóban hibás -e...						 
				Sziasztok! Építettem egy elektromos rollert adott egy szénkefés motor meg egy pwm szabályozó gyakorlatilag az a gond hogy induláskor nagyon megugrik az áramfelvétel és ez szeretném szabályozni valahogy. Igazából arra a következtetésre jutottam mivel a potméter kap egy 5 voltos feszültséget igy annak az állásából van szabályozva a motor tehát ha lenne egy kis elektronika ami a addig amíg az áramkörben az áram nem ér el egy bizonyos szintet (mondjuk legyen most 50A) addig a potméter által adott feszültség nem változik. Ha viszont eléri az 50A-t akkor egy tranzisztoron keresztül elkezdi csökkenteni a feszültséget így a vezérlő kevesebb feszültséget kap így mérséklődik az áram a rendszerben. Igazából egy főági söntről (ekkora áramnál akár egy bizonyos hosszúságú vezetékről) eső feszültséget fel lehetne használni a tranzisztor vezérléséhez. Ez eddig a gondolatom lehet, hogy nem jól gondolkodok de éppen ezért kérnék segítséget, hogy ez így megvalósítható-e illetve ha igen akkor kellene egy megoldás is   
				Nem tudtam követni a gondolatmenetedet. Előljáróban annyit kérdeznék, a potméter lineáris típus? (Van ugyebár logaritmikus is.) Egyébként az természetes, hogy induláskor nagy az áramfelvétel, főleg ha soros motorról beszélünk. A hozzászólás módosítva: Dec 29, 2017 
				Igazából nem tudom de itt mindegy is, hogy lineáris vagy logaritmikus mert csak akkor lenne a potméter által küldött feszültség csökkentve ha az 50A-t meghaladtuk. Megpróbálom egy kicsit értetőbben elmagyarázni mire gondolok. Kitaláltam egy másik megoldást is igazából ezt egy arduinóval le is tudnám programozni egyszerűen. A lényeg tömören hogy a vezetéken eső feszültség arányos az átfolyó árammal ha a beállított feszültséget eléri az áramvédő elektronika bemenete akkor a pwm szabályzó jelkábeléve sorba kapcsol egy ellenállást ezáltal csökkentve a teljesítményt --> kisebb lesz az áram a rendszerben  sőt igazából ezt több lépcsőbe is meg lehet oldani elvileg 12 ellenállást is bele lehet tenni. Csináltam egy egyszerű ábrát a gondolatmenetemhez    
				Szerintem mielőtt barkácsolni kezdenél, csak ellenőrizd milyen poti szabályozza a mostani áramköröd. Ha logaritmikus, akkor cseréld ki lineárisra. Valamint a kapcsolásodat is bemutathatnád, mert akár az is elkpzelhető, hogy ha valóban lineáris a mostani poti, de a kimenet szabályozás mégsem az. Másrészt már leírtuk párszor, a motor indítási árama akár tízszerese is lehet a normál üzemi áramnak, ami normális jelenség. Harmadrészben pedig ha arduinora akarod átültetni az egészet, teljesen felesleges a mostani szabályozóval foglalkozni, azt az egészet ki kell váltani a procis rendszerrel, ami kb annyiból áll, hogy a proci a potméter feszültségét olvassa, majd a jellel arányos PWM jelet adja ki egy teljesítmény FET -re, amivel a motort vezérled. A bemenő és kimenő jel közötti összefüggést úgy programozod ahogy neked tetszik. Ha mindez még mindig nem elég, hozzáadsz egy HALL szenzort, és így már áramgenerátoros üzemmóddal is ki van egészítve a vezérlés... 
				Azzal tisztában vagyok hogy nagy az indítóáram igazából nekem az egész csak az akkuvédelem miatt kell de ha az akku elviseli ezeket az áramtüskéket akkor nem is lenne szükség a szabályzásra. Cilkikus 35Ah 2db. Induláskor mértem 150A-es  tüskét de ha ez nem veszélyes az akkura akkor nem szükséges. PWM szabályzó						 
				Nem mondom, hogy használ neki, de mivel ez nem állandó jellegű terhelés, ezért megengedett. Ha párhuzamosan van a két aksi, nem is érdemes foglalkoznod ezzel. Ha sorosan, és ennyire aggaszt ez a tény, akkor meg azt mondanám, hogy csak óvatosan a "gázadagolással". Egyébként nem tudom, hogy a gyári DC PWM motorvezérlőkben megoldott lenne e az ez elleni védekezés. Nem mernék rá fogadni, hogy igen... A hozzászólás módosítva: Dec 30, 2017 
				Ha mégis barkácsolnál, a soros vezérlőfeszültségbe épíett söntellenállással nem biztos, hogy sokra mennél, mert az csak áramot korlátozna, viszont itt feszültségvezérlés van gyanítom. Az áramérzékelést nem az aksiról jövő tápkábelen mérném, hanem a motor vezetékébe iktatott HALL szenzorral érzékelném. Ennek jelét egy NPN tranzisztorra (vagy fetre) vezetném, ami egy ellenálláson keresztül a test felé húzza a vezérlő bemenetet... Ennek kb olyan hatása lenne, mintha visszább vetted volna a "gázfröccsöt"... A hozzászólás módosítva: Dec 30, 2017 
				Igen köszönöm konkrétan erre gondoltam. Erre egy kapcsolást tudnál nekem mutatni elég ha sematikus nincsenek konkrét értékek. Köszönöm.						 
				Sziasztok Ellenőriztem a gázkart piros-fekete vezetéken 4.7v kap és teljesen elfordítva a gázkart viszont 3.4v mérek a fekete-zöld vezetékek között. Próbáltam a két vezetéket össze érintve de akkor is rángat a kerék. 
				Majd holnap rajzolok valamit, most csak tabletről vagyok...						 
				Előljáróban jó lenne tudnom, hogy a potméter három kivezetése hova van kötve, test és tápfesz közé a két széle? A közepe meg megy az IC -be? Hogy gyorsul a gép, ha a test felé tekered a potit, vagy ha a pozitív felé? És milyen IC -k vannak a panelen?				 A hozzászólás módosítva: Dec 31, 2017 
				Test tápfesz a két széle és ha gázt adok akkor a test és a középső láb között nől a feszültség. 3 ic-ből kettőt tudtam elolvasni SA555.						 
				De a potit szeretném kiváltani hallos gázkarra ha a gázkar tud nekem 0-5 volt közötti feszültséget kiadni.						 
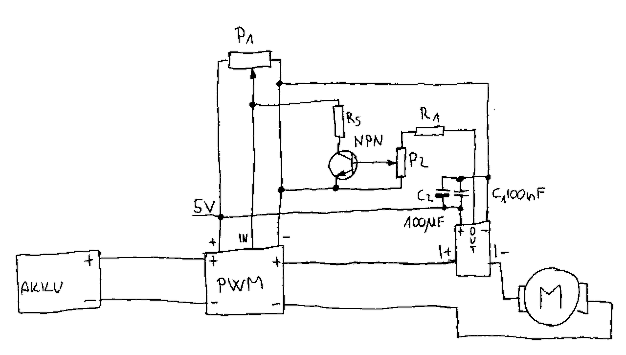
				Valami ilyesmire gondoltam első körben...						 
 
				Hello! Szeretnék építeni egy elektromos robogót, valami nagyon egyszerűt. Van egy munkaakumlátorom, 12 voltos, 80Ah. mindenképp ezt szeretném használni áramforrásnak. Motor gyanánt egy önindítót gondoltam bekötni, valamilyen szabályzással, láncos áttátellel. Muszáj erős motort beletennem, mert nem elektromos biciklit akarok, hanem erősebbet. A szabályzást szerintetek hogyan oldhatnám meg? először arra gondoltam hogy sorba kötök pár szilícium diódát, van itthon 3db, 160A-es, 0,6 volttal csökkentve a feszültséget a motron, ezzel a teljesítmenyét is jóval csökkentve. De ez nem lenne jó, szerintem, valami jobb kellene, de nem akarok sokat szöszmötölni vele, áramkört építeni mint a PWM stb. 
 
				Pedig ha nem maxigázon akarsz menni egyfolytában, akkor kénytelen leszel. De lehet vásárolni is. Ezekkel az önindítókkal csak egy baj van, nem folyamatos üzemre vannak tervezve, emiatt hamar melegszenek, és nagyon energiazabálók. Pontos adatot nem tudok, de el tudom képzelni, hogy folyamatos üzemben simán 100A felett is fogyaszthat, szóval nem biztos, hogy elég lesz az egy aksi. A PWM szabályozóval valamivel jobb a helyzet, mert azzal normálisan tudod csökkenteni a felvett teljesítményt. Bár rakétasebességre szerintem ne számíts... | Bejelentkezés Hirdetés | 








