Fórum témák
» Több friss téma |
Sziasztok!
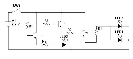
Elől járóban: tök amatőr vagyok, kéretik a gyagya dolgokat szájbarágósan elmagyarázni, cserébe nem teszem fel ugyanazt a hibát! (És persze utána olvasok!)LED-es lámpát szeretnék készíteni, SMD kivitel, minél kisebb legyen ![]() Két LED-et használnék, sorba kötve. (A led 3.7V - 900mA ) A táp 7,2 V (egy bivaj erős litium aksi). A LED-ek erősen melegednek, ezért hő-védelmet szeretnék beépíteni. (Mivel fémházban lesz ha mükszik , ezért valahol 40-45 C körül kellene lekapcsoljon.)Illetve terv, hogy a feszültség szabályozásával a fényerőséget is lehessen módosítani, így csökkentve a fogyasztást. (pl 3 - 4 fix fokozat + off) Mivel érteni szeretném amit csinálok, lépésenként szeretnék haladni. Ahol elakadok kérdeznék, illetve biztos javasoltok majd helyesebb irányt, mint amerre tartok. Mivel a táp 7.2V és a LED maximumon 3.9V- kaphat (itt a legnagyobb az I = 1000mA), ezért sorba nem köthetem, marad a párhuzamos kötés. Első körben elhagyom a fesz. fokozatokat. Kezdjük a LED-hez megadott tipikus feszültséggel (3.7V ahol 700 mA) A számolás után kijön, hogy 2.33 Ohm-os Ω ellenállás kell elé. (Egyes rajz!) Ez így ok. Akkor térjünk rá a hőmérsékletkérdésre. Én itt akadok el két okból is. Az egyik tranzisztor kérdés, a másik a thermistor. A thermistor (NTC) hőmérséklet hatására változtatja az ellenállását fordított arányosan. (Azaz nő a hőmérséklet, csökken az ellenállás.) A tranzisztor pedig megfelelő Bázis (nyitó) feszültség hatására kinyitja a Kollektort - Emiter felé. Olyan megoldást keresek, ami szakadást okoz (persze relé nélkül) és nem rövid zárral. Pl. kis piros led világit és a „nagy ledek ” lekapcsolnak. Valahogy úgy gondolom, hogy a fehér LED-ekhez egy tranzisztoron keresztül nyitunk feszt… (Kettes rajz!) A T1-est a T2-es nyitja meg, ha az R4 thermistoron nem jut elegendő fesz a T3-ra, ami a T2-est nyitja. Ha a thermistor adott pontra melegszik, akkor jut annyi feszültség a T3-ra, hogy kinyisson. Így remélhetőleg nem esik elegendő a R3-mon keresztül a T2-re. A fentiekből adódóan a T3 kinyit, a LED3 világit és boldog vagyok, mert nem égetem el a LED-eim és a nyákot .Hol hibázik a terv, mit kellene javítani - ha nem az egészet, és hogy kezdjek az értékek kiszámolásának, alkotók kiválasztásának?
Szia!
Hát itt van azért elég sok buktató. - Ha 3,9V lesz a Led-en, és a táp 7,2V, akkor elég tisztes veszteségek lesznek. (Legfőképpen kapcsolóüzemű szabályzó lenne a célravezető megoldás) - Ha mindenáron ellenállással akarod előtétezni, célszerű a két ledet nem párhuzamosan kötni, hanem külön előtét ellenállást alkalmazni, és így párhuzamosan kötni. Ekkor biztosítva van, hogy az áramok megosztása helyes lesz. - A mellékelt tranyós áramkör üzemképtelen. A T1 és T2 tranyó darlingtont alkot, ahol az R2 ellenállás szükségtelen. Viszont R3 ellenálláson keresztül, a T2 állandóan nyitva van, tehát T3 nem tud vele semmit tenni. Ha R4 az NTC akkor T3 kollektorát, a T2 bázisába kell kötni, nem a tápfeszre. De ezt eléggé össze kell hangolni az R5 ellenállással, hogy az R4 tényleg tudjon működni. Ennek ellenállás változása, -3,6%/fokC. Szóval, ha a hőmérséklet változására hirtelen szeretnél beavatkozni, akkor nagyobb erősítés kell, esetleg egy differenciál erősítő alkalmazásával, hiszterézissel.... T3 ilyen módu alkalmazása, erősen höfok és béta függő. Ha tényleg magad szeretnél töpölni vele, akkor Én a helyedben a TINA-val lemodellezném az áramkört, és akkor láthatod, a működést( és persze a bénaságokat is). üdv! proli007
Köszönöm a válszt!
Csatolok egy képet az alapjána, amit kiolvastam a válszodból. Ezek alapján nem értem, hogy mi indítja meg alapból a nagy LED-eket (L1, L2)? Ha R4(NTC)-n nem jut elegendő áramerősség a T3-ra, (alap eset, amikor nincs túlmelegedés), akkor T3 bázisán keresztül nem juthat semmi a kollektor fele, így nincs mi nyissa T2 (vagy a leendő darlingtont) .Írod, mindenképpen ellenállással: nem, nem mindeképpen, de akkor mivel? (Pl.: LTC3215)
Szerintem erről volt szó... először két tranyó lehetséges összekapcsolását kellene tanulmányoznod,
nem többet - hogy működjön is valahogy..
Szia!
Akkor egy lehetséges verzió: - Az R1-R4 Led előtét ellenállásokat, az áram igénynek megfelelően ki kell számítani. - 10kohm-os termisztorral működik, de az R3 ellenállás változtatásával a leszabályozási hőfok (itt 50fok)megváltoztatható. üdv! proli007
Helo mki!Müszerfalba probálok ledeket gányolni
.Ha párhuzamosan kötöm be öket ugy jo ?persze mind elé 1-1 ellenállás?egy részén 8 db máshol 11 db meg van ahol csak 2db lesz.a multkor probáltam igy 11 db-ot de jo pár ment a levesbe .vajon miért?3 mm-eshez jo ugyanaz az ellenállás mint az 5 mm-esekhez?elöre is köszi ha segit vki.
Szia!
Mit nevezel párhuzamos kötésnek? Ha a ledeket kötötted párhuzamosan és egy előtét ellenállás volt, az nem jó. De ha minegyik elé kötöttél előtétet és így kötötted párhuzamosan, abból baj nem lehet. Az ellenállást kiszámoltad? (Itt van egy program is hozzá) Nem a Led kabátja számít, hanem az áram, ami átfolyik rajta. Ha ez nem haladta meg a katalógus értéket, akkor nem lehet baj. Közönséges Led-eknél a 20mA-rel probléma nem lehet. üdv! proli007
Helo!köszi.Ugy kötöttem hogy mindegyik elé volt ellenállás 11 ledhez 11 ellenállás.az érték is oké volt.lehet hogy a ledekkel volt gáz?pár darab régebbi volt.mindegy hányat kötök össze ?ha van mindhez ell.?és az nem gáz ha külön fajták?
Hello!
Egyáltalán nem probléma, hogy hány és különböző, ha mindnek külön ellenállása van. Gondold át, hogy ez 11db egymástól teljesen független áramkör. Nem lehet egymásra hatása. Csak a táp a közös, ha az meg megvan.... üdv! proli007
Amivel elküldheted könnyen az a fordított táp.A 12V ot már nem dijjazzák.Ha a veszteséget akarod csökkenteni akkor 2-3 led sorba egy ellenáéllással.
Vanaki tud nekem mutatni egy műkődő kaopcolást egy led villogtatására 12v-rol!!!!
veszel villogó ledet, pár Ft-ért, és elé raksz pl. egy 1kohmos ellenállást.
Én valami tranzisztoros megoldásra gondoltam,nem enyire egyszeűre!!!
Tranzisztoros astabil multivibrátor
Az egyik tranzisztor kollektorkörébe kötheted a ledet, persze megfelelő ellenállással együtt. 555-ös IC-vel pedig, mint a képen.
Ezt nem lehetséges megoldani egy tranzisztorral és megadni valahogy egy kondival neki a nyitofeszt???
Viktorka!
Ne bosszantsd már a népet! Egyszerű, villogó led megoldás nem kell, a két tranzisztoros meg már sok? Egy tranzisztorral, nehezen fogsz relaxációs oszcillátort gyártani. Kivétel, ha az egy kétbázisú dióda, vagy PUT Itt a HE-n a Kapcsolások/Kezdő/Alapkapcsolások-nál vannak neked való áramkörök. Lehet körül kellene nézned? Aztán örülni! :yes: Ha felteszel egy rajzot, akkor ne anyákot rajzold le, mert az áramkör megértésáhez a sematikus áramköri rajz szolgál. Ki fogja visszabogarászni a nyákodat, hogy megtudja mit szeretnél? Egyébként, meg ha egy tranyó van és egy kondi, akkor villogni fog a led, legaláb is egyszer. Ha ez neked megfelel, akkor oké. (Persze nem ez a rajz, amit feltettél. Mert a Led-el két ellenállás van sorba, de minek? Az egyik alkatrészt nem lehet kideríteni micsoda (lehet dióda) és minek az oda, és a tranyó emittere és bázisa rövidre van zárva. Így aztán sok kárt nem fog tenni, az igaz.) üdv! proli007
Mindenikitől elnézést kérek akit ez felzaklatott!!!!
De elárulom hogy miért is érdekel ez az egytranzisztoros villogo! Párnappal ezelőtt a fiam szétszedte a játékautoját,volt benne egy nyák amin valami ilyesmi kapcsolás van(bár egy cseppet sérűlt)egy db leddel! Én láttam villogni is,csak érdekel hogy hogy műkődőt?! Mégegyszer elnézés kérek mindenkitől a hűlye kérdésért!!!!
Roppant egyszerű a történet. Vegyél magadnak a HEstorból dugaszolós panelt, vezetéket, meg mindenféle alkatrészből (amire úgy gondolod, hogy szükséged lesz) legalább 2db-ot. Kezdj el kísérletezgetni! Hamar rájössz a dolgokra és reményeim szerint még sikerélményed is lesz!
Hello!
Hát igen! Lehet kapni, Led villogtató áramkört, TO92-es tokban (mint a BC182). csak abban egy komplett IC van, nem egy tranyó! Amúgy gyanítom ugyan az az áramkör van benne, mint a villogó Led-ben. (A számára már nem emlékszem, de a kollegák biztos tudják.) üdv! proli007
Hali!
Kérdésem az lenne, hogy 12 voltra hogyan érdemes 6 vagy 8 LEDet bekötni?
Ja és a lényeg hogy ne legyen érzékeny a feszültségingadozásra! Ami kb 1-1,5 volt!
Hello!
Mindenképpen áramgenerátorral. (De nem írtad az áram értékét.) A Ledekből annyit kell választani, hogy összeadott nyitófeszültségük ne közelítse meg 1V-ra a minimális tápfeszt. (Itt ha jól értem 11V lesz, tehát ez alatt maradjon.) üdv! proli007
A tápfesz, 12 volt ugye a kocsiban viszont mikor tölt a generátor akkor 13.5 körül van!
Most 6 piros LEd van sorba, aminek 2-2.2 a nyitófesz! És annyira észreveszi a feszt, hogy 12 volton fele a fényerő mint mikor jár a motor! Arra gondoltam, hogy átkötöm őket és csak 5 LED lesz sorba! Akkor jó lesz a fényereje 12 volton is! Majd holnap kipróbálom! Ami kimarad 1-1 db azokra meg lesz 1K ohm! Vagy lehetséges más megoldás, mondjuk 3-3 LED sorba? Akkor oda hány ohmot érdemes tenni! Amúgy alapnak a 12 voltot vegyük, mert ez csak álló motornál fog világítani! Idézet: „tölt a generátor akkor 13.5 körül van” az nagyon nem jó, 14.2-14.4 között kell lenni! Beszabályozni, vagy csere.. 3 ledre, itt tudsz számolni
Tudom, hogy 14.4 körül kéne lennie, de ez egy 25 éves generátor! Van egy másik is ami még a 13 voltot sem éri el pedíg teljesen fel lett ujjítva! Ez ami most van ha nincs rajt a világítás meg semmi extra fogyasztó akkor meg van a 14 volt is akár! Sztm akkor marad az 5 sorba és 1 kölün!
A generátor az generátor, van egy Feszszabályzó. ami a feszt szabályozza.
Üdv
Tegyél be egy 7808-as stabkockát, és utánna ellenállatot.
A 8V már elég stabil lesz és nem fog változni a fényerő. |
Bejelentkezés
Hirdetés |




(És persze utána olvasok!)
.

.










