Fórum témák
» Több friss téma |
Normál használat során nem. A normál használat annyit tesz, hogy nem szabad túllépni a varisztor megengedhető disszipációját. De ez minden alkatrészre igazdiódák, tranzisztorok, fetek stb. Különböző méretben gyártják őket, a legkülönfélébb feladatokra, és teljesítményben. Leginkább túlfeszültség védelemre használatosak. Szabványos méretekben készül, egy 20mm átmérőjű varisztor levezető képessége több száz A de függ attól is, mekkora feszültségü. nyilván minél nagybb feszültségre van, úgy csökken a levezetőképesség, mivel nagyobb teljesítmény esik rajta. Ezt a nagy áramot természetesen csak rövid periódusokkal vezeti át, mert folyamatosan túlmelegedne. pld. 100A x 400V az 40kW folyamatos üzemben. De például rövid gyújtóimpulzusok átvezetésére kiválóan megfelelne. Ha 4db túlságosan melegszik (ugye sorba kötve, az átütés csökkentésére), akkor párhuzamosan több sort kell használni, így eloszlik az áram és a teljesítmény rajtuk. A teljes geometrikus szimetriára kell vigyázni, és arra, hogy lehetőleg azonos sorozatból származzanak (az egyező paraméterek miatt, természetesen a típus ugyan az kéne hogy legyen).
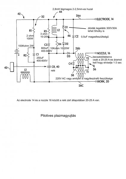
Üdvözlet küldök képet a plazmavágók gyújtásáról ez az Usa szabadalmi hivatal oldaláról való kiegészitve az alkatrészek értékeivel. Az eredeti pdf leírást is mellékelem. Van Magyar is de ez relékkel van megoldva és háromfázisú trafóhoz való, a gyújtórendszere azért használható ha valaki kitudja hámozni a rajzból.
Üdv mindenkinek.
Titeket sem hagylak ki a mókából, igaz ez már off topik, mert nem házilag készült, de legyen ez a cél
![]() (Hivatkozás mentése más néven!) Bővebben: Link Vágás relatíve kis árammal. Néhány tapasztalatom már van rögtön, óvatosan kell bánni a pisztollyal, mert szanaszét fröcsög az olvad vas, szembe szájba orrba kézre cipőre plafonra.. meg eltört a kerámia vég is, mert rosszul tartottam, és ráfolyt a fém. Az a jó, hogy még 2barral is működik, persze ez csak végszükség esetén, mert ilyenkor nem hűti eléggé az alkatrészeket.
Lemaradt a kerámia:
Bővebben: Link A rézsapkát meg néha takarítani kell, mert a sok ráégett szennyeződés meggátolja a gyújtást. Kerámiát meg muszáj ilyen esetben cserélni.
És van hozzá tartalék kerámia fej vagy rendelni kell pótalkatrészként?
Van hozzá néhány ilyen fogyó alkatrész. A kerámia elvileg nem kéne nagyon, hogy fogyjon, leginkább a külső rézsapka az, ami fogy.
A réz sapka nem drága--most vettem a vaterán egy 25-30 A-es három részes kittet 400 forintért(természetesen kínai gagyi).A kerámia sapkát viszont jóval drágábban láttam hozzá valót.
Szereztem néhány újabb tapasztalatot.
Bővebben: Link Itt lent látni erről képeket. Van kétféle réz elektróda nálam, egy rövidebb, és egy hosszabb változat. A rövidebbel vágtam eddig (az volt alapból a pisztolyon), de valahogy nem volt túl jó, viszont most ráraktam a hosszabbat, na azzal kapásból átvágtam a 4,5mm-es lemezt elég szépen. A kisebb elektródával sokkal csúnyább volt a vágás (ferde). Nem tudom, ez miért van, igazából belülről mindkettő ugyan olyan felépítésű, csak az egyik hosszabb. Na mindegy, a lényeg, hogy ilyet érdemes venni mindenképpen, sokkal szebb vágásokat lehet vele elérni. Kicsit szórakoztam üveggel is, sikerült átlyukasztani anélkül, hogy eltört volna. Persze ebben az esetben a külső réz elektródához hozzá kell valahogy érinteni a pozitívat, hogy létrejöjjön a plazma.
Helló!
Erősen érdekel a téma,hogy lehetne házi célra ,lehetőleg legolcsóbban kihozni egy ilyen masinériát ![]() Először is egy videó. Szerintetek működőképes lehet ? Magas üresjárati fesz adva van,meg a power is. Mondjuk némi 'extra' kell bele,nevezetesen a water resistor,mert ekkora kakaót ugyan át nem hajtok egy rendes ellenállaton ![]() Az életvédelmi szempontokat most hagyjuk....az érdekel,hogy működhet-e ez,mert a video szerint igen. Másik kérdésem,hogy feltétlen réz/cső formációnak kell lennie a fejnek? Nem lehetne pl wolram csúcs,és a levegő körülötte haladna? Mondjuk egy kerámia csőbe rakott wolfram pálcára gondolok most. Ez meg csak azért érdekel,mert fejet is kéne gyártani (bár a gyári biztos jobb),de az most odébb van,wolframpálcám (2.4mm) meg van itthon,talán még jobb is lehetne. Egyelőre ennyit kérdeznék kezdésnek. Köszönöm előre is a reflektálásokat ![]() Link javítva, a jövőben használd a LINK gombot. -- kobold
Bocsánat,nem akarom szétf**ni a topikot,de közbe eszembe jutott még 1 kérdés:
Olyasmi IS érdekelne,hogy inverteres hegesztőhöz plazmavágó blokk,utólag hozzáépitve.Ilyesmiről is szivesen fogadnék ötleteket. Köszönöm!
Szia Danka.Én más irányba indultam el(nem akarok még véletlenül sem "water resistor"-t) -az egyik inverteres hegesztő alapján egy plazmavágó(bizonytalan a siker számomra de gyűjtöm az anyagot ) a másik a mikró trafóból készített (ez már érdekesebb ).Éppen tegnap állítottam össze egyenlőre egy fázisra próba terhelésre bár még nem találtam meg a műterhet--ma felforgatom a műhelyt.A lényege két egyforma mikró trafó sorba kötve két fázis közzé(400 V) így a primerekre 230V helyett csak 200V jut mivel a mikró trafokat nem folyamatos üzemre tervezték.A szekunder tekercsek helyére ugyancsak "primer" tekercsek kerültek de azok már párhuzamosan kötve így kaptam 185V üresjárati feszültséget.Ha sikeres a műterheléses (talán ma szorítok időt rá)próba akkor megcsinálom három fázisra.Én a plazma fej cuccot vettem a vaterán 400 forint a három részes kitt plusz 400 forint a kerámia fej rá.A pisztolyt is és a kábelt is "házilag" akarom gyártani--így érdekesebb és ez nem lesz "OFF"!
Ha házilag készíted a pisztolyt, megcsinálhatod kontaktos gyújtásra is, és akkor nem kell szenvedni a gyújtás elektronikával.
Még nem döntöttem mert olyan messze van még.A gyári plazma csatlakozó is drága külön ezért ha magam csinálom a kábelt akkor az is kimaradhat. A pisztolyt pedig "fejben" nagy vonalakban úgy terveztem ,hogy van tízes bakelit lemezem és azt három rétegből kiépítem.Kábeleim meg nagy fesz vezetékem van itthon---műanyag cső is akad levegőnek ,úgyhogy lehet barkácsolni.
Az én pisztolyomban úgy van megoldva a levegő, hogy van egy légszigetelt kábel amiben van lazán tekerve egy kis rézsodrony (hegesztőkábel szerűség), és a levegő ott megy benne. Szóval 1 kábelen egyszerre megy a levegő, és a negatív.
Egy jobb minőségű 1/2"-os szövet betétes locsoló tömlő benne két szál komolyabb szigetelésű gumikábel és két vezérlő szál vezetékkel nem jó?
Tegnap sajnos nem volt időm de most délelőtt megcsináltam az első trafó párossal a műterheléses próbát.Műtehernek egy 230V-os 2200W-os vízmelegítő patront találtam--mérés :183V üresjárati feszültség ,a terheléssel 6,3A áramnál 173V-os feszültség! Azaz csak 10 voltot eset terheléskor.
Több tehert tegyek rá?A feszültség kicsi esése nem is annyira zavar--némely gyári plazmavágónak is ennyi a munka feszültsége igaz ott 300 feletti voltról indulnak.De így csak cca:1100W jött le.
Nálam 92V a munkafeszültség. De ez ingadozhat, hiszen a plazmavágónál az egyik lényeg, hogy áramgenerátoros üzemmódban működik. Ha 6,3A-el csinálsz plazmát, azt lehet mikroplazma ívhegesztésznek is használni, csak ahhoz kell argon védőgáznak, meg kell valami hidrogén féleség plazmagáznak (de szerintem argon jó mindkettőnek).
Ha jobban beterheled, biztos hogy leesik a feszültség.
Légrés kéne a magba, hogy lazább legyen a csatolás, szerintem. Úgy lesz eső karakterisztikája a trafónak, ehhez is olyan jellegü trafó kell tudomásom szerint. Próbálj rá egy 2mm körüli légrést. De előtte nézd meg, mennyire melegszik így üresen adott idő alatt, és utána is ellenőrizd, menyit változott az üresjárási melegedés. Nem tudom mekkora légrés kéne, próbálgatni kell. Az áram: 3db trafó lesz, és 1/3 ideig túlterhelve (2/3 meg pihenés minden egyes fáziskörbefordulás alatt 3db háromfázisról), tehát ez a fesz jónak tűnik. Mivel 2 trafót használsz, figyelj hogy egyensúlyban legyenek a légrések mindkettőn. Üresen mérj feszültséget mielőtt párhuzamba teszed őket. Aztán teszt. Nem vagyok gyakorlott ebben, de ebbe az irányba próbálkozz. Túlterhelve majd tovább csökken a fesz és nő az áram. Dea azért vigyázz nagyon, mert ez nem játék, csak nagyon komolyan és körültekintően kísérletezz.
Nem 6,3 A -al akarok plazmát csak egy fázison (két fázis közt)kipróbáltam két trafót sorba kötve de ha összejön minden akkor 3x2 trafó lesz az alapja.A 6,3 A-t digitális műszerrel mértem úgy ,hogy egy ellenállást tettem be ami eleve meghatározta az áramot bár nem tettem vízbe a patront így hamar felmelegedett és nem tudom ez is hogyan módosította az áramot.A műszer is a kis kínai 800 forintos volt mert a Metexet nem akartam elcseszni.Én nem is az plazma amperből indulok ki hanem a háromfázisú hálózatról számomra levehető legnagyobb teljesítményből (3x10A) de ebből kell a kompresszornak is(1,5kW) plusz még tartalék is maradjon.A szekunder oldalon 3X8 A-al 160Von már meg lennék elégedve.
Úgy akarom megoldani(mert van) hat darab 600V-os 25A-es Graetz-em így minden tekercsre jutna egy --ez a hőterhelés elosztása miatt is jobb lenne mint a háromfázisú híd valamint az 1/3-os "pihenés" is ketté lenne osztva-1/6-1/6 és egyenletesebb lenne az ív(elméletben).Délután ezen agyaltam--szükség van itt az eső jelgörbére?Ívhegesztőnél logikus a gyújtás miatt de itt?Ha esik a feszültség a réz kereszt metszet viszont a drótnál adott akkor teljesítményt veszítek--tekercselni meg nem akarok meg drótom sincs hozzá--ez a verzió meg elsőre jónak tűnik csak a trafók darabszámát kell növelni nameg párosítani.Már van 12 db de nem mindnek van párja--még gyűjtöm.A maradékból meg csinálok ponthegesztőt vagy valami más értelmesnek tűnőt
Idézet: Itt is a gyújtás miatt van rá szükség! „Délután ezen agyaltam--szükség van itt az eső jelgörbére?Ívhegesztőnél logikus a gyújtás miatt de itt?” A jó gyújtáshoz két dolog kell, magas üresjárás, és jó gyújtóimpulzus. A magas fesznek viszont el kell tűnnie begyújtás után, tehát eső jelleggörbe. Idézet: Én is így gondoltam, csak nem részleteztem. És a 6db graetz-et is jónak tartom. A réz meg az áram: 1/3 (2x1/6) idő alatt 3x-os túlterhelés az 18A. Az ugyan annyi hőveszteség, mint most 6A terheléssel. Csak a nagyobb amper kevesebb feszen jön ki = túlterhelés. Tehát ez így jónak tűnik. Ha nem esik le 100V-ra, a légréssel próbáld lejjebb venni. Apropó, műterhelés: minden "fűtés" jó, a sok helyen a padláson porosodó különböző fűtő "ketyerék". Soknak több fokozata is van, állíthatók ment közben. Érdemes elkérni kölcsön ilyeneket, semmi baja nem lesz, a mai áram áraknál meg senki sem akar már fűteni velük. Az az igazi, ami nem ventis, annak mindegy a fesz is, és a graetz után is akaszthatod a pufferelt tényleges tápra, és az már igazi mérés a kimeneten.„az 1/3-os "pihenés" is ketté lenne osztva-1/6-1/6” Collector: Idézet: Na jó, de hány ampernál is ? Mert ez a lényeg. „Nálam 92V a munkafeszültség.” Tényleg, már régóta a számon van a kérdés, nem adsz nekünk egy gyári inverter rajzot ? Például visszarajzolod + lefényképezed, amikor egy kis időd van. Nagyon megköszönnénk szerintem !
Érdekes kérdés ez a párhuzamba kötés is ugyanis mikor a primereket sorba kötöttem és megmértem a szekunder tekercsek feszültségét 10 V külömbség volt közöttük és rákötöttem két graetz kockát a két szekunder tekercsre majd összekötöttem a pozitívot a pozitívval a két negatívot pedig összekötöttem egy zseblámpa izzóval érdekes módon nem világított ill a kimenő fesz leátlagolódott gondolom úgy,hogy visszahatott a primerekre és ott változott a feszültség eloszlás--bár nem mértem a primerek feszültségének elosztását.Most egy jó ampermérőn agyalok ,hogy össze kellene állítani egy Depréz-ből és később beépítheném a plazmavágóba ha sikeres lesz a "projekt"..nem tetszik a kis kínai.
Helló! A tanácsodat részben megfogadtam,már meg is rendeltem vateráról a vágófejet
![]() Ugyanakkor kétségesnek találom,hogy két MOT (5-6A/db) elegendő lenne egy plazmavágáshoz.....szerintem min 20A kellhet....és pont itt az álltalam belinkelt cuccnak a problémája is. Jó eséllyel működik is,de se 3 fázisom nincs,se módom,hogy 230as hálóról direktben lehúzzak annyit,amennyit az illető (at hiszem 37amperrel dolgozott).Mennyi is az,8kW? Annyit képtelen vagyok kivenni a hálózatomból idehaza,az tuti.Tudni kéne,hogy a "koppintós" módszerrel mennyi a MINIMUM üresjárati fesz,amivel még hajlandó lenne működni ez a dolog,és aszerint letervezni a trafót.Akár 50hz-ra is.Esetleg előző kérdésem,miszerint inverteres hegesztő adva van,hozzá kéne ácsolni egy gyújtószerkezetetmämper adva van,üzemi fesz csakcsak,üresjárati...hát ![]() Nekem most egy Einhell cuccom van idehaza.85V üresjárati,20-22volt üzemi fesszel,20A-80A.Talán ebből is lehetne épitkezni valamit.MIndegy,most már megvárom,mig megérkezik a fej,aztán majd értekezünk ![]() Köszi!
Ha kontaktos pisztolyt építesz, lényegtelen az üresjárási feszültség, hiszen pont az a lényeg, hogy összeér két elektróda, és mint a sima ívhegesztésnél, utána szét kell húzni, és kész a munkaplazma. 90V elég munkafeszültségnek, így 40A-el 5kW alatt maradhat a teljesítmény. 2 fázis pedig tudtommal minden háztartásban van, azzal már úgy szép teljesítményt le lehet cibálni.
Az inverteres hegesztő elvileg jó, a legegyszerűbb módja, hogy nagyobb feszt kapj, az, hogy át kell tekerni az impulzusáttevő trafót az inverteren belül (esetleg utána is lehetne rakni még egy transzformátort, és nem kell tekercselni, de utána más graetz kell)
Hi!
Hát nem tudom,itt csak 1 fázis van,ami bejön. Ettől függetlenül arra is meg lehet csinálni,csak akkor nem úszom meg a trafót,mert hát a gyári is elmegy 230V-ról,s 1 fázisról.....lehet mégis kéne a pilotíves elektronika,azzal lejjebb lehetne menni az üzemi fesszel.Talán.Bár mondom; az én cuccomban 20-22 volt között van az üzemi fesz,azt kicsit keveslem egy plazmavágóhoz. Egyelőre csak adatokat gyűjtök,nem tudom,mikor tudok lépni a megvalósítás talajára Elválig.bye!
Danka ,én nem 5-6 A-el akarok vágni hanem egyenlőre összeraktam sorba kötve két mikró trafót két fázis közzé kísérlet végett.A 6,3 A-t az ellenállás és a fesz határozta meg.Ha még rákötöttem volna valami más fogyasztót biztosan emelkedett volna az amper valamennyit.Én pontosan a levehető legnagyobb zteljesítményt akarom elérni az pedig alapból hat trafót jelent --háromszor kettőt deltába kötve mivel az automaták adottak de a fesz igy 3x400 volt és nem 3x230 ami ugyanannyi amper mellett nagyobb teljesítményt jelent.A hat trafóval 24-25 A szeretnék elérni DE NEM MINDEN AZ AMPER! mert a plazmaív is ugyanúgy működik mint más elektromos berendezés azaz a teljesítmény egyenlő az áram és a feszültség szorzatával(egyszerűsítve) és ezért törekednék inkább a magasabb munka feszültségre.Bizonyos távolságra itt a dűzni és a sapka közötti távolságra gondolok megfelelő fesz kell azaz minél nagyobb az ív hossz annál nagyobb feszültség is kell szerintem.Iparban nagyon elterjedt a combi készülékek("három vagy négy az egyben") de házilag utólag hozzá barkácsolni egy inverteres hegesztőhöz plazmát ?háááát komoly szakember fogjon bele mert biztosan elbaxolnád a jó gépedet.
A két fázis a legritkább.Vagy egy fázis és arról válasszák le a kedvezményest(régebben éjszakainak is nevezték) vagy három fázisú.Nekem az a gondom vele ,hogy régebben amikor volt szalag fűrészem meg esztergám akkor 3x25A-es automatám volt de vagy tíz éve lecserélték 3x10-esre (azóta átok nekem a három fázis).
Hm,igaz lehet. Azt irtad,90V elég egy stabil ivhez.
Lehet,mégsem úszom meg a trafót,viszont ha már az,akkor meglenne az ämper is,mondjuk egy 2-3kW*s 230/65V-s cucc. Ezzel,már ha jól értelmeztem a témát,kb minden feltétel teljesülne,Munkafesz,elegendő áram a vágáshoz,stb. Ja,és ha van mód rá,koppintós cuccot szeretnék. Egyelőre nincs más ötletem. Sziasztok! |
Bejelentkezés
Hirdetés |







A jó gyújtáshoz két dolog kell, magas üresjárás, és jó gyújtóimpulzus. A magas fesznek viszont el kell tűnnie begyújtás után, tehát eső jelleggörbe.
