Fórum témák
» Több friss téma |
Üdvözletem! Adataink és intim szféránk védelme napjainkban igen előtérbe helyeződik, mivel manapság akár egy kisgyerek is képes lehet poloskák készítésére. Amit szeretnék építeni az egy olyan berendezés ami a legegyszerűbbtől a legprofibb lehallgató berendezések felderítésére is alkalmas. Tehát neagyon széles frekvencián kell, hogy érzékeljen. Egészen alacsonytól egészen akár sok GigaHz-es frekvencián. Ehhez várok ötleteket, kapcsolási rajzokat, tanácsokat, akár komplett építési leírásokat. Köszönöm!
Nem könnyű dolog, mivel elég széles a frekvenciatartomány, nem tudom, hogy létezik e erre amatőr kapcsolás. Nagyonprofi kivitelezés szükséges, ha létezik ilyen.
Ha pedíg kábeles a poloska akkor szerintem nincs megoldás.
Lehetőleg ne mikrokontrolleres kapcsolás legyen, de ha csak úgy lehet megoldani, akkor az is érdekel. Nem feltétlen kell egyszerű berendezésnek lennie.
esetleg építhetnél egy térerősség mérőt, aminek a bemenetét extra extra érzékenyre állítod, illetve plussz erősítő fokozatot teszel elé. Esetleg ez így kimutatja, hogy sugároz e valami.
Nem értek annyira hozzá ez pedíg csak egy ötlet, de hátha segít valamit. itt a hobbielektronikán van egy ilyen topik itt: http://www.hobbielektronika.hu/forum/topic_3056.html
Hello! Megoldható, de igen komoly feladat. Egy vevőt kell építened ami átfogja a kívánt sávot. Gigahertzeken (sőt már 300mhz fölött) csak smd alkatrészek jöhetnek szóba. Arról nemis beszélve, hogy az áramkör élesztéséhez komoly műszerekre van szükség:szkóp, spektrum analizátor, stb.. Ha ezek nincsenek akkor sztem neki se állj. Kisebb frekikre, illetve kisebb sávátfogással (pl ccir fm) még kivitelezhető házilag műszerek nélkül, de amúgy felejtős a dolog.
Spektrum analizátorból hiány van
, de szkóppal talán még megoldható. Az smd nem gond. Esetleg kapcsolásod van róla?
Hello, erre én két módszert ismerek. Az egyik az egy egyszerű PIC-es frekvenciamérő, amelynek a bemenetén egy érzékeny ECL-es előosztó van. Pl egy SDA2101 vagy egy MB506. Ezek 1-2 GHz-ig működnek, de csak kb 50-80MHz-től. 5000 Ft-ból kijön
A másik módszer az egy logaritmikus szélessávú erősítő, pl AD8307, vagy a MAX2014 ezek DC-től 1GHz-ig mennek. Ezek egyszerű műszerek, az IC a térerővel arányos egyenfeszültséget ad, ezt kell csak indikálni. Ezek az IC-k drágábbak, a RET-nél 8000 körül láttam. Vannak viszont jobb IC-k is, némelyik 5GHz-ig is elmegy, szét kell nézni néhány gyártónál... Sajnos ezek a műszerek nem csodaszerek, mert egy nem is korszerű lehallgató rosszabbja csak akkor ad, ha beszélnek, mások pedig csak rögzítik azt, és egy későbbi időpontban tömörítve kisugározzák, szórt spektrumon, amit egy "sima" vevővel, de még spektrum analizátorral sem lehet fogni. Jó szem, fül kell hozzá
Üdv!
Énmég a hobbyelektronikába találtam egy ilyesmit. Nemtudom megfelel-e nektek, azért felteszem.
Először azt kell eldönteni mindíg hogy milyenre vadászik az ember amikről én tudok (valaha érdekelt a téma):
-vannak lézeres megoldásúak (ablakra irányítják és a beszéd hanghulláma mozgatja az üveget, ezáltal modulálja a fényt) -spéci mikrofonpuskák (nem gagyi parabolás) -othoni barkács poloska (6*8mm-es nagyságtól felfele) /néhány MHz-néhány száz MHz/ freki nem stabil -othoni jobb minőségű poloska frekvencia stabil -telefonvonalra ültetett (energiát a telefonvonalról veszi vagy nem) -villamos hálózatra kötött (nem kell gondoskodni elemcseréről) -GHz-es tartományokban működő (valaha az Oroszok kísérleteztek vele /ablak befújva sprével egy nagyfrekvenciás adó ráirányítva az ablakra a modulált jel véve../) -számítógép által keltett jelek fogása /a CRT monitor által megjelenített képet lophatod el/, /a többi vírusról meg már ne is beszéljünk/. -a mobilt is meglehet csinálni lehalgatásra -ki tudja hogy mik vannak mostmár
Igen, sajnos amiket te írtál azok ellen a legjobb védekezés ha az ember csendben marad, vagy ha jól feltekeri a HiFi-t és a másik fülébe súgja a mondanivalót. Esetleg egy elhagyatott jó zajos környéken kell beszélni, persze a mobilokat otthon kell hagyni, mert azok potenciális poloskák. Mi egy politikustól vettük a házat, és ezért gondoltam, hogy talán megnézem, nem-e "zajos". Arról nem is beszélve, hogy jópár éve én is aktívan tevékenykedtem az ellenzéki politikában, és ott bizony megfordultak érdekes arcok akiket tuti figyelt az NBH. Igaz ezekkel, sőt a politikával már sok éve szakítottam, mert amint 1 picit beleláttam megundorodtam tőle, de ez más tészta. A lényeg az, hogy nem szeretném, ha többen hallgatnának mint a Danubiust!
Egyébként ha már lehallgatás, megfigyelés, akkor régen mi is gondolkoztunk ilyenen, hogy cipőtalpba épített nyomkövető, vagy bőrkabátba varrott lehallgató, meg ilyenek.
A Viszonylag friss üres házat végig kell keresgélni ... minden féle lehetséges helyen.
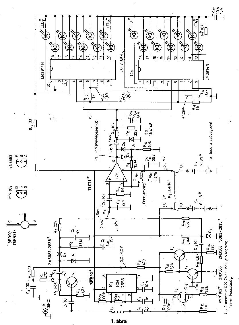
rések, csatornák, kábelkötöződobozok ..stb .stb ..stb ... Ha már bebútoroztátok akkor már kicsit macersabb ![]() Poloska kereső van az Rádiótechnika 2003-2005 közti vmelyik havi számában is 1 széles sávú "seprő" rendszerű detektor. Analóg rendszerű ... elvileg 500-1000Mhzig elmegy ledes fénycsíkos térerőmérővel. Itt : " profibb " cuccok:
Már a bútorozáson túl vagyunk, ebböl a szempontból sajna, de azért minden megoldható. Azt a linket a (kémcentrum) már láttam. Vannak ott nagyon érdekes dolgok, mint pl.: a hálózati csatlakozó hosszabbító! Igen figyelemre méltó dolog.
A mobilos megfigyelésről szeretnék 1 történetet elmondani. Az egyik párt ifjúsági tagozatának elnökével találkoztam jópár évvel ezelött, akinek ráadásul a parlamentben is volt irodája. Ez egy vidéki városban történt. Én nem vittem mobilt, ő még 1 órával a találka elött levette az aksit a telefonról. Mielött elváltak volna útjaink 1 nagyon fontos hívást kellett intéznie. Feljelentkezett a hálózatra a telefonja, aztán elfünt a kép róla és pár másodperc mulva ismét feljelentkezett. Én mondtam neki, hogy figyelje meg, pár perc mulva balról jönni fog 1 öltönyös ballonkabátos úriember. Ez meg is történt. Feltünően nézelődött, majd amikor megpillantot minket zavartan sétálgatott tovább, mintha nem találná amit keres. Elindultunk felé, erre ő hirtelen irányt váltott és sietősen abba az irányba távozott amerről jött. Ekkor kezdte érdekelni az ismerősömet igazán a dolog, és követtük. Ezután a középkorú úr igen sűrűn forgott hátra, és már majdnem szaladt. Tartottuk a tempóját amitől 1-re idegesebb lett
... Sűrűbben tekintgetett hátra és próbált elszökni előlünk, átment 1 jelzőlámpán majd a háztömb átlósan lévő sarkánál parkoló autójába beszállt. és elhajtott arra amerre a jelzőlámpa volt. Amikor lekanyarodott az utcasarkon, mondtam az ismerősömnek akit már nagyon érdekelt ez a dolog, hogy ha megfordulunk most rögtön és visszaszaladunk a jelzőlámpához akkor még pont elérjük és jól megnézheti magának az emberünket. Ez így is történt. És az úr nagyon ideges lett amikor meglátott minket kb 2 méterre töle. Ő a piros lámpánál állt éppen mi meg jól megnéztük őt. Ezután mondta nekem az ismerősöm, hogy aznap (amikor jött vidékre) látta már az autópályán az ürgét. Ennyi. Ez is 1 módja a figyelésnek, és ha valaki elég szemfüles rá is jön.
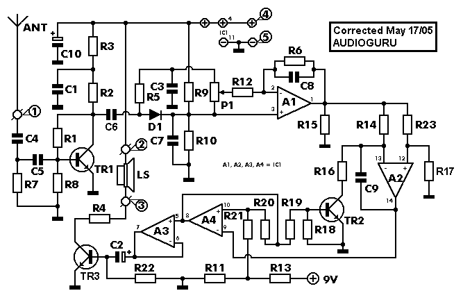
Találtam én is kapcsolást, közzé is teszem, mert lehet, hogy mást is érdekel. Van kapcsrajz, nyákterv, beültetési rajz. Azthiszem 2000Hz-ig fogja a jelet.
Van másik is, ami 1-1000Hz-ig keres. Ehhez is van minden ami az előzőhöz.
Sziasztok!
Nagyon érdekes a kérés, kérdés. Azonban tudnia kell minden elektronikával foglalkozónak, hogy ez a tevékenység, ilyen készülék építése, birtoklása TÖRVÉNYBE ÜTKÖZŐ CSELEKMÉNY!!! Ha csak kisérletezni akarsz menj fel a www.conrad.hu oldalra ott komplett eszközt találsz cca. 15EFt.-ért. Olcsóbb is van, de azt Neked kell összeépítened. Semmi különös szakértelem (az alapokon túl!) nem kell hozzá. Ha mégis bonyolultban gondolkozol, nyitottak a határok, meg a "piac!", olcsón (relative!) beszerezhető. Az első bekezdést azért fontold meg! üdv: Mr.Steve ui.: Beléphetsz az NBH-hoz, s akkor hívatalból kapsz... Idézet: „Nagyon érdekes a kérés, kérdés. Azonban tudnia kell minden elektronikával foglalkozónak, hogy ez a tevékenység, ilyen készülék építése, birtoklása TÖRVÉNYBE ÜTKÖZŐ CSELEKMÉNY!!!” A poloska detektálása? Mióta?
Szerintem a poloska felderítése önmagában nem bűncselekmény, de ha a kormány tulajdonában lévő jó drága eszközt az ember fia megrongálja az már lehet, hogy törvénybe ütközik. De ha valaki jól leárnyékolja, hogy a jel biztosan ne jusson ki a helyiségből, azzal nem tesz kárt benne. Lehet még csinálni nagyon jól hangszigetelő kis dobozkát amit köré építek, és belerakok 1 kis hangszórót amin saját "rádióadást" közvetíthetek nekik, és akkor azt hallják amit én akarok. Annak örülnének csak igazán
Egyébkent ezek az új kütyük már változtatják a frekvenciájukat amin adnak. Az adó is és a vevő is egyszerre. No meg tördelik a jelet. Felvesznek egy bizonyos idejű beszélgetést, aztán azt bizonyos időközönként tömörítve leadják. Tehát hosszabb ideig kell figyelni a jeleket, és rögzíteni, hogy mikor volt "forgalom" ebből kikövetkeztethető a következő adás ideje, meg az azutáni és akkor be lehet mérni a szerkezetet. Esetleg ugyanilyen módon csak három detektor összehangolt működésével, az adatok rögzítésével be lehet 3szögelni, és meg lehet keresni, hogy hol van akkor is ha az éppen nem ad jelet. Ez az ötletem támadt. szerintem ez működne. Esetleg ha még méri is a frekvenciákat a szerkezet, akkor ki lehet számolni a logaritmust ami alapján váltja a frekvenciát, és ad, és akkor lehet csinálni zajgenerátort, hogy ne hallják a saját jelüket.
De ha zenét sugárzok az büncselekmény - kivéve ha befizetek egy kis lóvét
. A felderítés nem büncselekmény, de ha vevőt építel és befogod a mások által lehalgatott információt és azt továbbadod az már az. De szerintem, ha van egy lakásod vagy kerted és találsz benn valamit - kivéve ha a földben XXcm-re van, illetve ha az a szomszédból átlógó gyümölcs - akkor az a tied és azt akár megsemmisítheted is (de természetesen nem viheted át a szomszédba hogy hagy örüljenek ők is hogy be vannak poloskázva mert akkor azt Te telepítetted lehalgatás miatt). Még elgondolkodtató dolog, hogy küldeni egy ajánlott levelet a poloskát elhelyező XY-nak hogy xxxpénzt felszámolsz a raktározásért - ha nem szólalnak fel ellene és átvették úgy tudom behajtható.
De van még 1 megoldás a lehallgatás megszüntetésére. Ettől viszont mindenkit óvva intek, ugyanis ha a poloska tönkretétele esetleg még nem is lenne bűncselekmény ez már bizony BŰNCSELEKMÉNY!!! Elviekben viszont 100% a hatás. Építeni kell egy magnetohidrogenerátort,
AMINEK A MEGÉPÍTÉSE ÉS BIRTOKLÁSA BŰNCSELEKMÉNY, TEHÁT SENKI NE TEGYE!!! El kell távolítani nagyon messzire minden elektromos berendezést amit még használni szeretne a delikvens a késsőbbiekben. Aztán telepíteni az imént említett szerkezetet, majd biztos távolságból távirányítással kisütni azt. Ez 100% , hogy tönkretesz minden elektromos berendezést, így a poloskát is! De ez bizonyos energia felett az élő szervezetre nézve is káros, illetve halált okoz! Ergo: AMIT AZ IMÉNT ÍRTAM AZ CSAK EGY KÓSZA ESZMEFUTTATÁS EZZEL KAPCSOLATBAN SEMMILYEN KÉRDÉSRE NEM VÁLASZOLOK, ÉS SENKI NE CSINÁLJON ILYET, MERT AZ BŰNCSELEKMÉNY!!!!
Biztos rá lesz írva a poloskára, hogy: Telepítette és üzemelteti a Nemzetbiztonsági Hivatal, Laborc Sándor, hibabeljelentés: (1) 485-2300
Ha ilyet találunk, a szokásos magatartás a megtévesztő információk adása. Nem szabad, hogy tudják, hogy tudod.
Szerintem, ha valaki aki talál 1 NBH-s poloskát a lakásában és küldene 1 ilyen levelet a hivatalnak, akkor az örökre a listájukon maradna, mint "Veszélyes személy" és annál jobban figyelnék. Viccből viszont
Egyébként ha már a viccelődésnél tartok, azt tudni kell, hogy vannak olyan rendszerek, amik figyekik a telefonhívásokat, és ha bizonyos kulcsszavak elhangzanak benne, mint pl.: bomba, robbantás, merénylet...stb, akkor autómatikusan kiadja 1 listára, hogy hallgassa meg 1 "hivatalnok". Viszont ha emberek százezrei, vagy tízezrei ezt pontosan 1 időben teszik, akkor az kiakasztaná a rendszerüket, ezzel nem kis bosszúságot okozva nekik.
Ez már régi ha jól tudom, az Angoloknál és Amerikában működnek régóta több országra kiterjedő rendszerek.
huhuu válaszával ("Ha pedíg kábeles a poloska akkor szerintem nincs megoldás.") kapcsolatban lenne egy megjegyzésem: Természetesen a vezetékes jeltovábbítással működő lehallgató/megfigyelő eszközök, valamint a kompakt, flash memóriás diktafonok, DVR-ek is könnyen, gyorsan felderíthetők/lokalizálhatók a megfelelő eszközök alkalmazásával!
Link: http://www.solitontron.sokoldal.hu/ |
Bejelentkezés
Hirdetés |




, de szkóppal talán még megoldható. Az smd nem gond. Esetleg kapcsolásod van róla?











. A felderítés nem büncselekmény, de ha vevőt építel és befogod a mások által lehalgatott információt és azt továbbadod az már az. De szerintem, ha van egy lakásod vagy kerted és találsz benn valamit - kivéve ha a földben XXcm-re van, illetve ha az a szomszédból átlógó gyümölcs - akkor az a tied és azt akár megsemmisítheted is (de természetesen nem viheted át a szomszédba hogy hagy örüljenek ők is hogy be vannak poloskázva mert akkor azt Te telepítetted lehalgatás miatt). Még elgondolkodtató dolog, hogy küldeni egy ajánlott levelet a poloskát elhelyező XY-nak hogy xxxpénzt felszámolsz a raktározásért - ha nem szólalnak fel ellene és átvették úgy tudom behajtható.
Ha ilyet találunk, a szokásos magatartás a megtévesztő információk adása. Nem szabad, hogy tudják, hogy tudod.
