Fórum témák
» Több friss téma |
Fórum » Piezokristályos nyomtatófej direkt működtetése
Témaindító: vaszil29, idő: Jún 22, 2016
Témakörök:
Üdvözlet!
Szeretnék építeni egy olyan áramkőrt, amivel direkt tudok vezérelni Piezo kristályos nyomtató fejeket. Ehhez kérnék segítséget, ötleteket. Köszönöm.
Szia! Köszönöm a válaszod, átnézem az oldalt! Üdv Vaszkó
Találtam pár érdekes képet és az jutott eszembe, hogy esetleg a nyomtató fej direkt meghajtását esetleg PIC-el meg lehetne oldani egyszerűen. Nem az a célom, hogy nyomtassak vele betűket, vagy grafikát, pusztán működtetni akarom, hogy a fúvókákat teszteljem. Erre létezhet esetleg valami kapcsolás??
Válaszokat előre is köszi.
Nekem úgy is sikerült, hogy csak ráadtam 30-40V-ot...jött belőle tinta. Nincs ott semmi trükk. Egy MOSFET és jó lesz. (teszthez) PIC miért kell?
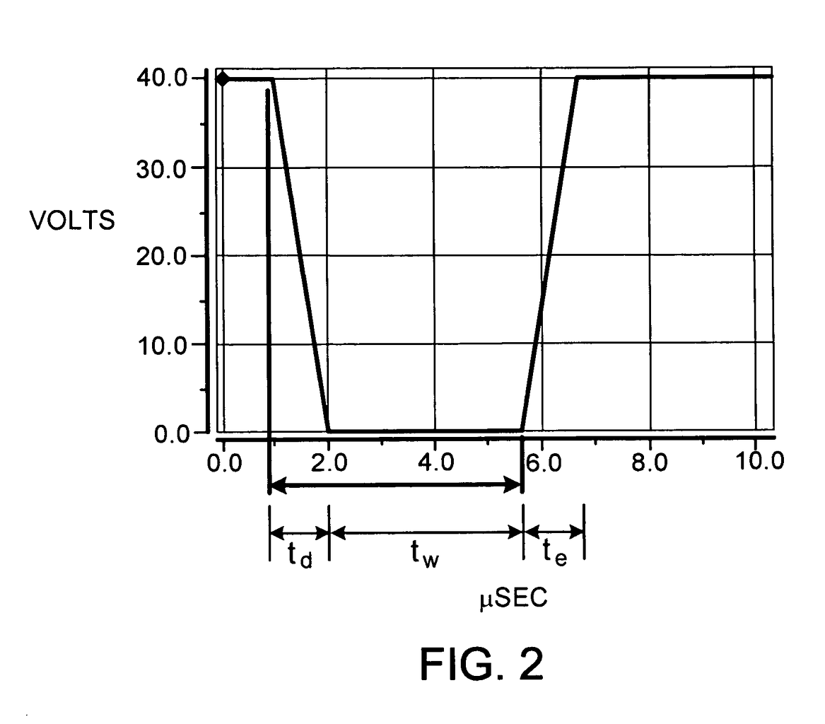
Szia! Ahogy néztem a működési elvét, ha azt akarom, hogy folyamatosan lövellje a festéket, akkor az alábbi időzített diagram szerint kell pumpálásra kényszeríteni a piezo kristályt némi polaritás fordítással. így nem csak átcsurog rajta a festék, mert nyitott állapotba kerül a kamra, hanem, letesztelhetem a fúvókákat, hogy működnek-e tökéletesen. Arra gondoltam, hogy az időzítéseket meg lehetne oldani pic segítségével, valami gyors tranzisztoron keresztül.
Még az is az eszembe jutott, hogy esetleg egy potival szabályozható lehetne az impulzusok sűrűsége. (gyorsítás-lassítás) Ezáltal tökéletesen tesztelhető a nyomtató fej. Vagy túl bonyolítom?? (Az a célom, hogy a fejet, úgy használjam, illetve teszteljem, mint ha az a nyomtatóban dolgozna.) Csak az íróasztalomon!!
nem bonyolítod túl, ez a "minimal config"
Szia! Szerinted melyik lábra kéne rakni a 37v?? Van egy rossz fejem és szétszedtem. A képen láthatod a panelját. Egyébként a fetes kimenetben tökéletesen igazad van, így sokkal egyszerűbb, viszont én mégis maradnék a pulzálásnál és eszembe jutott az NE555. Ezzel lehetne szabályozni a kimeneti jel sörűségét Mit gondolsz??
Ha jól emlékszem a szabályzat szerint nem írhatom azt, hogy nem tudom. Nem is írom le. A fejet ki kell "lámpázni", nem tart sokáig. Aztán kellő figyelemmel, vagy optikai célszerszámmal azonosíthatod, hogy melyik kivezetés melyik fúvókát működteti. Vagy google. Az 555 szerepét nem értem még, ha van PIC, átveheti a szerepét. Ám a tesztelésnél hasznos lehet, egy cseppet nehéz észrevenni.
A hozzászólás módosítva: Júl 22, 2016
Szia! Köszi a választ! Elvileg a NE555 egy időzítő ic, amivel lehetne kapcsolgatni a feteket. Amolyan impulzus generátorként tud működni. Arra gondoltam, hogy az ic segítségével eltudom érni, hogy a fetek nyitását - zárását időzítve (Szabályozva) megtudom oldani.
|
Bejelentkezés
Hirdetés |


















