Fórum témák
» Több friss téma |
Most konkrétan mi is lenne a projekt végcélja? Nem igazán értem, hogy ha sima aktív hangszóróvá szeretnéd butítani, miért nem inkább egyből olyat veszel?
Igen, butítás a cél. Többzónás hangrendszer készül, ez a hangszóró oda kerül, ahol közepes hangminőség is elég. 1.zóna: előszoba/fürdő/wc 3db hangszóróval; 2.zóna konyha. Aktívot ált. párosan árulják, ezzel 2 hangszóró kuka lenne, gyerekszobánál még egy. A JBL-en továbbá hangszórónként állítható a hangerő, mellékes pozitívum, hogy zónán belül megmarad a bluetooth funkció, pl. a fürdőszobában.A JBL cseppálló, kültéri aktívot nem szívesen vennék. Továbbá a design: fali konzolt nem szeretnék sem a lakásban, sem a konyhaszekrényen meglátni. Mielőtt felmerül, hogy miért nem SONOSt veszek: ez így ötödannyiba kerül és a nappaliban újra tudom hasznosítani azokat a hangszórókat, aminek a hifije kicsit elavult, de a hangjuk kiváló. És mindehhez csak az onoff problémát kellene megoldani.
Az U6 IC adatlapját keresd meg, szerintem az egy power manager áramkör. Gondolom az intézi az akku töltést - USB-ről vagy tápról - sőt talán a terhelés lekapcsolást is. Kérdés: az üzemeltetés igény akkuról is fennáll?
Amúgy a hangszórópár passzív tagjába erősítőt tenni sem nagy munka...
Igen, beépített erősítő is jó megoldás, ha ez a vonal elhasal.
Aksi nem kell, ki-bekapcshoz smart dugaljat fogok használni. Időközben rájöttem, hogy a bekapcsoló gomb egyik oldala ha +4 Voltot kap, akkor bekapcsol, csak 15 sec után resetel vagy nem tudom mit csinál, de meghal. Egy olyan legegyszerűbb áramkörben tudtok segíteni, ami kiad egy mondjuk 300-5000 ms hosszú +4 Voltos négyszögjelet, utána nulla lesz? Az auto power offot pedig megpróbálom Arduinoval megoldani, jel oldalon.
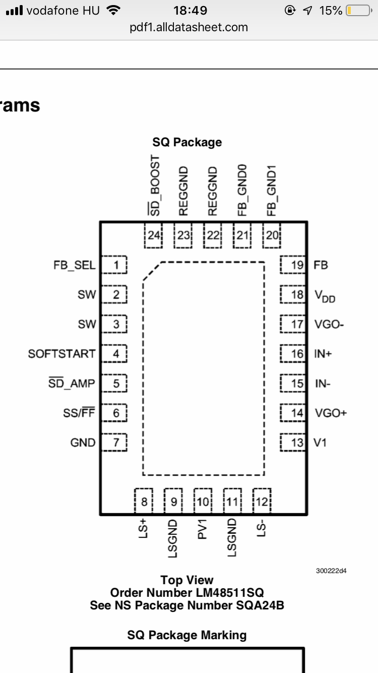
U6 Ic-t közben megtaláltam, az lesz az erősítő, lm48511sq. Lábkiosztás csatolva, nekem nem mond sokat.
A lábkiosztás persze nem mond sokat. De ha a TI oldaláról letöltöd az adatlapját, akkor abban igen jó, részletes leírást találsz, még a nyák elkészítéséhez instrukciókat is.
Tanulmányozd alaposan, a lábak funkcióit, és a környezetét is.
Sziasztok!
Egy ismerős keresett meg egy olyan problémával, hogy 3-4 kis aktív dobozt szeretne egy 6*6*6m-es helységbe a sarkokba (galériás). Nem kell nagy hangerő, háttérzenének kell, de szóljon jól azért. Vezeték nélkül kellene összekötni őket, mindegyiken ugyanaz szólna, csak mondjuk más-más hangerővel. Nézegettem a BT hangszórókat, de mindenki akkut rak bele, nagyon minimális a falra szerelhető felhozatal. Aztán jött a másik kopp, hogy elvileg egy forrásra, egy eszköz köthető BT-nál. Olvasgattam a multiroom-ot, de ott fordítva van, egy eszköz és két forrás. Esetleg DLNA, vagy Music Cast képes hangszórók, de ezek talán már ágyúval verébre. Úgy néz ki, hogy csak egy multiroom rendszer felelne meg a célnak? Bár ez is túlzásnak tűnik az egyszerű igényekhez képest.
Leírom a BT hangszóró-multiroom projekt tapasztalataimat, segíteni fog.
1. falra szerelhető nyilván nincs BT-ból, ezt a JBL GO+ hangfalamnál egy glettvasból készített - alulról nem látszó - nyuszifüllel oldottam meg (ld. csatolt kép; mellék szál: a csúnyán festett részek nem látszanak). Kulturáltabb mint egy konzol, amit egyébként lehet külön is kapni. Padokat tettem rá, hogy testhangokat ne vigye át a falra. Szerintem innentől bármi a falra rögzíthető. 2. nem említetteted, de BT hangszóróknál probléma lesz a bekapcsolás-auto power off is. Ezt én mikrokontrollerrel oldottam meg, ami egyrészt ad egy jelet az on kapcsolónak, másrészt az aux jack melegpontnak 5 percenként küld egy halk, rövid 40 kHz-es jelet. Vagyis így butítottam le aktívnak, ami a cél volt. A tápot, az on signalt és az audio jelet egy 5x0.75-ös kábellel vittem be a hangszóróba. 3. problémaként a legvégén jöttem rá, hogy az aux (Iphoneról legalábbis) halk 30%-kal halkabb, mint BT-n keresztül, úgyhogy kerestem egy ünnepek alatt hozzáférhető, kis erősítőt, amit egy 2400 Ft-os Genius SP-HF160 aktív hangszóró formájában találtam meg. Végül a kis Genius a JBL Go-t masszívan leverte hangzásban, úgyhogy nem volt szívem szétszedni. Ő nyert, kapott egy Audiocast M5-öt és most is itt megy a rádió mellettem róla.Szóval ennyit a BT hangszóró átalakításáról, megy a szekrénybe... Délelőtt hallgattam a nagy(obb)testvérét, a Genius SP-hf500a-t, 1 pár 10.000 körül van és mini Hifi minőség; hasonló BT hangszóró legalább triplája ennek. Amit javasolok ez alapján: BT-nél a drágább hangszórók (talán JBL Flip) tudnak egymással kommunikálni, fel lehet őket fűzni, de már csak a ki be kapcsolás és a fentiek gondot fognak okozni, nem javaslom. E helyett tetszés szerinti aktív hangszórókat javaslok és hangszórónként 1 db audiocast-et; ebayen 8000/db. Hangszórónként rákötöd a jobb/bal melegpontot, így a sztereó is pipa; hangerő darabonként szabályozható. Holnapután pedig kitehet egyet a WC-be, egyet az előtérbe is. AudioCast pedig NAS kompatibilis.
Nézegettem még, a Philips izzy, ami tudná ezt készen. Nem akartam neki szerelni, de talán ez az AudioCast + aktív hangfal kombó a legegyszerűbben járható út. Köszi!
Sziasztok!
Szeretném kérdezni, hogy meg lehet e valósítani olyat, hogy egy PMR rádióhoz Bluetooth-on csatlakoztatni szeretnék két headsettet? Köszönöm a segítséget előre is.
Üdv!
Tavaly csináltam 2 db bluetooth hangszórót leírom a tapasztalataimat, hátha valakinek segít. Nos, a doboz rétegelt lemezből készült el, viszont jobb ha vékonyabb ( az enyém 10mm ). Hangszóróval sokáig szemeztem, Visaton-t akartam először, de ebayen találtam hasonló paraméterekkel olcsóbbat. 800ft volt darabja. Ez egy 3W teljesítményű, nagyjából 90dB lehet az érzékenysége, és úgy 100Hz-ig tud lemenni. Eleve úgy akartam hogy a dobozon csak egyetlen egy ledes gomb legyen. Ehhez kellett gyártanom egy nyomógombos ki-be kapcsoló elektronikát. Amit itt a HE-n találtam meg. A bluetooth modul úgy 300ft volt. Az áramellátása egy 1Ah kapacitású power bankról megy. Úgy egy hónap alatt épült meg nagyjából az egész. Még ennek a viszonylag nem túl kicsi doboznak is ki kellett aknázni a helyét mindennek. Na de milyen is lett? Otthoni csak úgy zene hallgatásra megfelelő. Az ablaküveget nem fogja berepeszteni, de nem is erre készült. Magam örömére készítettem. Oda kakózva neki azért leugrik 4.5v környékére. De fél hangerőig nem változik, vagy csak századokkal a feszültség. Szobába 15nm elég. A hatótávja pedig 10méter minimum. Az ára 4-5eft körül jött ki / db. Érdekesség még: Ha csatlakozok a kékre, és elindítom a zenét, majd bekapcsolom a zöldet is, akkor összepárosodnak és sztereóban szólnak A hozzászólás módosítva: Júl 15, 2019
Szia!
Csak úgy simán érdekelne - hol vettél Te 300 Ft-ért bluetooth modult? És akkor mit tud az a modul? Valamiféle adást avagy vételt? Engem olyasmi érdekelne, ami pl. a TV-hez (a hangkimenetre) lenne kötve , mert bluetooth vevőmodul már van (ami persze automatikusan megkeresi a sugárzó adó jelét).
A BT hangszórókhoz vevő kell, ez az olcsóbb és az egyszerűbb, hiszen a telefonnal csatlakozol rá.
Neked BT adó kell, ilyet is lehet kapni...kínában igen olcsón.
Az a nagy igazság, hogy a BT vevőm gyakorlatilag megvan! (sőőt - kettő is van!)
Viszont a Samsung TV-m még nem adja ki bluetooth-on a hangjelet, így arra fel próbálkozom valamiféle megoldással. Azt mondod - KÍNA? Bármilyen tipus jó? Mivel azt én már észrevettem, a vevőegység általában megkeresi környezete összes adóját ...
Passz, adóként még csak telefont használtam, nem tudom, hogy megy ez egy kijelző és kezelőszerv nélküli kütyünél, de valahogyan megoldják. Sőt vannak átkapcsolható BT adó/vevők is.
Én pont most a héten rendeltem meg Kínából (nagyjából úgy 1300 forintért) egy USB-s aljzatba bedugható bluetooth adó-vevő eszközt.
Mivel nekem valójában a TV hangját kellene valahogyan érvényesítse az éterben, amit aztán majd a közelében levő basszusreflex hangládámmal egyből "befogok".
Üdv!
Az alin vásároltam. De azóta már biztosan több egy kicsivel.
Hááát - tőlem a bank már levont 3 dollár 40 centet (s benne van a kiszállítás díja is)
Közben persze megérkezett a cucc, és hozzá a kezelési útmutatója. Csak persze - nem tudom használni.
Pedig van képessége adásra és vételre egyaránt. Ha beledugom egy USB aljzatba - pirosan villog - tehát ad. Ha kihúzom és ismét bedugom - máris kéken villog - és akkor vesz. Van rajta hátul egy sztereó Jack bemenet, ahová bármiről bármilyen hangjeleket be lehet adni. Nekem sajna még nem sikerült ... de rajta vagyok a témán.
Nekem is lett közben egy ilyen adó/vevő, tökéletesen működik a leírás szerint. Külön érdekesség, hogy PC-be dugva mint USB hangkeltő is működik, megjelenik az eszközök között.
Sziasztok!
Egy kis segítségre lenne szükségem hogy lehet vagy nem illetve hogyan lehetne megvalósítani . Van egy nem olyan régi rádióm kazetta és CD lejátszó van benne és arra gondoltam hogy lehetséges lenne beépíteni egy Bluetooth vevőt abba a rádióba ? Van egy Bluetooth hangszóróm és azt raknám bele. A típusa roadstar hif-8512drc
Ha van rajta vonal bemenet (AUX, Line in), akkor nagyon egyszerű. Ha nincs, akkor is lehet találni benne olyan pontot, ami jó lehet.
Ha van vonalbemenet, lehet kapni USB BT adaptert. Kell neki egy USB töltő, azon kapja az áramot. A kimenete egy 3,5mm-es Jack aljzat. Ha a bemeneted RCA, akkor egy Jack-RCA kábel kell közéjük. Közben én úgy látom, hogy nincs rajta AUX... Ez esetben használhatsz egy BT-os FM transzmittert, és sima FM adóként is veheted. Vagy használhatsz kazetta adaptert és az USB BT adaptert. Minden más belenyúlást igényel. A hozzászólás módosítva: Jan 12, 2021
Üdv.
Van egy olyan problémám hogy megkértek hogy készítsek egy bluetoth-oss hangszórót. Na mármost egyből felkocogtam a he oldalára körbenézni és válogatni mi is kell. Nagyjából összeállt a rendszer. Bl modul. Na mármost. Az alább látható összeállítás a megrendelő kívánsága alapján van összetéve. Személy szerint én a modult úgy választanám hogy ne tudja kihajtani teljesen a hangszórókat. Melyika jobb megoldás? Gyenge modul vagy a hangszóró legyen túlhajtható? Bluetooth audió vevő modul, BLT 4.2 lossless dekóderrel TPA3110 alapú sztereo erősítő modul, 2x30W 2x Univerzális hangszóró, 100mm, 8R, IP65 Teljesímény : 20 W max Teljesímény : 30 W
Csináltam hasonló dolgot én is. Amikor külön volt a bluetooth modul és az erősítő modul, de ugyanarról a tápról járt, akkor olyan problémával szembesültem, hogy valamiféle csiporgó-zúgó jel került a modulból az erősítőre. Bárhogyan próbáltam szűrni a tápot, bármit tettem, nem lett jó. Ha külön tápról ment mindkettő és csak a GND-n és a jelkábelen voltak összekötve, akkor tökéletes volt. Mihelyst ugyanarról a tápról ment, akkor nem volt jó. Próbáltam több féle BT modult, de egyik sem tudott ugyanarról a tápról szépen szólni, mint amiről az erősítő is ment. Csillagpontos föld, létraszűrős táp, külön stabilizátor, nagyon rövid vezeték, stb, nem segítettek.
Azok a modulok, amiken rajta van az erősítő és a BT is, azok jók. A gyártók valamit tudtak, amit én nem. Tehát elkerülném a két külön modul használatát. A teljesítményről pedig annyit, hogy mindegyik ilyen D osztályú erősítő IC-nél van egy ellenállás, aminek az értékével be tudod állítani az erősítő csúcsáramát, így a max teljesítményt is. Tehát, a nagyobb teljesítményű erősítőt be tudod állítani úgy, hogy a kisebb teljesítményű hangszóróban ne legyen kár.
Azon elgondolkoznék, hogy ha már a felíratozással is gondja van a gyártónak...
![]() Egyébként meg uraságtól kidobott laptoptöltő, osz't jónapot. Ha én csinálnám, akkor nekem a fejfájást a hangdoboz méretezése és építése okozná...
A doboz építés nem probléma. Van lézergép és tervezni is tudok ettől nem ijedek meg. Amúgy is korlátozott lesz a méret mert hordózhatónak kell lenni és strapabírónak. Fa és plexy lesz vagy ennek a két anyagnak a keveréke. Még nem tudni.
Nem az én kívánságom szerint épül így marad a moduláris megoldás.
A táp alatt mit értesz? Mivelhogy ez hordózható lesz emiatt aksiról fog üzemelni. Vagy arról is zavar keletkezett? Ebben az esetben át kell variálnom a belső részt. Bl az gondolom elég sokáig húzza egy 18650 aksival. Az erősítő része meg már kilenc darab 21700 fog üzemelni. Egyéb nyalánkság is lesz rajta de az nem probléma elkészíteni. power bank és talán led lámpa. Töltés egy balanceres bms fogja megoldani. Csak most már azt kell kitalálni hogy a 18650 aksi töltése hogy legyen? 2 adaptert egy készülékre dugni nem igazán nyerő de 13 voltot valahogy le kell csökkenteni 5 voltra vagy olyan töltőt szerezni aminek nem probléma a 13v. Galfy tényleg hibás a felírat, de hát tévedni emberi dolog. A dobozról még annyi mivelhogy rengeteg aksit fog cipelni még ha fából is lesz akkor is a z aksi tartó egyben merevítésként is fog szolgálni. De ennyire még nem szaladnék előre. A doboz tervezés az a legutolsó mozzanat számomra mert jelenleg a 9-10 aksi és a két hangszórón kívül nincs még semmi eldöntve.
A táp alatt az akkumulátor is érthető. Én is arról használom. Sajnos akkuról is zavar keletkezett. A megoldás az lett, hogy a BT modul külön cellát kapott, egy saját TP4056-os töltővel.
A gyártó nagyon kedves, a BT modulok figyelmeztetnek arra, ha a cellájuk merül. Nóta közben belebeszélnek.
Ha lehet választani, valami nem éghetőt válassz. Ahogy egy tűzoltó mondta, a lion akku nem a barátunk....
Nagy teljesítmény, nagy fogyasztás/rövid üzemidő, sok akku, nehéz, drága. Kell a kompromisszum mindenképpen egy optimális megoldáshoz. A BlueTooth rövidítése BT és nem BL.
|
Bejelentkezés
Hirdetés |


















