Fórum témák
» Több friss téma |
Fórum » Crystal radio - detektoros rádió
Régebben voltak olyan adók ahol külfüldiül karattyoltak. De ezt már valamelyik gyári készülékkel fogtam be.
Detektoros rádiót ma - szerintem - nem a műsor hallgatásáért, hanem az építés öröméért épít az ember.
A legmegfelelőbb műsor az, amit maga válogat a kísérletező, a saját adójához. Az adó építése is jó kihívás, viszont gyári vevővel egyszerűen ellenőrizhető. Gitár "madzag nélkül" Lemezjátszó távadapter Ezermesterből ( Már a vevő építése is engedélyhez kötött... Ha valakit érdekel. )
Merre laksz? A kissebbségi rádiókon van zene, de a románoknál, ha nem dumállnak ott is van, Muravidéki rádió. Temesvári rádió. A Kossuth rádión néha van jó beszálgetős műsor, meg egyszer bepolvasták a FB kommentemet a covid alatt egy kritikát amin meglepődtem. Ott zene szite sosem nincs, ja meg a humoros műsorok jók rajta. Különben a multkor autóztunk egy rokonommal és az idegeimre ment az URH FM adás állandó ssogása, főleg kanyarokban, meg is jegyeztem ezért volt jó a középhullám nem susogott nonsztop. Szerbiában nincs KH adó, beszüntették a héború utén, ugyan is mind lebombázták.
Az adatlapomon nyílvános a lakhely.
Kossuth rádió, Talán-talán Muravidéki rádió, pár kisebbségi adók. De van a Temesvári rádió befogására is esély.
Idézet: „Az adatlapomon nyílvános a lakhely.” Nagyon dícséretes Cserébe előkaptam egy rádiót, és most nálam (Budapest, csak a kémek meg tudják) meglepetésemre nagyjából öt detektorossal esélyesen vehető adót találtam. Ebből egy magyar (nem Kossuth), kettőn tök jó zene volt. Amúgy, ami a detektorost illeti, nem csak antenna kell hozzá, hanem földelés is. Az pedig mindenképpen javallott.
Szia!
"Amúgy, ami a detektorost illeti, nem csak antenna kell hozzá, hanem földelés is. Az pedig mindenképpen javallott. " ugyan klasszikusan 1 pólusú ként irják az antennát de mindenütt két pólusúként működik. ----Vagy egy kiegészitó földelő huzallal .Jtaggal? ---Vagy egy jó "nagyfrekvenciás földeléssel"
Hello!
" nem csak antenna kell hozzá, hanem földelés is." Mint ahogy anno számtalan helyen láttam, Virágcserép, benne föld és egy 100-as szeg.
Üdv! Én is láttam ilyet.
Szia!
Az ilyen" kapacitiv földelés" 1-max2m vezetékkel tényleg nem sokat ér--bár sokszor jól működött. De a hálózati védöföld + vezetékezése már a KH is megfelelő, RH meg tökéletes mert; ha az huzal/ostor antenna (esetleg asszimetrikus dipól )λ/4.........λ/16 akkor a nagyfrekis földelése lehetne λ/16........λ/64 ---Ez már 540kHz -n is kezelhető huzalhoszt ad.--- s máris elfogadhatóan működik vevőantennaként. Az adástechnika meg egy másik eset. Egy tréfás kérdés; A 35m magas függőleges antenna (központi fűtés cső ) és a hálózati védővezető a 3-7 emelet magasságában milyen antenna lessz?A kicsatolása 3-10menetes tekercs ,egyik sarka a védővezetőre kötve. Végre működikSziasztok, Köszönöm a segítséget. Végre sikerült megcsinálnom, halk zajos de szól a kossuth.
Nincsenek túl szétszórva az alkatrészek?
A hullámhosszhoz kell viszonyítani, az pedig sáv alján 570 méter, sáv tetején 187 méter.
Szeretem ha látom hogy mi hogy megy és hova meg itt nem a kompaktivitás volt a lényeg hanem a siker.
Szia!
Azért ezt a kapcsolást nem olyan nehéz lekövetni ---elfér 10cm2 is mindenestül. S vannak működésre is kiható dolgok---a rezgőkör elemeit egymás mellé tesszük , hogy a külső hatásokra kevésbé hangolódjon el.
Árt a laptop, PC, DVB-T, fenyőfaégők stb. Próbálj minnél több cuccott kikapcsolni. HA jó az antenna análad a Pácsi nemzetisegi adó is be kellene hogy jojjon. Vagy nálad a MArcali.
Nekem Budaörsön bejött a Moszkva hangja ... (nemtudom honnan sugározták ) Talán két 70 menetes tekercs (vimes dobozon) és kétszer 500Pf forgókondi meg a 2kohmos katonai fülhalgató OA 1161 diódával volt a teljes rádió, az udvaron kifeszített kb30m "long Wire " antennával és a kb
30cm mélyre elásott rézlemez földeléssel .
ísziaíí4
régebben (10éve )Az Urálból Perm -Kazán--Samara adókkal. Valami hasonló antennák vannak ... A hozzászólás módosítva: Jan 5, 2025
germánium dióda mérésNémileg talán off, de kapcsolódik a detektoros rádiók egyik alkatrészéhez.Ígértem WBalázs fórumtársnak germánium diódát, és alkatrész teszterrel mértem néhányat. 5-5 darab OA1180-at és OA1182-t, ezek rendre 320-340 mV nyitófeszültséget és 0 pF kapacitást mutattak. És mértem 17 darab OA1162-t, ezek eléggé mást mutattak. Közülük 4 darab 700-800 mV-os nyitófeszültséget, és szintén 0 pF kapacitást mutattak. A többi csak 30 pF körüli kapacitást. Ezek mind bontott diódák, nem tudom mennyire jók vagy rosszak. Régebben, amikor én is játszottam detektoros rádióval, nem pont ezek, de hasonlók mind működtek. Egy csak kapacitást mutatót - pillanatnyilag más lehetőség híján - megmértem a teszterrel egy 1180-assal sorba kötve. Úgy a teszter diódát mutatott, megfelelően megnövekedett nyitófeszültséggel. Ki a hibás, a dióda, a teszter vagy én? Ez már végkép off! A diódák ilyen számológépből származnak.
Szia!
Ezen gépek kapcsán , még emlékszem a "kapcsoló dióda" kifejetésre , meg DTL logika. Szóval nem igazán egyenirányitásra készült/válogatták mint az OA1160-t. másik ; ősrégen az FM aránydetektorból bontott + a TV-k ból bontott diódák sem voltak olyan jók. Persze akkor még nem tudtam megmérni , csak próbálgatni.
Bővebben: Link1180 as 0.75V nyit a 1161 1.4V nyit.
A Tungsram katalógusadatok OA1180-nál. Egyébként a nyitófeszültség adatok 100mA-es áram melletti feszültségesésre vannak megadva, kisebb áramnál jóval kisebb lesz a nyitófeszültség is.
A hozzászólás módosítva: Jan 7, 2025
Nem tudom, hogy a teszter mekkora árammal mér, a kép alapján a 10 mA-re tippelek.
Nem vitatom amit írsz, de 1180 és 1182-vel működött nekem detektoros amíg a III.kerületben laktam. Ahol most lakom egyszer próbálkoztam, nem volt sikerem, de az épülő ház pincéjében vasbeton falakk között, igaz a vezetékes hálózat volt az antenna. De dombok közt lakom, aminek persze - ha jól tudom - a középhullámon nem kellene beleszólni. De fent a házban a gyári zseb- és táskarádiók (van pár darab) sem teljesítenek túl jól.
Nem úgy logikus ha xy mA és 0,7V nyit ha kisebb az áram nem nyit csak nagyobb feszültségen?
Össze kellene vetni, a germánium dióda karakterisztikáját a szilíciuméval..
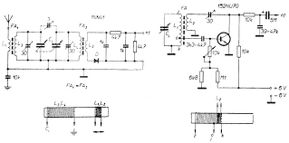
7. és 9. ábra.
Megfogattam a tanácsod jól közel raktam minden egymáshoz. Igazából semmi nem változott ugyan úgy zajos és halk. És ugyan úgy csak egy adót tudok fogni. Lenne hozzá ötleted hogy hogyan tudna hangosabb lenni és hogyan tudnék több adót is fogni? Azon gondolkodtam hogy megcsinálom azt a tekercset amit küldtél. Az segíthetne? Vagy valami más van a háttérben?
Szia!
A lehetőségek? Ha elég rossz helyen kisérletezel--helyváltoztatás.... A)Jobb /magasabb antenna , jó földeléssel, kikeresve a legjobb helyet a telken. B) Nagyobb Q val rendelkező rezgökör , Papir v légszigetelt kivitelben , esetleg Litze huzalból. v. dupla rezgőkör csatolással + illesztés.! c) a detektor előfeszitése egy elemről, vagy dupla diódás egyenirányitás. Az utólsó rajzon a dióda kinyitását/előfeszitését érdemes megnézni(a többi most nem érdekes )
Mindenféle képp jobb antenna. Járj utánna mi kelti a zavart. Led, DVB-t, PC, adig kapcsold le azokat. Tobb tekercs használata. Reggeli órákban és este jó a vétel. Bővebben: Link 2 tekercsem van, az antenna illesztő kondenzátor kihagyható. Ja és egy régebi projektem Bővebben: Link ez külső antenna nélkül is megy.
|
Bejelentkezés
Hirdetés |



















