Fórum témák

» Több friss téma
Fórum » Rádió javítás
 
Témaindító: Jancsika, idő: Jan 8, 2008
Témakörök:
Lapozás: OK   2 / 69
(#) gtk válasza Sebi hozzászólására (») Szept 1, 2008 /
 
Ez van a hatan:

Carmen 2.
S 624 A.
(#) Sebi válasza gtk hozzászólására (») Szept 1, 2008 /
 
Akkor az nem hazai gyártmány. Ilyen betűjellel egyik könyvben sem találtam...
Ki a gyártó? Nem derül ki?
(#) gtk válasza Sebi hozzászólására (») Szept 1, 2008 /
 
Roman, sajnos.
(#) Sebi válasza gtk hozzászólására (») Szept 1, 2008 /
 
Akkor nincs más hátra, mint általános elvek szerint eljárni. A puffer az kevésnek tűnik, de valamit ezzel a fesszel is kellene produkálnia.

Itt egy hasonló felépítésű, sokban nem különbözhet.

052.GIF
    
(#) gtk hozzászólása Szept 1, 2008 /
 
Koszi mindenkinek !

Sebi : kulon koszonom a rajzot, tenyleg nagyon hasonlo .

Talaltam nehany kondit megrepedt burkolattal.
Elindulok a vegfoknal. majd meglatjuk.
De nem csak vegfok baj van, mert a varazsszen sem dolgozik.

(#) gtk válasza (Felhasználó 13571) hozzászólására (») Szept 1, 2008 /
 
A vegfok nem dolgozik.
Kivettem az ECL 82 -t, igy 150V -rol a tapfesz felment 213V-ra. Szaradt a puffer kondi, vagy rossz a cso? Mire tippeltek?
Sajnos keznel nincs hogy egybol kicsereljem .
Esetleg az ECL 82 helyett lehet egy az egyben rakni valami mast is?
(#) burgdavid válasza gtk hozzászólására (») Szept 1, 2008 /
 
Szia! ECL82 helyett jó az orosz 6Ф3П (6F3P). A láb bekötés módosításával az ECL85-86 is jó helyette. Méregesd át az összes kondit és ellenállást, a kondikat első körben ohmmérővel, így a zárlatos példányok egyböl kiesnek. Ha a végfok már szól, haladhatsz visszafelé a nagyfrekis részeken !
(#) Sebi válasza gtk hozzászólására (») Szept 1, 2008 /
 
Gyanús nekem ez a dolog... Ha a cső kivétele ekkora fesznövekedést okoz, akkor a puffer nagy valószínűséggel száraz. A hangszóró akkor sem lehetne néma, hanem igen erős brumm jelentkezne. Először mérd meg, nem szakadt-e a hangszóró. (Tudom, hogy ez olyan, mint a használati útmutatóban, hogy be van-e dugva a készülék...) Nem biztos, hogy maga a hangszóró szakadt, hanem pl. (ha van) póthangszóró kimenet (és az leválasztó-kapcsolós) az is lehet KH-s.
A végcső nem hinném hogy rossz, hiszen szépen veszi fel az áramot, ezt a katódon mérve ellenőrizheted.
(#) edgar válasza gtk hozzászólására (») Szept 1, 2008 /
 
Igen, a radio roman gyartmany.
Nekem az egyik konyvemben meg van a kapcsolasi rajza.
sajnos a szkenerem mar reg nem mukodik.
fellepek egy roman forumra es felteszem a kerdesta sracoknak.
Amennyiben meg van a kapcsolasi rajzuk akkor kozlok velem.
A roman forum cime :
www.elforum.ro
A beszurt rajz kerese az alabbi linken lathatod:

http://www.elforum.ro/viewtopic.php?f=28&t=4549&p=277853#p277853

A kapcsolasi rajz nekem meg van , csak sajnos nem elektronikus formatumban.
Minden esetre elokotorasszuk neked.
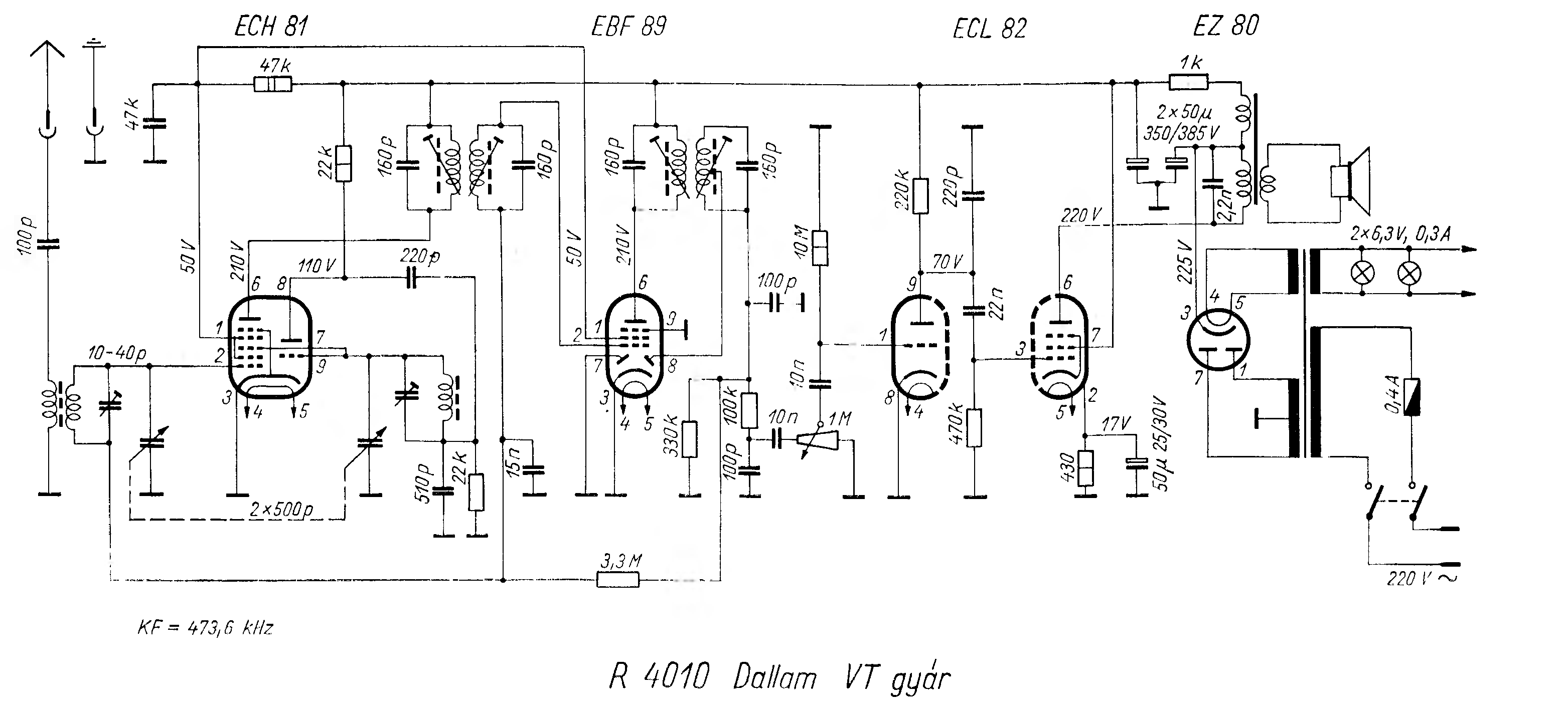
A hatlapon irja , hogy Carmen S616A vagy S624A Vagy S623A, a kapcsolasi rajzuk egyforma.
Egyszeru harom hullamsavos szuper vevo.
ECH81-EBF89-ECL82-EM80 es EZ81.
KOzben amik a sracok elokotoraszak a kapcsolasi rajzot meg en is korbenezek a Roman oldalakon.
Amennyiben nem jon ossze akor a napokban lemasolom neked a rajzat es beszurom ide a forumba.

Ps. Ma jartam a pinceben es nekem is van egy Carmenem.
Altalaban , ha reg nem volt meginditva a keszulek akor a szuro kondik kiszaradnak.
Ezeket regeneralni kell ha megkeri!!
(#) edgar válasza edgar hozzászólására (») Szept 1, 2008 /
 
Most latom a kapcsolasi rajzan, hogy a trafoja autotrafo !!
Vigyazz, hogy hogyan kezeled !!
A sasszira a nul vezeteket kosd !!
(#) edgar válasza gtk hozzászólására (») Szept 1, 2008 /
 
S616A_SS623A_S624A - egyforma a kapcsolsai rajzuk.
A doboz kivitelezeseben tenek el egymastol.
1965-os radiok.
(#) edgar hozzászólása Szept 2, 2008 /
 
A kerdeses roman forumon elkuldtek nekem a Carmen kapcsolasi rajzat.
Bővebben: Link
(#) Sebi válasza edgar hozzászólására (») Szept 2, 2008 /
 
Ezt én nem értem... Ezen a rajzon 2 ECH81 és EL84 szerepel. A kérdésben ECH EBF ECL csősor van. (és ezt az előző hsz-ben Te is így írtad).
(#) gtk válasza edgar hozzászólására (») Szept 2, 2008 /
 
Sziasztok !

edgar : koszonom hogy utana jartal a dolognak.
Sajnos nem ezek a csovek vannak a radioban, mint a rajzon.

Meg nem volt idom komolyabban megnezni. Ma a vegfok korul megnezem a dolgokat, meg a puffert is.

(#) edgar válasza gtk hozzászólására (») Szept 2, 2008 /
 
Hello

A sracok kozben beszurtak a helyes kapcsolasi rajzot:Bővebben: Link

Tobb variansban jelent meg annak idejen a Carmen.
Ezek kozul volt amelyik EL84-el volt kivitelezve.
A PDF fiileon a te kapcsolasi rajzod lathato.
Ne zavarjon meg, hogy Carmen S616 A .
A lap vegen irja, hogy egyforma a kapcsolasi rajzuk a tobbivel !!
(#) gtk válasza edgar hozzászólására (») Szept 2, 2008 /
 
Koszi szepen !

(#) edgar válasza gtk hozzászólására (») Szept 2, 2008 /
 
Szivesen.
(#) gtk hozzászólása Szept 2, 2008 /
 
Kimeno trafo + hangszoro problema volt.
Bekotottem egy 220V / 6/12V kistrafot kimenonek egy 8 Ohm / 1W -os hangszoroval es megszolalt :smoke:
A trafo melegszik, de tuleli egy ideig .

A varazsszem ernyoje nem nyilik ki. Ez meg hatra van.
A forgo kondi is eleg rossz allapotban van, foleg a kozep tartomanyban "surol".Van egy hasonlo probalom cserelni.

Milyen igenytelen fapados cucc es megis szol

(#) gtk válasza (Felhasználó 13571) hozzászólására (») Szept 2, 2008 /
 
Egyes fegyverzetek szelei picit serultek, karcosak.
Azert kiprobalom, koszonom !
Mi az az "ultra"?

(#) Medve válasza gtk hozzászólására (») Szept 2, 2008 /
 

Idézet:
„Mi az az "ultra"?”

Mosószer! Generációs problémák vannak itt Zoli!
(#) gtk válasza (Felhasználó 13571) hozzászólására (») Szept 2, 2008 /
 
Mososzer, de abbol is van 100 fele. Ezt igy nem ismerem, hiaba nevettek.
(#) oldman válasza gtk hozzászólására (») Szept 2, 2008 /
 
Mert nem ismered a reklámot: " Amikor ultra kerül a pultra..." (Na jó, ez vagy 35 éve volt sláger)
Vicc kívül ma is lehet kapni "gazdaságos" áruházban vettem nem régen, a mosogatószereknél keresd papír dobozos. A lényeg hogy minden makacs zsíros koszt leszed. Én motorblokk mosáshoz is használtam kevés vízzel péppé keverni ecsettel rákened 15 perc múlva bő vízzel lemosod és csillog! Kézmosáshoz is jó csak erősen zsirtalanit használat uán nem árt valami krém a barátnő / feleség készletéből.
Ha kondit/kapcsolót/hullámváltót stb. mosol, utána a csúszó érintkezőket egy csep műszerolajjal (jó ha grafitos) kend meg!
(#) Sebi válasza oldman hozzászólására (») Szept 3, 2008 /
 
"hiszen az Ultra - csapás a múltra"
(#) gtk hozzászólása Szept 3, 2008 /
 
Sziasztok !

Az elobbi radiorol van szo.
2X 50 µF puffer helyett rakhatnek 2X 100 µF erteku kondit?
Mekkorat ugrik a feszultseg?

Raktam egy nagyobb teljesitmenyu kimenot, megjavitottam az eredeti hangszorot,most jol szolnak a helyi adok KH-on. Viszont a rovid hullamon semmi nincs, meg zaj sincs.

Meg azon is tortem a fejem hogy lehetne feljebb nyomni valamelyik fokozat erositeset, hogy a kulfoldi adokbol is befogjon nehanyat; Esetleg egy tranzisztoros fokozatot meg beepiteni az elso rezgokor utan
(#) gtk hozzászólása Szept 3, 2008 /
 
Tovabbra is teljesen nema a rovid hullam meg a hosszu is. Antennaval is.
Mivel mindketto teljesen nema, igy nem gyanakodom kapcsolo hibara. A kozep kapcsoloja is rendben van.

Este a kozepen, rovid antennaval mar jonnek be dolgok

(#) edgar válasza gtk hozzászólására (») Szept 3, 2008 /
 
Ne kiserletezz !!
A Carmen egy hagyomanyos szupervevo.
Tessek vissza alitani az eredeti formara.
Az elektroncsoves egyeniranyitoknal jol meg van hatarozva a puffer kondi eteke !!
A rovidhullam eseteleg a hullamvalto vagy valamilyen mas ok miatt nem megy.
A csoves dolgokhoz erteni kell !!
Nem tranzisztor !!
Amennyiben nem vagy felkeszulve ra, akkor bizd egy hozza erto szakira.
Ne modositsd a kapcsolasi rajzot tanzisztoral.
Egy hozza erto egybol tudna, hogy mit is kellene csinalni ahoz, hogy a szelektivitasa megnojon.
Es stb......................

Ps. Ne csavargasd a tekercsek vasmagjait !!
Ez egy kulon gyakorlati dolog.
Foleg a KF reszen ne mukodj!!
A bemeneti es az oszcillator reszen lehet egy kicsit tornaszni de ahoz is erteni kell !!
Egy esetleges elcsavaras a vasmagoknal, elronthatod a szelektivitast !!
(#) gtk válasza edgar hozzászólására (») Szept 3, 2008 /
 
Nem modositom, ami a kondikat illeti.
Ha beleepitek is valamit akkor azt tudatosan csinalom es kiserlet keppen.

Nem talaltam 50µF-ot ekkora feszre, de rendeltem 22µF-osat es abbol rakok majd 2x2 -t.

Idézet:
„Egy hozza erto egybol tudna, hogy mit is kellene csinalni ahoz, hogy a szelektivitasa megnojon.”


Hamarosan en is fogom tudni :smoke:
De nem is annyira a szelektivitas a kerdes, mert meg az sincs egyelore a amit szelektaljon

Idézet:
„Ne csavargasd a tekercsek vasmagjait !!”

Nem is szeretnem !

köbzoli: Koszi. Keresem tovabb a hibat.
(#) edgar válasza (Felhasználó 13571) hozzászólására (») Szept 3, 2008 /
 
Igazat adok neked !!
Egy regi radiorol van szo.
Ki tudja, hogy 40 ev alatt hanyan babraltak bele.
Amennyiben a hosszu es a kozephullam mukodik akkor a roviddel sem lehet negy baj.
Hullamvalto kontaktus , tekercs leszakadas stb.
Egy ilyen regi keszulek restauralasa hozzaertest kovetel.
Legyen az egyszeru vagy komplikalt csove vevo.
At kell tanulmenyozni a kapcsolasi rejzit, ertelmezni azt, es utanna eszszeruen megjavitani.
Ez egy kulon szakma.
(#) edgar válasza gtk hozzászólására (») Szept 3, 2008 /
 
Nem tudom, hogy mi a bajod a kondikkal !!
Amennyiben elvesztettek a kapacitasukat akor szejel kell szedni es bele epitteni az uj kondenzatort.
Igy megmarad kulsoleg az eredeti forma.
A kondikat lehet regeneralni!!
Mar amelyiket !!
Az eredeti kimenot _ha jol ertettem valami baj van vele_tekercsetesd ujra.
Ne rakj bele egy akarmilyen trafot.
Itt illesztesi problemarol van szo ahoz, hogy a vegcso leadja az adott munkapontban a telyesitmenyt.
Lehet mas kimenot is rakni bele.
Viszont ahoz, hogy az optimalis Ra primer impedanciat megkapd a hangszoro impedanciajat is kell modosidsd.
Ez nem ujkeletu megoldas mer regebben alkalmaztak olyan esetben amikor egy egy regi radio setebe mar nem kaptak megfekeko vegcsovet.
Igy egy modernebbet raktak bele.
Az viszont mas Ra primer impedanciat kovetelt.
Ahoz, hogy az eredeti trafot illeszteni tidjak a vegcsohoz a hangszoro impedanciajaval jatszadoztak.
Ez egy erdekes eset amit kevesen tudnak.
A temaben kozoltem is levezetest de "kulfoldiul".
Megkeresem a rajzot atforditom magyarra es beszurom.
(#) burgdavid válasza gtk hozzászólására (») Szept 3, 2008 /
 
Hello! A kondikat nézd át, ne csak a puffereket, hanem a 100nF os hidegítőket is! Azok is okozhatnak gyenge vételt, ha szivárognak. A hullámváltó kapcsolóját jól nézd át, vízpapíros csiszolás (amennyiben lehetséges hozzáférni) és ahogy már valahol itt írták, pár csepp műszerolaj, vagy kontakt tisztító-kenő sprével be kell fújkálni. A tekercseket szeretik az egerek főleg ha viaszos... azt különösen szeretik lerágni. Méregesd át ohmmérővel, hátha szakadtak a kivezetései. Hosszúhullámú sávon nemtúl nagy a felhozatal, rövidhullámon az esti órákban érdemes próbálkozni, nappal szinte semmilyen adó nem jön Ha a középhullámú sávon a helyükön jönnek az adók, akkor a légforgó elvileg jó.
Következő: »»   2 / 69
Bejelentkezés

Belépés

Hirdetés
XDT.hu
Az oldalon sütiket használunk a helyes működéshez. Bővebb információt az adatvédelmi szabályzatban olvashatsz. Megértettem