Fórum témák
» Több friss téma |
Szóval ez nem egészen így működik egy normális rendszerben. Először is, a fűtés szobatermosztát általi leállításakor még kb. 1 perces utánkeringtetésnek kellene lenie. (Ez áramlásérzékelős főégővezérlésnél alacsonyabb fordulatszámon működik.) A másik, hogy a szekunderköri melegelvitel a hőcserélőn keresztül hűti a primer oldalt is, és ha ott esetleg nem is működne az utánkeringtetés, akkor is (ha normálisan van a hőcserélő bekötve) a természetes hőáramlás miatt hül az is. Persze az egész rendszernek az is feltétele, hogy az összes szerelvény "karnyújtásnyira" legyen egymástól. Gondolom a hőcserélő ott van rögtön a kazán mellett. Ott kell lennie ennek a második szivattyúnak is. Egyébként találkoztam már ilyen megoldással, csak ott padlófűtés volt kombinálva radiátoros fűtéssel.
Az utókeringetésnek az ég világon semmi jelentősege , mivel az csak a kkor mégy, ha a kazán belső hőérzékelője kapcsolja le a kazán fűtést, azaz túlfűtés van a promer körben. Ha a termosztát kapcsolja le akkor nincs utókeringetés, ennek a kazánnak ilyen a vezérlése te lényegtelen, mivel hogy a promer körben nincs més fogyasztó, mint a hőcserélő, ezért a promer rendszerben gyakorlatilag változatlan marad a vízhőmérséklet az utókeringetés egy perce alatt. E hőcserélő pedig nem a kazán mellett van, miért kellene, hogy ott legyen? A hcserélő jó messze van a kazántól, ott ahol a falfűtés egyik (legnagyobb osztója van.
Az, hogyy a szekunder kör a hőcserélőn hűti a promer kört is csak akkor igaz, ha mindkét körben megyx a szivattyú. Ha leálla promer körben a szivattyú a szekunderben meg nem, akkor a pimer kört és a csöveket csak a környezet hűti, jólassan fél egy őra alatt csökken le a hőmérséglet annyira, hogy ezt a csőtermosztát észreveszi.
szelep lesz, mivel rákötöttük az izzót a termosztátra és bekapcsolja! voltunk szomszédnál és neki alapból be sem engedi a meleg vizet a radiátorokhoz amíg nem állítja be a termot fűtés üzemmódba! Nekünk viszont simán, úgy is hogy lekötöttem a szelepet az áramról! így tuti a szelep lesz! Amúgy azon nincs valami állítás? mert a teteján mintha lenne valami tekerhető gomb vagy mi
Helló x31!
Csináltam egy kis rajzot az elképzelésemről a termosztátos fejtörő helyett. A kondenzációs kazánok elektronikájába nem nagyon érdemes belepiszkálni, mert "hideg" lesz a vége és garancia vesztés a szervizelésben. Ha eddig is csak ki-be kapcsolgattad a kazánt a termosztát érintkezőjével, akkor nem működött a lángmoduláció sem a kazánban. Vagy tévedek? CAN, vagy EBUSZ vezérlései vannak az ilyen típusoknak, amihez nem értek, de nálam az egymáshoz illő vezérlők 5 éve megbízhatóan teszik a dolgukat. A szakik annak idején felhívták a figyelmet arra, hogy vezérelhető hagyományos kontakt termosztáttal is, de a komfort előnyöknek lőttek. Üdv.:VIM
Továbbra is azt kell írnom, hogy egy jól megépített rendszerben a szekunderkörben történő hőelvezetés hűti a primer kört is. Abban igazad van, hogy az egész belső rendszer (értsd kazán) lassa hűl le ha nincs utánkeringtetés, de a hőcserélő közvetlen környezete (főleg magának a hőcserélőnek) kutya kötelessége hülni a hőelvétel arányában. Megjegyzem van olyan kazán, emly nem csak túlfűtés esetén keringtet a főégő kikapcsolása után még 1-2 percet. Márpedig ha a szekunderköri szivattyú működik, akkor ott jelentős a hőelvezetés. Természetesen nem másodperces késleltetéssel, de elfogadható időn belül hűt. Persze az sem mindegy, hogy a csőtermosztát hány fokra van beállítva. Mindamellett a szükség törvényt bont elve alapján, ha nincs lehetőség technikailag más megoldásra a körülmények miatt, akkor én továbbra is legalább egy próba erejéig javaslom a csőtermosztátos variációt. Szerintem akár kölcsönbe is tudsz valakitől kérni próbára egy csőtermostátot. A hőcserélő kazán közelébe való szereléshez meg csak annyit, hogy az összes rendszer, amit eddig láttam úgy volt szerelve a primerköri veszteség minimalizállása céljából. Ehhez azonban hozzá kell tennem, hogy a szekunder körök (a padlőfűtés miatt) egy keverőszelepen keresztül működnek. Mivel ott a visszatérő is hozzá van keverve az előremenő vízhez, ezért annak a hőfoka jóval alacsonyabb mint a primer köré, ezért ott a veszteség is kisebb a környezeti hőmérséklethez viszonyítva, főleg hosszú gerincvezetékeknél. (Gerinc vezeték egy-egy szakasza lehet, hogy nem fűtendő helységen keresztül van vezetve.)
A fűtés jrendszer jó. Az, hogy kinek milyen rendszer jó nem képezi vita tárgyát, nekem ilyen kellett és ez nekem jó (a legjobb).
A szekuder körre kösseg egy sima csőtermosztátot. köszönöm az ötletet, mondom, hogy miért nem jó. A szekunder kör egyáltalán nem meglegszik addig, amíg a szekunder szivattúja el nem indul. A szivattyűt viszont nem indítja el a csőtermosztát, mert a kör hideg. A delta T szekunder körben max 3 fok, tehát pl. elpremenő 30fog visszatérő 28 fok, amikor mér kialakult a hőegyensúly. Induáskor az előremenő egyenlő a környezeti hőmérséklettel ami kb 20 fok. a visszatérő is igyan ennyi. A csőtermosztát hiszterézise kb 5 fok. Belátható, hogy nincs olyan beállítás, amivel ez a rndszer jól működik. Most (3 éve) a promer körön van a csőtermosztát. Nem jó. A korábban leírtakat tudom ismételni. órákig keringeti fölöslegesen a szekunder kört, mire észreveszi, hogy nem kéne. A promer körben az előre menő vízz 40fokos a visszatérő kb 35, ha kialakul a hőegyensúly, a hőlépcső itt is csak kb 2 fok. Ez falfőtés, itt sokkal nagyobbak a tomegáramaok és kisebbek a főlépcsők okkal nagyobbak a hőleadó felületek mint a radiátoros rendszernél. Itt egy 1 fokos hiszterézisű falitermosztát pl. nem jó semmire, mert ez a rendszer a levegőt alig melegíti, sugárzással történik a hőleadás, és ezt mérni is nehezebb.
Ahogy írtam a sima csőtermosztát ki lett próbálva nem jó.
Most azon töröm a fejem, hogy pic sleep üzemmódban elég keveset fogyaszt, elemről is elmegy hónapokig. Tehát altatjuk, és a termosztát érintkezőjének állapot változására ébredne fel. Ekkor megállapítaná, hogy indítani vagy leállítani kell a szivattyút. Ez alapján a saját polarizált reléjét átbillentené és elmenna aludni a következő váltásig, amikor is újra felébred. Ez lenne az elv. A megvalósításhoz kérek tanácsokat. Melyik pic fogyasztja a leg kevesebbet alvó üzemmódban, és mennyit? Milyen frekin célszerű járatni, hogy sleep-ben keveset fogyasszon? Van-e esetleg valami hasonló projetről tudomásotok, ahol a slepp üzemmődból egy külső jel válzozás ébreszti fel a pic-et. Tudja-e kapcsolni a pic a polarizált relét egy portjáról közvetlenül, (pl tranzisztor nélkül)? Ha nem akkor ennek a tranzisztornak a táplálását is szabályozni kell, sleep üzemmődban nem kaphat tápot. Valami projekt kéne, amiben ezek a funkciók előfordulnak, az sem baj, ha nem együtt. Elkezdeném tanullmányozni.
Sziasztok!
Az említett szelepen nincs állítási lehetőség? mert alapból nyitva van /ami ugye nem baj mert legalább tudunk fűteni a radiátorok csavargatásásval/ ez a szelepünk van fent: http://www.hegedusestarsabt.hu/index.php?page=shop.product_details&...mid=27
Ami linkeltél az nem egy szelep, hanem szelepállító. Ez arra képes, hogy az osztón, vagy radiátoron egy szeleped mozgasson. A szelepből eg pöcök áll ki, ezt nyomja be ill engedi vissza. Azt írtad, hogy szakembert kell hívnod. Szerintem is ezt kéne tenni. A szelep működését lehet ellenőrízni, kézzel iy nyomva lehet tartani, és erre nyit vagy zár. De ha új a lakás gondolom fizettél érte pnzt is a kkor garancsia is van. Ha most elkezded buherálni nehogy később azt mondja aki elcseszte, hogy te rontottad el. Én egyértelműen a kivitelezőhöz fordulnék a problémával, hiszen új a lakás és a fűtés az elejétől rossz. Ezt a megoldást miért nem vetted számításba?
Szia! Igazad van a garanciával kapcsolatosan,csak az a bibi,hogy "leléptek"tehát mehetek a pékhez panaszra! Nem tudom kinek bejelenteni a hibákat.Azt hittem meg tudjuk oldani a problémát de tévedtem.Köszönöm szépen a segítséget,rendesek vagytok,hogy próbáltatok segíteni!!Üdv: Tündi
Szia!
Nagyon köszönöm, működik!
nah megoldódott a probléma!
annyi volt a gond,hogy a szelepállító tetején van egy elfordítható kapcsoló amit el kellet csak fordítani! Ezt kérdeztem is, hogy nem e azt kellene átállítani, de senkinek nem ütött szöget a fejében a kérdés, mivel nem válaszoltak rá! Csak azt szajkóztátok, hogy hívjunk szerelőt. Végül a szerelő ki sem jött mert telefonon elmondtuk a hibát és mondta, hogy csak tekerjük el egy 5forintossal és jó lesz! A lényeg, hogy megoldódott!
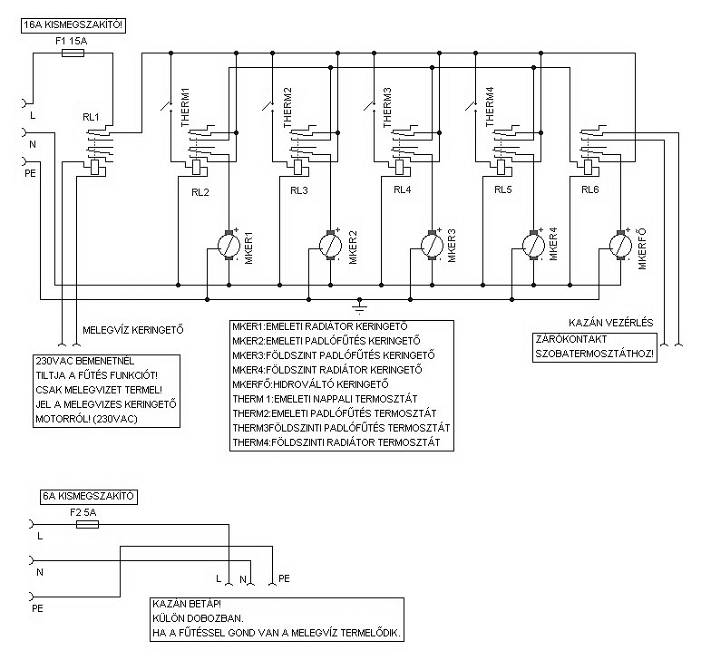
Sziasztok.Olyan problémám van,h van 1 Hőterm29 kazá, 3 db.keringető szivattyú amivel 3 szitet szeretnék fűteni,külön 3 db.szoba termosztáttal vezérelni.Tud valaki valamilyen bekötési vázlatot küldeni?Hogy lehet ezt kivitelezni?Mi kell még hozzá?Előre is kösz a segiséget!
Üdv.:ficeek
Szia!
El kell döntened, hogy melyik emelet a legfontosabb, azaz melyik élvez elsőbbséget a másik rovására. Ha a legfontosabb nem kér fűtést, akkor kap a középső, és ha az sem akkor a leglényegtelenebb fog fűteni. Ha egyik sem, akkor nem fogy a gáz.... 3 db 24V-os relé kell, és némi vezetékezés. A rajz mellékelve. üdv. Foxi
Szia! Talán ez segít ! 1 hónapja csináltam. Működik.
Sziasztok.Elöször is köszönöm a segitségeket.Rendesek vagytok! Szeretném úgy, 1 kazán ról 3 szint teljesen függetlenül vezérelni mivel külön családok laknak szintenként.Még 1 kérdés: Pl. kettő szinten bekapcsol mind a két termosztát az nem gond?
A kazán vezérlés ilyenkor nem kap túl áramot?Sajnos én ehhez nem nagyon értek.Előre is köszönöm! Üdv: ficeek
Üdvözletem!
MMG AM termosztát helyére tennék fel egy Computherm Q7 RF-t. A régiben van 3 vezeték 1-2-3 Fázis-Kapcsolószál-Nulla (nálam kék-fekete-szürke) Az újban meg 5 hely N-L-1-2-3! Egy szerelő azt mondta, hogy a régiből a 2-3-ast kössem be az új 1-2-be! Ennyi lenne az egyész? Kapcsoló szálat és a nullát? Mi van a fázissal? Ugye a réginél már ott van az áram a három vezeték feljön a pincéből a kazántól, ahol van egy kismegszakító bekötve és onnan jön a a három vezeték. Vagyis nekem oda nem kell már külön N-L?? Egy picit össze vagyok zavarodva! Valaki tegye nekem ezt tisztába! Előre is köszike!!!
Most látom a régi kommentekből, hogy a fázis és a kapcsolószál kell ebbe az új termosztátba. Akkor külön én nem kötöm be az N-L-t ugye? Hú érzem, hogy ez hülye kérdés lesz
Gondolom az MMG-ben nem biztos, hogy így van sorrendbe bekötve, hogy 1-Fázis, 2-Kapcsolószál, 3-Nulla???
Tegyük tisztába.Nekem is ilyen termosztátom van, így tudok 1-2 jó tanáccsal szolgálni.
A kazánnak van egy vezetéke ugye,ami be van dugva a konnektorba. Itt ahogy bedugod,attól függ hogy melyik a fázis és melyik a 0. A lényeg az hogy a keringető szivattyú a 230V-ból az egyik ágat megkapja fixen,a másikat a termosztátod reléje kapcsolgatja vagy megszakítja. A régi fajta termosztátnál azért kellett odavinni a 230V másik felét,hogy a glimm lámpa világítson hogy ha kapcsolt a termosztát. De ez neked nem kell már. Csak az a két szál vezeték kell,ami megszakítja a szivattyúhoz menő ágat.Ez lehet éppen fázis is,akkor vigyázz,mert megrázhat! Van viszont valami,amit nem árt ha tudsz,mert én megjártam nagyon. Érdekes jelenség volt tavaly egyik nap. A termoszát 38 fokot mutatott,közben a szoba csak 17 fokos volt. Reseteltem az elektronikát,de újra csak ez az állapot volt.A programozható termosztátban lévő relé egyszercsak kigyulladt, még szerencse hogy láttam ahogy lángolt és elfújtam a lángot. Ha nem vettem volna észre,akkor a lakás le is éghetett volna.szétszedtem és kiderült,hogy a relé forrasztása a sok kapcsolástól elvált a fóliától és így szikra,majd tűz keletkezett. Át kellett hidalni vezetékkel,mert a panel szenessé vált a relé részen. ennél külön van egy relé panel az elektronikától. Azóta tanultam belőle,és beépítettem a kazán vezérlő dobozkájába egy kis külön áramkört. Itt egy combosabb relé van,ami kapcsolgatja a szivattyút, ezt a relét pedig kapcsolgatja a termosztát reléje. A +12V-os megcsináltam trafó nélkül kondi+dióda a 230V AC-ből.Ha érdekel,szívesen megosztom majd.
Az szép volt!!!
Másnál is volt hasonló jelenség???Mert akkor még most szerelek fel egy poroltót mellé vagy egy tűzálló tálba rakom Nincsen keringető szivattyú, szimplán a kazán és a termosztát. Akkor mindegy, hogy a nulla-kapcsolószál vagy a fázis-kapcsolószálat kötöm rá? A mellékelt történeted azért belém hozta az ideget. Minden esetre köszike!!
Ácsi!
Valami nem kerek! A gázkazán úgy indul el, hogy a benne lévő keringető szivattyú elindul, és az így létrehozott nyomás felnyitja a kazánban lévő műanyag membránt és akkor gázt kap a kazán. Én még nem láttam olyan gázkazánt,amiben nem volt keringető szivattyú. Az áram oda kell eleve. A gáznak nem kell áram. A programozható termosztát reléje egyébként nem mindennapi, néztem hogy lehet-e kapni, de úgy tűnik hogy speciális.Úgyhogy vigyázni kell az élettartamára.
Két szál vezeték van.Az egyiket fixen megkapja a ker. szivattyú, a másik ág van megszakítva és megy a termosztáthoz. Így nincs jelentősége a fázisnak vagy a nullának. Ha a nullát kapja fixen,akkor a fázis van megszakítva. Ha a fázist kapja fixen,akkor a nulla van megszakítva.
A villanyszerelési előírások azt mondják,hogy a fázist kell megszakítani, a nulla a fix bekötésű. Ha a kazánodat fixen kötötte volna be a villanyszerelő és csak kisautomatára van kötve az óránál,akkor a fázis van megszakítva.De ha a kazánból jövő vezeték végén dugvilla van,ami a konnektorba van dugva,akkor ott a fázis van megszakítva, az kérdőjeles dolog.
Ami rajzot feltettem azt akár 20 emeletes épületig lehet bővíteni!
(lakásonként! )Ha nem érted a működését akkor jelezd! Szerintem tök egyszerű..... és üzembiztos...Már működik és nagyon pöpecűl! ? ![]() (ettől bonyolultabb vezérléseket oldok meg nap-mint-nap! )
Jaja! Dugvillás a történet! Én csőrendszerbe építhető nedves tengelyű keringetőszivattyúra gondoltam. Na, olyan nincsen!
Ha van papírjka a kazánnak,akkor abban biztosan írnak a szivattyúról is,ami benne van. De ha le tudod venni a burkolatot,akkor neked is látnod kell a csőrendszerbe beiktatva.
Valaminek mozdítania kell a vizet,hogy legyen láng. A sima átfolyós vízmelegítőnél van az,hogy a vezetékes víz nyomása maga képezi a nyomást,ha megnyitod a csapot. Ott nincs termosztát,se szivattyú. De kazánnál szerintem mindig van szivattyú.
Hello!
Mondjuk inkább azt,hogy a családi házaknál alkalmazott kazánok többségénél a kazánba van beépített keringető szivattyú. Természetesen vannak más fajta kazánok is,ahol külső keringető szivattyú van,illetve régebben amennyiben kellően nagy átmérőjű csövekkel volt megvalósítva a fűtési csőhálózat,akkor szivattyú nélkül is létre jött a keringés,vagyis a fűtés vagyis ott nem volt szükség szivattyúra. Üdv. Ottó
Egyetértek.
Szóval átlag normál gázkazánnál kívül vagy belül,de lenni kell szivattyúnak és azt vezérli a termosztát. Gázkazánnál kell szivattyú mindeféleképpen. Vegyes tüzelésű kazánnál van az,hogy áramlik a melegvíz magától és akkor nem kell. De szüleim házánál is beiktattunk egyet,amit gombnyomással időzítve lehet kapcsolni.Érezhető a szivattyú hatása,hamarabb van meleg a radiátorokban,egyenletesebben melegszik mindenhol.
Vegyes tüzelésű kazánunk van-volt és ez lett kibővítve egy gázkazánnal(Thermotéka ES25). Nincsen szivattyú mivel akkora csövek vannak mint a karom...
Így is szuper a fűtés, nagyon hamar fent van a meleg víz. Lehet, hogy ki lehetne egészíteni, de eddig meg voltam vele elégedve.
Néztem képen ezt a robosztus ES25-öt. Nem tudod levenni a burkolatot,amikor nem megy,hogy látsz-e a cső körbe beiktatva egy szivattyút?
Kellene hogy legyen benne,csak kívülről nem látszik. Vagy tényleg nem lenne benne? Egy másik fórumon azt írták,hogy ennél a típusnál vigyázni kell arra,hogy 60 fok alattira ne legyen állítva a vízhőfok,mert hajlamos a kilyukadásra akkaro gyorsan. (ez csak plusz info,de gondolom ezt te is tudod akkor)
Drága barátaim az Úrban!
Tegnap megtörtént az, amire oly sokan vártak...bekötöttük a Q7 RF-et! Most leírom okulásul mindazoknak akik egy régi hagyományos termosztát helyére akarják bekötni: Ha levesszük a régit és szabadon hozzáférhatő a 3 vezeték, akkor az N-be a Nullát, L-be a Fázist kössük be. Ekkor marad egy darab vezetékünk árván, ami a kapcsolószál. Ezt kössük be a 2-sel jelölt pontra. Így már kapcsolni fog a vevő, ha az adón felvesszük a hőfokot, de a kazánt még nem fogja bekapcsolni!!! Némi görcsölést követően valamelyikünk rájött, hogy csinálni kell egy áthidalást!! Egy darab vezetékkel össze kell kötni a fázist és az 1-es pontot és máris tökéletesen működik minden! Villanyszerelő volt az ,a ki segített. Megmondom őszintén , hogy nem jutott volna eszembe, habár utólag már logikusnak tűnik. Szóval kell a fázis és a nulla is!!! Feltétlen!!! Remélem segítség lesz a leírtak! Üdv mindenkinek!! |
Bejelentkezés
Hirdetés |







