Fórum témák
» Több friss téma |
Fórum » Akksitöltő gond
Szerintem 3 Ω az több száz, ha nem ezer m ón ellenállása.
Hát attól függ mekkora átmérőjű
! De egy 0.8mm átmérőjűből mértem előbb egy métert csak kíváncsiságból és 0.9 ohm volt!
Hello! Mellesleg, ha még valakinek nem világos, hogy mi az a cín, akkor megmondom: forrasztóón. Mifelénk is ezt a nevét használják...
És müködik?
ja működik, megoldottam
sziasztok!
akksitöltőm nem müködik,diódákat kicseréltem....igy sem! Van benne még egy tégla alakú fehér kütyü,amire ez van irva:5w0.1ohmJ. Szerintetek Ő a hunyó???
Szia!
Mérd ki! 0,1 ohmos ellenállásnak kell lennie
Ne forraszd ki. Ha jó, akkor majdnem rövidzárat kellene mérned rajta.
Sziasztok , az lenne a gondom , hogy van egy orosz reszursz-1 nevezetü töltőm , és nem tudom hogyan kell beálitani a vezérlőjét , ha valaki el tudná magyarázni naygon megköszönném.
Hello!
Ránézésre, sok állítgatni való nincs rajta.. - Az áramszabályzó R6 potival a töltőáram szabályozható be. (de ezt az előlapon tekergetheted) - Az R20 trimmer-potival, pedig a töltés végfeszültségét lehet beállítani. Töltés közben az aksi feszültségét mérve, ha az aksi már elérte a 14,5V feszültséget, a trimmer-potit addig tekered az R19 ellenállás felé, míg a Led nem jelez. Vagy ha van szabályozható tápegységed, akkor kiveszed a biztosítékot, majd a tápot polaritáshelyesen, az aksi helyére csatlakoztatod. A feszültséget lassan fel-le változtatva, ellenőrzöd, hogy a Led jelzése hány volton kapcsol be. Ha a bekapcsolási pont nem 14,5V-ra esik, akkor módosítod a trimmer-poti állását és újra mérsz. (A visszakapcsolási feszültség értéke, alacsonyabb lesz mint a bekapcsolási, a VT5-VT6-al felépített Schmitt trigger hiszterézise miatt. De ez az érték nem számít, csak a bekapcsolási feszültség.) - Ez után, már csak ellenőrizni kell a töltés alatti viselkedést. (Tehát első töltéskor mérni az aksi feszültségét) Persze előtte vedd le a tápot, és tedd be a biztit. üdv! proli007
Vállalkozásoknál kötelező érintésvédelmi vizsgálatot végeztetni és azt jkv el igazolni. Nem is értem eddig hogy müködhetett az a kocsma .....
helló!
Tudna valaki segíteni? 1,2V-tól 14,4-os akkumulátorokhoz töltőt szeretnék készíteni, amibe van túltöltés elleni védelem is.
Szia!
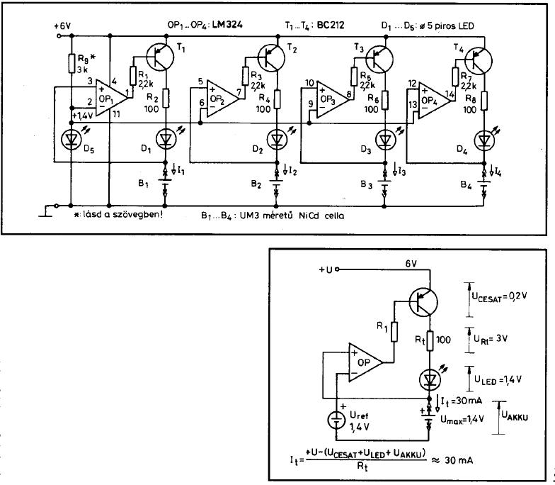
Összeraktam egy kapcsolást. Ez csak 1.2V os akkuhoz jó. De ennek alapján tudsz csinálni más akkuhoz is. Ha a töltés kész akkor a LED elalszik. Pontosabban ha a cella feszültsége elérte az 1.44V-ot. Az R2, R4 állítja a referencia feszültséget. Üdv: Dempsey!
Egy referencia nem ártana, mert ha a táp ingadozik, akkor a töltési végfeszültség sem lesz állandó.
Ez mi? Ez a töltő? Vagy ez a töltést kapcsoló? Mert ha ez a töltő, három év alatt fog feltölteni, ugyanis a LEDen keresztül történik a töltés, ha a kapcsolója, akkor pedig valami kapcsolóelem még hiányzik.
Ez csak egy példa itt a töltő áram 30mA! Tudom hogy elég kevés,de nem tudom milyen kapacitású akkuhoz kell.
Közben megvan a rajz, ami a hobbielektronikából van. Én a kapcsolást csak kiindulásnak adtam egy két dolgot átalakítva olyan töltőt csinál amilyet akar. Nagyjából jól emlékeztem a rajzra csak én a referenciát másképp csináltam.
Kösz a rajzokat.
De én olyanra gondoltam, ahol potival lehet állítani a feszültséget és az áram erősségét. Ez bármilyen akkuhoz jó szerintem. pl.: zselés (12V, 6V), NiMH akkumulátorokhoz jó
Sziasztok,
Elsősorban Mex és proli007 válaszát várom, mert az előzményekben ők válaszolták meg dobo problémáját még 2007 júniusában (236279) Nekem is hasonló történt a Ресурс-1 típusú orosz akkutöltővel. A fordított akku rákötés kiverte az összes biztosítékot és leolvadt egy forrasztás. Helyreállítás közben arra gondoltam, hogy ki kellene védeni ezt a lehetőséget ami az elmúlt 21 évben most először fordult elő szegény töltővel. Ha működés közben összeérintem vagy fordítva teszem az akkura akkor természetesen nincs semmi baj , mert a tirisztorok nem kapnak nyitóimpulzust. De ha az általános tanácsoknak megfelelően a (rosszul) felhelyezett akkusaruk mellett dugom be a konnektorba akkor egy bekapcsolási tranziens impulzus kinyitja a Tirisztorokat és az akku egyenárama miatt ez hosszú időre nyitott is marad. Vagy a biztosíték, vagy a forrasztás vagy a diódák leolvadásáig. Meg tudnátok magyarázni milyen eseménysor adja a bekapcsolási impulzust? Arra gondoltam, hogy a tirisztor gyújtó áramkörét megszakítanám, ott ahol a kondis becsatolás van a tirisztorok felé és csak a helyesen felhelyezett akku tudná zárni a relé kontaktusát. Szerintetek ez járható út. Még nem próbáltam ki, mert sürgősen akkut kellett töltenem és örültem, hogy működésre bírtam az öreg orosz technikát. előre is köszi. Csaba
Hello!
Tekintve, hogy soha nem volt ilyen töltőm, elég nehezen tudom megmondani, mi történhet a bekapcsolási tranzies alatt. Viszont a relé esetleg segíthet a bajon. Amúgy soha nem szimpatizáltam ezzel a kondis gyújtóimpulzus "átadással". Ha visszaolvasol, akkor láthatod, hogy egy gyújtótrafó sokkal korrektebb megoldás lehet. De ez alapvetően nem zárja ki a tirisztorok illegális begyújtását, ha VT3-VT4-el kialakított PUT kapcsolás, bekapcsoláskor készít egy impulzust. Viszont szerintem a bizti helyett berakott 24V-os izzóval, kár nélkül tesztelhető a bekapcsolási jelenség. Legfeljebb világítani fog. üdv! proli007
Köszi a hétvégén megpróbálom. Az R20-al lehet állítani a lekapcsolási feszültséget? Mert most 15 V felett kapcsol le, ezt is beállítanám 14,5-re.
Hello!
Természetesen a R20 potival állítható be a lekapcsolási feszültség. üdv! proli007
Sziasztok!
AZ lenne a kérdésem, hogy szeretnék telefonhoz töltőt éíteni..namost ezt úgy szeretném megoldani, hogy fogok egy 6V-os 20W-os trafót egyenirányítom szűröm 6K pufferrel aztán 7805-el stabil 5V-ot állítok elő majd ez után is teszek vagy 2K puffert. Kérdésem, hogy ez a telónak nem fog ártani, vagy valami károsodást okozni? köszi!
Szia!
Ha a telefonba van beépítve a töltő elektronika akkor nem lesz gond szerintem én mindig USB-ről töltöm az enyémet.
A telefon gyári töltője helyett kéne.. nokia 6300-hoz de nem hiszem h a töltőbe lenne az elektronika szrinted?
Van hozzá adatkábel? Ha van és bedugod USB-be akkor tölt? Mert ha igen akkor szerintem jó lesz a megoldásod mert a telefonba van a töltő elektronika.
|
Bejelentkezés
Hirdetés |




! De egy 0.8mm átmérőjűből mértem előbb egy métert csak kíváncsiságból és 0.9 ohm volt!







