Fórum témák
» Több friss téma |
Fórum » Csöves erősítő készítése
Ne feledd betartani a fórum viselkedési szabályait, és a topik megmaradásának feltételeit. [link]
A téma átmenetileg fagyasztva lett, hozzászólni nem tudsz!
Kettőt itt is találsz ami már bizonyitott !
Giccses lenne, ha beleraknám az egyik DUAL-omat, ebbe a régi lemezjátszódobozba ?
Én szerintem szép lenne.
Mint egy öreg retros csöves cucc.
A megjelenés szempontjából izlés kérdése, de az akusztikus visszahatást biztosan rontaná egy ekkora doboz...
Hali!
Szerintetek miről van az,hogy mikor be izzítom a GU50-et ilyen lilás színe lesz a csőnek?
Hali!
Már többször leírtuk, a cső gyártási körülményei miatt bent maradt gázok világítanak, idővel elég, és elmúlik a lilás fény. Sokan mondják még, hogy nagyfrekis gerjedés, de én mértem, nem az. Bár attól is lehet, de ha mérve nem gerjed (na meg akkor egy idő után felizzana az anód, és ezzel együtt elhalkulna az erősítő), biztos lehetsz benn, hogy új a cső.
Attól ha beizzitod még nem lesz kékes lila ! Valamit rosszul értelmezek csak a fűtést kapcsoltad rá vagy egy adott kapcsolásban az anód feszültség is ott jelen van .
Beizzítás: bekötött állapot, a cső járatva. Felfűtve: csak a fűtés megy. Szerintem
Csak fűtve 100%, hogy nem lesz lila fénye… (Nem próbáltam, de tuti így van.)
Feltennél róla egy képet? ... úgy megnézném.
Nekem eddig a 6P3SZ-E csöveim produkáltak ilyet, de csak akkor ha rendesen kihajtottam őket és csak sötétben lehetett jól látni.
Nálam az EL34-eknek volt egy kis lilás beütése, de csak ha belenézel, akkor látszik a rácsok körül…
Ez olyan, mint a kenyeresdobozok. Érdekes.
A 6P3SZ-E! szépen világít 300 V fökötti anódfesznél.
807 is. Sőt, a kivezérlés szerint ingadozik is a fényerő. 1. nem kell nixi cső 2. a lányok sokkal hamarabb leveszik a b...
Igen, valóban van kettő, csak valahogy eléggé átláthatatlan, legalábbis számomra. Nemértem a jelöléseket pl. Másrészt két kapcsolás van, és jóval több áramkör készül. Nem nagyon értem... de tényleg szépek, és biztos jók is.
Igen, mert ott van varázsszem is. Keresd meg vaahol az Ágoston féle "bilbiát". abban van néhány változat. Innen meg ki tudod egészíteni. Alapvetően GU-50 kell hozzá és 6SN7 (ami 6H8C) vagy ECC82, de lehet ECC83-al is próbálkozni. Nekem egy változat volt (6H8C-vel) és elégedett vagyok vele egyelőre.
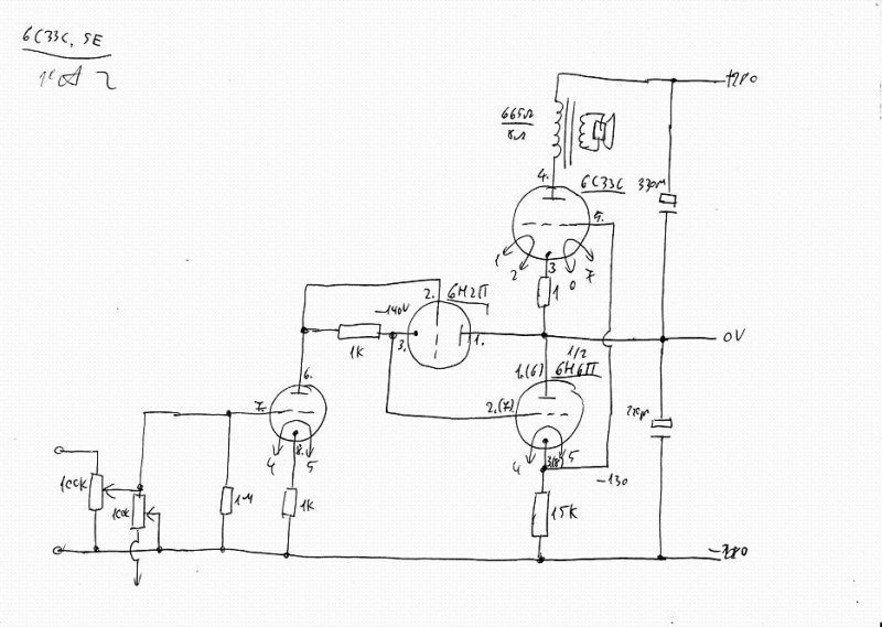
Nem titok már itt a topikon, hogy otthonosan mozogsz a direktcsatolásban (is). Mit gondolsz van esélyem meghajtani a 6C33C-t így, ezekkel a csövekkel (még nem próbáltam ki, az ellenállásoknak csak hasraütéssel adtam értéket, valószínűleg a 6N6P katódjába nagyobb ellenálás kell), már megvolt a másik verzió, mire rájöttem, hogy másképpen kell méretezni a kimenőtrafót egy kis belső ellenállású triódához, mint ahogyan a szokásos képletekből adódik, és nem változtattam a meghajtáson érdemben azóta. Remélem, elvi hibát nem raktam bele.
CHZ véleménye is érdekelne, de sajnos nagyon felszívódott a topikról, nameg másoké is természetesen.
Ágoston féle "biblia" egy könyv?
Szia Sturbi Mester!
Teljesen egyetértek Veled, a 6N6P alá én egy 20k-t tennék, vagy a 6N6P másik felét ügyesen áramgenerátorrá alakítva... A meghajtócső katódellenállását viszont érdemes átblokkolni, javul tőle a magasátvitel, meg a nagyobb erősítés rá is fér egy 6C33C meghajtására
Bocs rosszul fogalmaztam!
Mikor rendesen kapja az anód feszt kb 350v-ot. És mikor nincs késleltetés és rá megy a 350v kb 10-15 másod percig lehet látni ilyen halvány lilás fényt. ![]() UI.: Hasonló minz ez csak nem ennyire.
Tud valaki jó kapcsolást 6П3С-Е PP-hez, mondjuk 6Н6П meghajtással (6Н2П is megfelelne)? Köszi előre is!
Aha. Többször hivatkozott könyv itt. Ágoston Lajos - Audiofil erősítők építése. Vannak benne hibák is, de nem vészes. Itt a második.
Azért ez sem tud mindent, de kezdésnek jó. (Ha pesti vagy, akkor a Szabó Ervinben megvan 2 helyen. Idézet: „csak valahogy eléggé átláthatatlan,” Mindent lehet mondani csak ezt nem ! Idézet: „Nemértem a jelöléseket” Ezt már jobban elhiszem . Idézet: „Másrészt két kapcsolás van, és jóval több áramkör készül” Ebből is adódik azért hogy egy csöves erősítő azért nem hip - hop és kész . A foto albumban csak a képek tájékoztató jellegűek ezért ha valami nem tiszta akkor kérdezz ?
Ha elég masszív a doboz (ami gondolom nem műanyagból van), szerintem megfelelne a célnak.
Ha hozzám kerülne egy ilyen készülék, nem "barmolnám" szét. Meghagynám eredeti állapotában, esetleg néhány (nem túl szemelőtt lévő) alkatrészt újabbra cserélnék a jobb hangzás érdekében. Bár legfőképpen digitális médiát hallgatok (CD, MP3, Web-rádió...), de néha jó érzés nosztalgiából meghallgatni egy öreg bakelit lemezt.
Én viszont kérdeznék is mindjárt. Még jó régen elkészítettem a nálad is fellelhető EL84 PP-t. Az élesztésnél adódtak gondok, ezért félretettem. A végcsöveket kiszimmetrizáltam (katódellenállásokon mért feszültséggel).
A gond a következő, nem szól az erősítő .Ráadom a hangfrekis jelet és nagy semmi. Valami nagy jel esetén torzan recseg belőle, de ennyi.
Átláthatatlant azért írtam, mert pl a pp ben van a kapcsoláson írva olyan, hogy meghajtáshoz két darab. Most az hova megy a meghajtáson?? mert ott csak olyan van jelölve, hogy Vf1 és Vf2 mást nemlátok ahova kerülhetne, és a meghajtás táp? azt sem értem. Másrészt a generátor jelölések a kapcsoláson a Vs1 430 mondjuk az mi??... de nem baj.. egyenlőre megcsinálom a PL508 at és majd utána nézelődök, hogy mit kéne építeni. De azért köszöönm, elmentettem az oldalt mint lehetőséget.
Más: nemtud valaki MAGNOVAL csőfoglalatot szerezni? PL508 vagy a PL509, EL509, EL519 -hez való, nekem a már sokszor emlegetett 508 ashoz kellene.
A Vs a "Volt supply" vagyis tápfeszültség.
Nem pesti vagyok, de köszönöm, majd utánanézek egy két helyen.
Anno felajánlottam a segitséget és akkor azt mondtad menni fog !
A meghajtás szimetriát beállítottad rendesen ? Egyébként milyen tervek alapján épitetted , láthatnák belőle képeket talán többet tudnék mondani .
Látom alapvető rajz értelmezés a hiány de semmi gond azért vagyunk hogy segitsünk . a meghajtás rajz ugye külön és maga a vég fok is külön rajz ezzel mi a gond csupán csak a kettőt egymás után kell helyezni !
Idézet: „Vs1 430 mondjuk az mi??..” Kérlek szépen ez a tápfeszültség jelölése. Idézet: „és a meghajtás táp?” A táp rajzok azok itt nincsennek feltüntetve , ha kell akkor azt is mutatom ! Mondtam az előbb a foto album csak tájékoztató nem komplett dok -ot tartalmaz , nem az a fő mondani valója.
Ááá értem... akkor ha meg akarnám építeni akkor szóljak és elküldöd a tápot is és a többit így már világos. Hát még kezdőnek számítok , ezzel szemben már építettem egy jópár dolgot(csöves erősítőt még nem), de én thevenin generátort kapcsolási rajban nem igazán láttam még táp jelölésnek, de végülis jogos...
|
Bejelentkezés
Hirdetés |




Csak fűtve 100%, hogy nem lesz lila fénye… (Nem próbáltam, de tuti így van.)







