Fórum témák
» Több friss téma |
Fórum » CCD chip
Hello mindenkinek
Valaki nem tudna egy olyan kapcsolást ahol egy CCD chipet (szkennerből) PC-re lehet kötni. Tud ez egyáltalán valamilyen képet mutatni??
[link=http://www.mauve.demon.co.uk/vvl/no.html]http://www.mauve.demon.co.uk/vvl/no.html[/link]
Itt van részletesen, hogyan működik, hogy kell lekérni az adatot, stb...
Találtam egy ICX434AQ SONY chipet. Az lenne a kérdésem, hogy ismertek-e olyan kapcsolást, amellyel ezt meg lehetne hajtani, pc-n az általam beállított expozíciós idő beállításával le tudnám tölteni róla az elkészült képeket. Egyáltalán vmi infót kamerák házilagos elkészítésére.
Helósztok fórumtársak, van egy CCD-m.. lineáris, valszeg monochróm, vonalkódolvasóban van, összesen 22 lába van, de van rajt egy kis nyák (flip-flop ic, meg pár kondi), ami 8 eres szalagkábelen keresztül csatlakozik a fő nyáklaphoz. Tehát sorosan dumcsizik a mcuval, de, hogy hogyan arrol fogalmam sincs, neten nem találtam használható infokat, ezért kérem a segítségeteket. A lényeg annyi lenne, hogy szeretném vhogy ki olvasni belőle, hogy mit lát... Ezekhez egyáltalán nem értek, PIC-hez igen, gondolom azzal megoldható. Köszi mindenkinek előre is!
szétszedtem a kis nyákot h megnézzem a ccd chip tiusát: tcd1208
ezaz. Történt egy kis baleset, a ccdről kicsit levált az üveg tető (vagymi), nem jött le csak levegős lett a gumi meg az üveg között... ebbe belehalt ilyenkor v semmi baja? Valaki elmondaná hogyan lehet ezt lekérdezni pontosan? mert én az eddigi infóim alapján (adatlap) arra jöttem rá, hogy kell hozzá egy adc ami nézi a diódák kimeneti feszét... ez igy van? kössz!
(nem gumi az, rájöttem, vmi kemyényebb cucc ami régebben folyékony volt.. tehát vmi ragasztó)...
hát.. nem nagyon pörög ez a topic, mind1, látomsenki sem ért hozzá...
úgy látom nekem kell utánanézni...
hi
mivel ez 1 sort lát sokmindent nemigazán érsz vele, de az optikája midneképp kell és akkor egy papír 0,1mm (8 lines/mm) letudod kérdezni, szóval nem fogod tudni hogy most ez hüleység vagy a valóság, ha nicns optika akkor szinte mindne pixel azonos adatot fog visszadni, meg szeritenm rossz beállításoknál is (fókusz). az adatlapjába ott az idődiagram, a DOS kimenet, ezt per pillanat én sem sejtem mi, de a másik az analaóg kimenet (OS) és ehez kellene kötni ADC (gondolom), de előbb a lekérdezést csináld meg és ha van szkópod ott láthatod az eredmény. fi1 és fi2 az két ellenfázisú 500kHz négyszögjel, a RS az egy 1Mhz négyszögjel (50% kitöltési tényezőjű), TYP értékek! adatlap 3oldal: (megvilágítás fluorescent LAMP-al) elméletileg 2mV a sötét pixel feszültsége és a telítési feszültség 1,5V, az OS kimeneten pedig 3,5V van. TYP értétkek! A Tint integrálási idő, ahogy a 10 oldal grafikonját nézem, minél nagyobb az integráli idő annnál nagyobb a Dark signal feszültség, biztos van valami jelentésőge. ui. ezt az uccsó hozzászólást elhagyhattad volna, mert ezt beírod biztos sokan fognak még segíteni....(én csak későn olvastam el) üdv
köszi a segítséget!, senki sem ért hozzá azt nem komolyan gondoltam!, csak hát mindig eltünt a topic címe a főoldalról, (lecsúszott a listárol)... azt ezér írtam ilyen hülyeségeket...
![]() ez a DOS a kompenzációs kimenet, ez is egy analóg jel nem? kössz! (szkópom nincs)
Sziasztok! A CCD lényegében egy tárolóeszköz, ezt szeretném valahogy kihasználni. Nem fényképezni akarok vele, hanem eltárolt értékeket akarok néhány tized másodperc elteltével visszakapni. A kérdésem az lenne, hogy a CCD képes-e ennyi ideig megőrizni a tartalmát, illetve, hogy lehet-e csupán elektronikusan adatokat írni bele?
Sziasztok. Olyan megoldást keresek, amivel egy CCD-t a szokásos rövid expozíciós idő helyett hosszú, akár több másodperces expozícióra tudok rábírni. CCTV kamerát meg lehet "hackelni" valamiképp, hogy képes legyen erre? Gondolom az órajelével kell valamit elkövetni, de sajnos nem vagyok elektronikában profi.
Sziasztok!
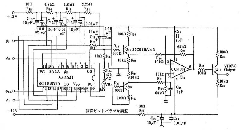
Régebben szétszedtem egy faxgépet, és most a kezembe akadt a CCD-je. Megkerestem hozzá az adatlapot, és ott találtam egy egész könnyű kapcsolást. De mielőtt belefognék, kérdezni szeretnék pár dolgot: Először is mire tudnám használni/rákötni? (pc, tv) Aztán bal oldalt arra a négy kivezetésre mit kössek? (gondolom azok vezérlik) Végül a Video Output az egy sima rca-val megy a tv-re, vagy hogy tudom megjeleníteni? Köszönöm! JĐ Idézet: „Aztán bal oldalt arra a négy kivezetésre mit kössek?” Az adatlapon találsz egy másik kapcsolást az órajelek előállításara. Például azt, vagy egy általad programozott mikrovezérlőt... ![]() Idézet: „Végül a Video Output az egy sima rca-val megy a tv-re, vagy hogy tudom megjeleníteni?” Ha illeszhető volna is a TV-hez (Jelszint, pontfrekvencia), szinkron jel is kellene, egy nem túl látványos (2048 képpont egy sorban) "képpel" mire mennél? A faxban ez úgy működött, hogy kiolvasott és digitalizált egy sort (nyilván optika is kellett, ami a képet a fényérzékelő diódasorra fókuszálta), majd odébb léptette a papírt és újabb beolvasás következett. Néhányszáz (vagy ezer) ciklus alatt végül összeáll a kép.
Hello!
Köszönöm a gyors választ. Tényleg az a másik kapcsolás is kell elé. ![]() Egy sor tényleg nem olyan látványos, csak gondoltam vicces lehet. Így nem éri meg megcsinálni. Max ebből is csinálok egy szép kulcstartót.
Sziasztok!
Sony CCD chipet szeretnék vásárolni, de több órás google keresgélés után sem találtam olyan helyet, ami egyáltalán külön említené hogy forgalmaz ilyen alkatrészeket. Azt se bánnám ha első körben nem sony hanem valami más gyártó terméke lenne. Kérem, ha valaki ismer ilyen kereskedést ossza meg velem. Köszönöm: Böki
Az alábbi német cégtől igen sokféle CCD-t be lehet szerezni, azonban nem minden típusból adnak egy-egy darabot.
Bővebben: Link |
Bejelentkezés
Hirdetés |




úgy látom nekem kell utánanézni... 




Tényleg az a másik kapcsolás is kell elé.

