Fórum témák
» Több friss téma |
Fórum » Csöves erősítő készítése
Ne feledd betartani a fórum viselkedési szabályait, és a topik megmaradásának feltételeit. [link]
A téma átmenetileg fagyasztva lett, hozzászólni nem tudsz!
Az EL84-nek ha jól rémlik 4-6V közötti meghajtófeszültség kell. Szerintem ezt tudnia kell.
Köszönöm. Tábla szerint tudhatja.
Meg szeretném osztani kezdő tapasztalataim. Egy ZK145 magnó táp, kimenő trafó és az ECL86 pentódáját felhasználva kezdtem ezzel:
Bővebben: Link majd mofesa fórumtárs segítségével át lett kicsit szabva. Rákerült egy 100ohmos ellenállás a g2 rácsra plus egy 47mikrós kondi a 270R és a 100R közé. Leporoltam a régi RFT szkópom és az alábbi eredményt kaptam. A mélyekre azt mondják érdemes nagyobb vasmagot választani a kimenő trafóhoz. A kapcsolás 270V-ról ment és 50mA áram folyt a katódon.
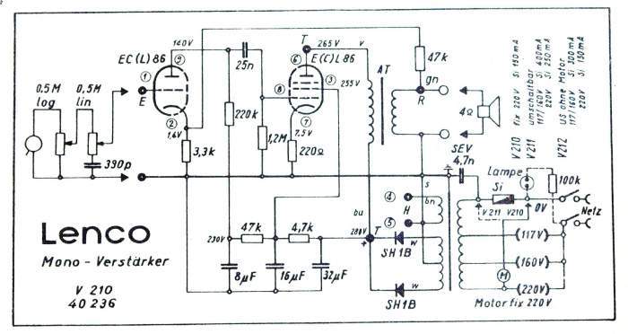
Azután kopróbáltam egy Lenco féle kapcsolást ami eléggé hangszedő erősítőnek tűnik. Nekem nem akart akkora jellel dogozni amit egy dinamikus pickup szolgáltat.
Gondolom kristályhoz van. Amit módosítottam:A táptrafó nem középső megcsapolásos. A tápnál lehagytam a 8,16 és 32 mikrós kondikat (párszáz VDC hiányukban kénytelen voltam) A tápnál a 47k és 4k7 ellenállásokat 62k és 6k2-vel helyettesítettem (kéznél voltak) 5-ös lábon a fűtést és a kimenő tr. egyik kivezetését nem húztam le. A 25nanós kodni helyett 22-es stiroflex került be. A 390pikósat 330-as stiroflex helyettesíti. Ez az egész 280V helyett 300-on üzemel. g2-270V és a trióda anódja 220V. (Nem túl egészséges, 250V a max. anódfesz amit a doksi javasol.) Az eredmény a csatolt képen. Ebben az esetben szépen jönnek a mélyek. Mégsem trafó kiváltsága? A magasak vannak "bedugulva" pettyet. Kicsit többet erősít így. Könnyen túl is vezérelhető a dolog. A végcél egyébként hangszedőhöz lett volna, de csak hangkártyáról tudtam eddig megszólaltatni, bárhogy tekertem is. Van mikor begerjed, ha túltekerem a rácsnak. Vélemények?
Idézet: „A tápnál lehagytam a 8,16 és 32 mikrós kondikat (párszáz VDC hiányukban kénytelen voltam)” Azért is gerjed, mert kihagytad a puffer kondikat a tápban. Ha nincs, akkor is kell szerezni valahonnan . Csak az nem fér a fejembe, hogy a mp beállító ellenállásokat nem cserélted, mégis érzékenyebb lett.
Sziasztok!
Szeretnék a frissen szerzett 6c33c-v csövekből egy pp építeni. Nagyon szimpatikus ez a kapcsolás , nektek mi a véleményetek? Köszönöm a válaszokat!
Ha úgy látod jó, építs! A csöveket párba válogatva vetted? Egyébként az alkatrészeket is ajánlott válogatni. A kimenő transzformátort érdemes mással megtekertetni, kivéve, ha magad is tekertél sok trafót. Az utánépítéshez sok sikert!
Érdekes kapcsolás. Én olyan sémákat láttam, ahol 1.2k-ra van illesztve a kimenő.
A cső összeválogatás azt hiszem álom a közönséges halandóknak, nekem is össz-vissz 6 csövem van, amiből 2 SE sztereót szeretnék kihozni, ott kevésbé érdekes a pár.
Üdv. Nemtud valaki egy jó kapcsolást PL509 SE erősítőre?
Lpcollector épített EL519-el.
Köszi de nekem 509 em van ahoz kellene ecc808 előfokkal
A csöveket még nem mértem meg, de ahogy olvastam egy burán belül nagyok az eltérések.
Mondjuk itt 600 ohm-ra van illesztve, nem tudom melyik lesz a jobb.
Ha jól keresel, akkor a böngésző is tud (sokszor) támpontot adni.
Például itt .
A két cső egyforma!
Azért mertem lehagyni, mert van egy dolog ami nem látszik ezen a rajzon. A táp után van 4db schottky-ból kirakva egy híd + 2db 200µF/400V kondi + egy nx10 nanós 630V-os stiroflex velük párhuzamosan. Az elkókkal puffel és alacsony frekis zajt (brummot) szűr. A stiroflex pedig a nagyobb frekvenciás zajokra szántam. Így igyekeztem elkerülni azt, hogy eldurranjanak a elkók és a stiro átüssön. Ugyanis a 270V névleges táp gyök kettőszerese majdnem 400VDC. Gondoltam így lehagyható az a 3db nehezen megoldható kondi. Elég tróger, de megy.
Zenekaros webshop-okban láttam elvileg minőségi kondikat. A véglegesbe rászánom a pénzt.
Én azt olvastam, hogy bár egyforma, az 519-es nagyobb áramokat visel el.
Azt tudtam, meg tapasztaltam a puffer elkókkal párhuzamosan kötött nem elektrolit kondi jótékony hatását. A minőségi kondikról lesz egy link, ezek bisztosan jók, megérik a pénzüket, bár drága.(Az oldal pillanatnyilag nem elérhető)Bővebben: Link
Ismerem az oldalt. Kicsit valóban hajmeresztő. Ezt a ceglédi céget néztem ki:
etronic Tele vannak gitárkombóhoz való pótalkatrészekkel.
Valóban elviselhetőbbek az árai. Érdemes a végleges előtt segítségül hívni az orosz kondikat, Remix ellenállásokat, puffer kondiként MM-eseket, hátha jobban tetszik.
Sziasztok! Pcl86 pp esetében reális érték a 7w színuszos kimenő teljesítmény ? (a kimenő ultralineárba kötve)
Igen. Hány %-nál van az UL leág? Mekkora a tápfesz? Milyen a trafó illesztése?
A trafó tervezésében még te segítettél, 40%-nál van a leágazás,8-8kohm az illesztés,a tápfesz 280v.A kimenőn szépek a jelalakok, nincs túllövés és berezgés a négyszög jeleken, egyirányba van tekerve minden réteg. (köszönöm a javaslataidat) Képeket is teszek fel majd a napokban a mérésekről.Hangra majd kiderül mit tud,a 6c33c SE-t le tudja e váltani. Örülnék ha igen, mert az éves villanyszámla elszámolás 25 ezres hiánya az erősítő miatt van.
Hát teljesítményben biztos lesz némi hátránya, de egyébként én is ezért hallgatok most is egy kis PCL82 PP-t. Ez ha egész nap megy akkor sincs nagy gond. Mennyit vehet fel, talán 80 W-ot?
80W körül lehet a hálózatból felvett teljesítménye, ha sztereó.
Igazad van, de ez nem érdekes. Nyilván az 519-es későbbi, "erősebb" verzió. De audió szempontból tök egyformák, csereszabatosak.
Hehe, ha tök egyformák lennének, akkor 509 lenne mind a kettő vagy 519 és nem 509 és 519 ![]() ![]() A hozzászólás módosítva: Jún 18, 2013
Én még azonos gyártó, azonos tipusú csövében sem láttam két teljesen egyformát, csak mint érdekességet említettem meg. Ezért sem értem a high-end fogalmát, amiről jól elbeszélgetnek az emberek. Ez olyan nesze, semmi, fogd meg jól.
Üdv mindenkinek.
Lett egy Perpetuum Ebner HSV-20- as erősítőm. Tudna valaki kapcsolási rajzot küldeni? Csak a radiomuseum.org-n van, de oda nem könnyű regisztrálni, mert az nem is fórum, hanem valamiféle spanyol csöves klub
Nyilván annyira nem egyformák, mint egy EL84 meg egy másik EL84 és ugye ott is lehet erős különbség. De annál egyformábbak, mint egy 807-es és egy 6L6.
![]() Az audiofilséghez: most dolgoztunk egy Úrnál, akinek valami csoda újzélandi erősítője van, a két hangfalát 1200000ért árulja a német e-bayen és az audioquest kábelt szóbahozván azt lefitymállta, valami speckó, ránézésre gyűrűs, ürege hangfalkábele van, amiket kis tartók tartanak el a földtől. Akkor most miről is beszélünk itt tízezrekért high-end cuccokról? Az audiofília talán kicsit más, inkább eszmerendszer vagy irányzat, ami kevésbé kötődik a technikai megvalósításhoz, mint inkább a végeredmény élvezhetőségéhez.
Nemrég vettem egy pár hangfalat. Az eladó egekbe magasztalta a Vandenhull M.C.CS 122 Hybrid (piszok drága) hangfalkábelt. Állítólag szénszálba behúzott, különféle méretű huzalokból sodort árnyékolt kábel. Nem véltem felfedezni semmiféle hangi különbséget ezen kábel és a normál 1.5mm vastag szintén sodort árnyékolt sima között. De lehet, hogy az én hallásom kopott meg cseppet.
Az is lehet ám, hogy a te, vagy az én Trabantomba hiába rakunk F1 váltót, nem fog gyorsabb lenni...
|
Bejelentkezés
Hirdetés |



Gondolom kristályhoz van. Amit módosítottam:

. Csak az nem fér a fejembe, hogy a mp beállító ellenállásokat nem cserélted, mégis érzékenyebb lett.





