Fórum témák
» Több friss téma |
Fórum » Csöves erősítő készítése
Ne feledd betartani a fórum viselkedési szabályait, és a topik megmaradásának feltételeit. [link]
A téma átmenetileg fagyasztva lett, hozzászólni nem tudsz!
Köszönöm
A te munkáidban nehéz hibát felfedezni. Úgy látom hogy az asztalos munkákhoz is értesz. Ha nem titok érdekelne hogyan csiszolod a fém felületeket ilyen simára.
Pont a réz polírozásában látok hibákat .
Ahogy csináltam , úgy már nem csinálnám , lassú és nem kellően eredményes , de házilag csak ez jöhetett szóba . Vizes papírokkal felcsiszolva , csökkentettem a karcokat majd rongykorongal pasztával polírozgattam , majd sidolos fényesítés . Most ismerkedtem meg egy szakival és bemutatta hogyan lehet gyorsan szépen polírozni . Nem szabad csiszolni , csak korongokkal kezelni , 5 perc alatt olyan felületet hozott össze , hogy csak bámúltam , de ehhez az Ő felszerelése , eszközei kellettek , porok paszták különböző korongok . Megfogattam ,hogy a következőt inkább megcsináltatom vele .
Mondott árat a réz lemez csiszolására?
Mivel úgy látom hogy alaposan körbe jártad a kérdést érdekelne a véleményed. Ara gondoltam hogy A4 méretű nyák lemezt políroznék. Szerinted elég a réz vastagsága vagy olyan nagy az anyag veszteség hogy elfogy mire végzek?
Szép lett! A trafóburkolók, azok valami tápegységek votlak előző életükben? Ötletes!!!
Köszönöm.
Halogén lámpák tápegységei voltak bennük. Sajnos én is attól tartok hogy kicsi a nyák fólia vastagsága. Azért lehet hogy egy kis darabon mégiscsak ki próbálom.
Nyák polírozásával az a baj , hogy kifényesítve láthatóvá válik az alapanyag szövése , még akkor is ha eléggé vastag a réz rajta .
40X30 cm felületű lemezt 3-4000Ft -re taksálta .
Sziasztok,
pénteken megyek egy céges rendezvényre Bér nevű helységbe (disznóvágás meg ilyesmi) és van ott egy ilyen múzeum! Szerintetek megnézem? http://andezithotel.hu/muzeum.html
Ha ott vagy, ezt is nézd meg.
http://wiki.utikonyvem.hu/hu/index.php?title=Ors%C3%B3s_Magn%C3%B3_...Azeum_(Ter%C3%A9ny) Itt mellékelem a képeket is.
Igen ezt már régebben kiszúrtam, a radiovilag.hu honlapján.
Közben lehet hogy nem PLC hanem ECL-eket tudok szerezni aztán meglátjuk melyik trafó a jobb, ahogy elnézem naggyából ugyanazon a vason vannak.?
Nekem nagyon tetszik. :yes: Gratulálok! Szép munka!
Tiszta véletlen nincs felrajzolva a húrozás módja a készülék belsejében, láttam már ilyet.
Én spec. nem szeretem, ha kegyetlen feszül a húr. nehéz tekerni, nyikorog, recseg, ropog. Az az igazi, mikor olyan mint a vajazott saffhauzen.
Eccer megrendelésre gyártottam egy erősítőt spec. célra. Elvittem a tett színhelyére, ráakasztottam egy mp3-as gyerekkütyüt, feltekertem a potit csumára és nem értettem miért szól alig.
Kiderült azért, mert ezek a vackok jó ha 0,1 V -os jelet produkálnak. Szóval sztem célszerü visszavenni az erősítésből. Némi rátartással ahhoz a készülékhez beállítani, amit hallgatni fogsz. Így kisebb lesz a torzítás és még az is lehet, hogy a brumm is megszűnik. Testelés szabályait egyébként betartottad ?
A csillagpontosat?
Nem igazán.Pedig szépen forrlécen raktam össze....mégis zúg.A táptrafó 10centi távolságról is megszórhatja a kimenőt?,ha a vasuk pont úgy van,ahogy nem lenne szabad.?
Köszi,meg is csináltam.
De még mindíg zúg,ha lejjebb tekerem a potit(330k-s a lehúzóellenállás,nem 1Mohm,ez lehet a gond?,régemn a PCL-em is pont ugyan így gerjedt)
Köszönöm Djhans és Müszi
Annyi pozitív megerősítést kaptam hogy kezdek zavarba jönni.
Ki fogom próbálni a receptedet.
Ha sikerül kiviteleznem akkor teszek fel képet a végeredményről.
Ennyi pénzért tényleg megéri felpolíroztatni.
Ha esetleg nem sikerül a nyák projekt lehet hogy én is szakemberhez fordulok.
Jó a rácslevezető, én mindig olyat szoktam használni, ami éppen a kezembe akad (50-200 K között szokott a kezembe akadni).
Ha letekert potinál nem zúg, akkor a potiig menő vezetékkel van gond. Vagy nem jó a vonalvezetése, vagy ha nincs megfelelő vonalvezetési lehetőség, akkor az árnyékolása nem megfelelő (ha árnyékolt). Első körben meg kell próbálni a trafót kihosszabítani az erősítőtől vagy 20-30 cm-re, abból megtudod van-e köze a karcogáshoz a hálózati trafónak. Ha igen, legelőször annak az optimális elhelyezését kell megtalálni. Azután megfelelő vezetéket kell találni a bemeneti ponttól a potméterig, úgy vezetve, hogy ne zúgjon. Sajnos szerencsétlen esetben ez lehet az erősítőépítés legkeservesebb része. Legjobb, ha sikerül úgy vezetni, hogy ne kelljen árnyékolt vezeték. Ha árnyékolt kell, akkor legegyszerűbb, ha hangszerboltban beszerzel valami jóminőségű mikrofonvezetéket. Olcsó, pocsék minőségű árnyékolt vezetékek nagyon sok bosszúságot tudnak okozni.
Nézzétek mit találtam! Vajon hogy szólhat? Ha lenne rá időm összedobnán!
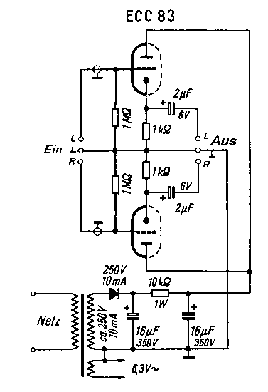
Mondjuk az ECC83 gyanus volt, mert az nem "tud" áramot még annyit sem mint a 81-82 ha jól tudom!
de most hogy PCL86 lázban égek felkapom a fejem minden "kevés csöves" kapcsolásra Gondolom ez bizonyos értelemben az evolúció egy magasabb foka hogy az ember nem akar mindenáron csőtemetőt készíteni Mondom ezt úgy hogy tervbe van véve még jópár csőtemető készítése
Nálam, a szekrényben.
Nemsokára beszkennelem.
Egyébként fenn van az oldalon is, ha rákattintasz a képekre, akkor a 161-200. között megtalálod, beolvasás0003-00004 a fáljnév.
A PCL86 valóban hálás cső
![]() Milyen kapcsolást építesz vele? Ha esetleg PP készül akkor nagyon érdekelnének a tapasztalataid.
Hans kapcsolását építem meg tehát SE lesz az apróság.
Jut eszembe, igazságtalan volnék ha nem gratulálnék a PCL86-os prozsédhoz :yes:
Te melyik kapcsolást csináltad meg? Ha nem járnék hasonló cipőben mint te, álszerénységnek vélném a túlzott önkritikádat!
én PP-t fogok építeni vele, de eddig ott tartok, hogy a kimenők csévéinek levágtam a bakelitet....
![]() Sturbi épített vele PPt
Ha van rá mód, rakd a táprészt külön árnyékolt rekeszbe. A bemeneti csatlakozó testfémrésze legyen elszigetelve a háztól, ha az fém. A végfokok testjeit külön-külön vastag dróttal vezesd a táp földpontig. (Pufferkondi - láb) A pufi - lába tőle nem messze legyen a fémvázhoz csavarozva. Ez nálam bevált.
A visszacsatoló RC komplexum is okozhat gondot. Minél nagyobb az erősítés annál inkább. Ezt próbáld meg jusztírozni. Ha pont jó az erősítés a lejátszódhoz akkor a C tagot. |
Bejelentkezés
Hirdetés |




Nem igazán.Pedig szépen forrlécen raktam össze....mégis zúg.
De még mindíg zúg,ha lejjebb tekerem a potit(330k-s a lehúzóellenállás,nem 1Mohm,ez lehet a gond?,régemn a PCL-em is pont ugyan így gerjedt) 

