Fórum témák
» Több friss téma |
Fórum » Csöves erősítő készítése
Ne feledd betartani a fórum viselkedési szabályait, és a topik megmaradásának feltételeit. [link]
A téma átmenetileg fagyasztva lett, hozzászólni nem tudsz!
Hát pedig szerintem az EAG nincs elméretezve.
Igen, szoktak ilyet csinálni.
És ha ez nincs 60 Ohm az adott trafóval, akkor ki kell egészíteni minimum akkorára. Ezt meg lehet tenni két ellenállással sorban a két anóddal, vagy egy ellenállással a középmegcsapolásra menő vezetéken.Jól mondom?
Az AE782-nél például ez utóbbit választották.
Lehet,hogy rosszül mértem. Rég a multiméterem és ilyen kis értékeknél nem pontos
egy másikkal mérve kiadta a 100 ohmot
Igen én is láttam már mindkét megoldást.
Egyszer megmérettettem egy fórumtárssal az eag trafóját. és nem igazán felelt meg az előírásnak. A primer 11 ohm, fél szek. pedig 66 ohm. AZ EZ81-nek több a min. Rt értéke. EZ81
Majd megmérem én is a 782-esben, most már kíváncsi vagyok.
Azért kapcsolódtam be egyébként a beszélgetésbe, mert a mostani erősítőmben EZ81-el oldottam meg az egyenirányítást, de még nincs benne védőellenállás. Ha nem hozzátok fel a témát,ki is marad.
Hát igen, csak ahogy TJ mondta egy másik fórumon, hogy ez az ellenállással való toldozgatás dinamikavesztéssel jár. Mondjuk egy 15 ohmos ellenállás kevésbé hat, mint mondjuk egy 200 ohmos.
Ami szintén lényeges, hogy a cső után megengedett kapacitásnál nagyobb kapacitást nem illik rakni.
Mondjuk erre egy érdekes (rossz?) példa, ahogy Kondo bácsi a 7,5 millás neiro-ját telepakolta 100 µF -os kondikkal az 5u4g után. NEIRO
Sziasztok mikro.trafóból lehetne csinálni táprafót, 2 drb P500 pp -nek szánnám. A trafó 21cm2, le van hegesztve, a lemezek sajnos
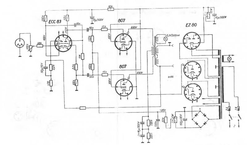
Itt van a rajz, amit meg fook építeni a kimenő 3X 50 és 2X 1000 menet lesz. Jó-e a rajz, és a trafó menetszáma? A kapcsolási rajzon mire kell az ez80 után a huzalpoti? ezt elhagyhatom?
Kicsit harmatosnak érzem ide az ECC83-t. Ilyen kis terelő ellenállás mellett lehet, hogy kicsit (?) aszimmetrikus lesz a meghajtó jel. A kimenő arányait nem látjuk, tekintve, hogy nem írtad a 3X50 menetes szekunder bekötését (párhuzamos kötés esetén a szekunder tekercs 50, soros kapcsolás esetén viszont 150 menet lesz). Azt sem tudjuk, hány Ohm a terhelés. A 2X 1000 menetet legalább 2x3 felé szét kéne osztani.
A 50 menetek párhuzamba leszenl 4 ohm-ra.Osztani tutira nem fogom mivel nem egy nagy hifi erősítő hanem sima hangszererősítő lesz. Az ecc83 szerintem is gyönge egy kicsit. Esetleg tucc másik rajzot ajánlani?
Csak ránézésre a 2x1000 menet kevés lesz.
Ez függ attól, hogy mekkora vasra lesz tekerve.
Volt erről már szó? Az Eag M102B vasán olyan 1800 menet volt, és ha jól számoltam 7500:125 ohmos áttételű. (nem számolta le, csak teszt tekercs segítségével határoztam meg a menetszámokat)
2000/50=40. Ez jó lehet áttételnek, a menetszámok meg - ahogy Mayky is írja - a vastól függenek.
Egy 18 cm^ szilíciumos beag vasmagra lesz. Elképzelhető, hogy egy 760 c vagy hasonló erősítő végfokát építem meg.
A 760C meghajtó fokozatába induktív munkaellenállás kell. Tehát, egy az egybe nem kopizható.
Ez igaz. Esetleg valami más rajza van valakinek? ottvan pl 785 A az egészten megépíthetőnek tűnik. Csak az a baj, hogy a hangszínszabályzóra nincs szükségem. Arra gondoltam, hogy a hangszín ecc jének csak az egyik felét használom de akkor a másik fele kárbavész. És itt jutott az eszembe hogy, egy ef86- ost bekötök triódának és ez erősítené tovább a jelet a fázisfordítónak a fél ecc helyett. Vagy ez így badarság?
Akkor egy véleményen vagyunk.
Én egy 6P14P Paralell-PP-ben próbáltam. Az E88CC szerintem nálam nem volt hiteles, mert annak úgy tudom nagyobb /-13,5v/ előfesz kell, azt azért még nem ástam el teljesen. De az ECC85 az Köszi a többi infot.
Itt a rajz ,hogy hogyan gondoltam.( bocsi a krikzkrakszért)
Nekem van egy 760/C Eredeti panelem. Rajta van a meghajtó trafó is meg minden. Ha kell viheted.
Köszönöm a felajánlást csak sajna egy eag saszijára építkezek és abba az ablakba amiben eredeileg a panel volt oda fog kerülni 6 cső
azért köszi
Itt a javított változat remélem így már jó lesz.
Ettől függetlenül(vagy épp emiatt?)az a Neiro valami elképesztően jól szól ám,a maga 2x7W-jával.Volt szerencsém hallgatni.Ami még érdekes;három,teljesen különböző felépítésű/hangkarakterű dobozzal is próbáltuk,s mindegyikkel hozta a maximális hangminőségét.Ez a végfok megdöbbentő mértékű zeneiséget csalogatott elő abból a nagyméretű,tölcséres hangszóróval szerelt szélessávú dobozból is,melyen fél órával előtte a GU-50 SE szinte hallgathatatlanul csörömpölt... Ehhez tudni kell,h én már elvből sem preferálom a szélessávú rendszereket,de a Neiro zenéjét még ezen a ládán is,-bárhogy is tagadnám,-ÉLMÉNY volt hallgatni.Summa summárum:ez a készülék abszolút etalon.Egyetlen baja van:az ára...de mint tudjuk,ezen a színvonalon ez már mindennemű realitását elveszíti a valósággal...
A fékezőrácsot (G3) a katódra kell kötni,nem az anódra.
Látszik, hogy a 3 a szerencseszámom
mostmár remélem jó lesz.
Még most sem az igazi.
Úgy kösd be a cső rácsait, mint a csatolt képen.
ó még mindignemaz
az anódot rossz rácsra kötöttem. Látszik hogy már este van A következő sz utolsó változat(legalábbis remélem) |
Bejelentkezés
Hirdetés |



egy másikkal mérve kiadta a 100 ohmot






)
mostmár remélem jó lesz. 


