Fórum témák
» Több friss téma |
Fórum » Csöves erősítő készítése
Ne feledd betartani a fórum viselkedési szabályait, és a topik megmaradásának feltételeit. [link]
A téma átmenetileg fagyasztva lett, hozzászólni nem tudsz!
Na megnéztem a trafókereteket, de rosszul emlékeztem.
Ami van, a kisebbek azok SM85-höz valók, a nagyobbak meg SM102-hez sajnos.
Hát ez van. Azért köszi. Hátha addíg tudok majd szerezni. Most úgyis az EL84 PP van műsoron.
Köszönöm!
Hasonló gondolatok és a kiváncsiság vitt rá erre a tesztre. Mindenesetre most jobban tettszik az erősítő hangja ezzel a csővel.Valószínű, hogy attól is függ, hogy ki milyen zenét hallgat rajta. Nekem a Jazz másnak a papné.
ECC85 kisebb erősítése , alacsonyabb belsőellenállása miatt jobb lehet EL84 meghajtására .
Szerintem is jobb párosítás , mint ECC83 -mal .
Régebben én is próbálgattam pár csövet meghajtóként 6P3C, 6P7C, 6P14P meghajtására. 6N1P, 6N2P, 6N6P, ECC81, ECC82, ECC83, ECC85 csöveket próbáltam ebben a pozícióban. Hasonlóan a Tungsram ECC 85 volt a legjobb, majd a 6N1P, 6N6P, ECC82 és ECC81, ECC83, 6N2P következtek. A csövek többé-kevésbé munkapontba voltak állítva, de valószínűleg lehetett volna még csiszolni a beállításon. A kisérleti erősítők visszacstolás nélküliek voltak, az ECC 85-ök URH tunerekből származtak, az orosz csövek újak voltak, a többi ECC-ről nem tudom hogyan jutottam hozzá.
Működik, tegnap vettem, egy munkatársamtól, aki csöves műszereket gyűjtött, de most megválik egy pártól. Jövőhéten még veszek tőle egy orivohm II-est! Én is jó műszernek találtam, bár lehet hitelesíteni kellene, még nem mértem vele, mert nincs amphenol dugóm ( pláne Amphenol/BNC átalakítóm), csak meg akartam bizonyosodni, hogy nem volt-e rossz választás, de akkor ezek szerint nem! Köszi!
Kár
Egy van nekem is de kellene hozzá még egy, vagy inkább 3
Köszi szépen! Hova mész mindenképp?
volt az már vagy egy hónapja is ...
Például, mint ami ezen a hanggenerátoron van
Szevasztok !
Az lenne a kérdésem, hogy a gyártók a gitárkombók sinusos vagy hangteljesítményét adják meg? Pl.: Hughes & Kettner edition silver 50W Köszi üdv.: butuska
hasra ütés szerűen megy ez néha, pl a 4 el84-et tartalmazó Peavey classic 50 nél az 50 watt az még a zeneinek is kicsit túlzás ..
Az edition silvert véletlenül pont ismerem "személyesen", mert múlt héten javítottam egyet, nála az 50 W az csúcsteljesítmény lehet (nem mértem, csak "ránézésre" állapítottam meg a végtranyókból, hálózati trafó méretéből )
igen ez így van, de az hogy hány vattos az erősítő, az még csak egy szám.szerintem szinuszos teljesítmény mérnek 1 KHz-en. Nekem volt egy Behringer combóm, nagyon nehezen birtam megszabadulni tőle, elcseréltem egy 1936-os Marshall ládára, /jó csere volt/
az 65 wattnak volt kikiálltva. Az 50 wattos Slom kb 3x akkorát szól. Sokat számít a meghajtott hangszórók érzékenysége.
Van egy trafóm ami lead 1x 600V-ot. Ezt egyenirányíthatom-e egy py88-as csővel?
807 es csőhöz lesz,úgy hogy minél több annál jobb
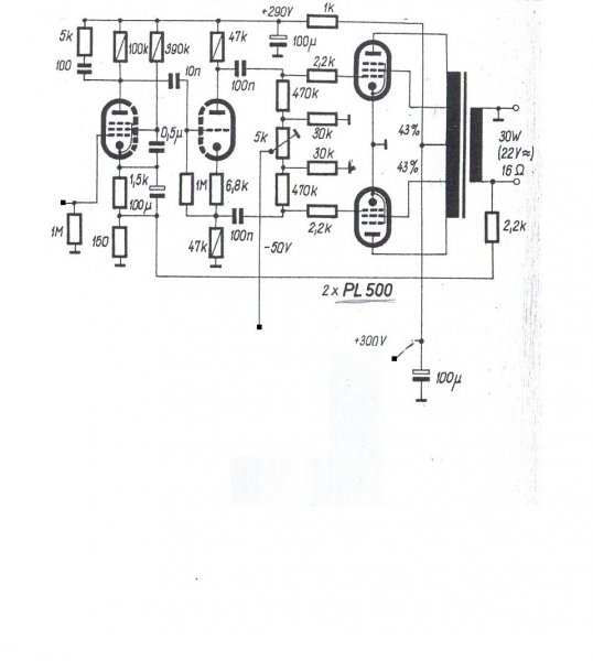
Az oldalon találtam rá erre a pofás kis rajzra amit majd G807 el fogok megépíteni. Nemtudom,hogy az elelnállásokon és a kondikon mit kellene variálni ehhez a csőhöz, de majd kikísérletezem valahogy. Majd a trafót úgy tekerem hozzá hogy jó legyen az illesztése. Más előfesszel fog menni és főleg a tápellátását alakítom majd át. Arra gondoltam,hogy egy ez80- as csővel egyenirányítom az előfoknak és a fátzisfordítónak a feszt. A kimenőtrafó közepére adnám a py88 által egyenirányított feszt.
Hogy akarod megoldani, egyutas egyenirányítással, vagy Graetz hidat csinálsz a PY88-asokból?
Az egyutas egyenirányítás nem túl jó mert egyenárammal terheli a trafót. Nem szerencsés az 1 x 600 V, legalább középen lenne egy megcsapolás.
Középen van megcsapolás Szerrintem se jó ötlet az egyutas egyenirányítás. Valahol itthon kell még lennie egy pár darabnak, úgyhogy 2 utas egyenirányítás lesz belőle. Azért nem graetz mert meg van a trafó , az azon található tekercs meg maximum csak 2 db-ot bír el.
Ha van középen megcsapolás akkor nem 1x 600 V-od van hanem 2x 300 V. 2 db (cső)diódával megoldható.
Akkor kérdés még a trafó belső ellenállása, mert ugye csöves ei-nál ez egy fontos kérdés, a cső védelme érdekében. Az is kérdés, hogy a PY88 mekkora belső ellenállású trafóval használható. Az adatlap nem írja mert ugye nem hálózati egyenirányításra készült.
A trafó 2 300V- os része közöt kb 1 ohm az eltérérs.
Kísérleti tápomban félvezetős diódahidat építettem, BY134-esekkel. A bekapcsolás pillanatában a diódák közül több felrobbant. Igaz, egy 500VA-es 200V-os trafó volt, és 3300 µF volt rákötve. :yes:
Nem az eltérés a lényeg hanem a 300 V-os tekercs hány ohmos. A számításba kell venni a trafó áttételét és a primer tekercs egyenáramú ellenállását:
Rt= Rp*(Np/Nsz)^2+Rsz. Np/Nsz ez a primer szekunder menetszám, de számolhatsz az üresjárati fesszel is, mert ugye az egyenes arányban van a menetszámmal. kb. egy 70-100 ohmnak (más csöveket figyelembe véve) legalább lennie kellene. Ha nincs akkor ki kell egészíteni külső ellenállással, csak állítólag rontja a dinamikát. Amit én tekertem trafót mostanában az 60 ohm a szek a primer 10 ohm és egy 15 ohm 10W-os ellenállással fogom megtoldani.
sajnos nincs meg ennyi, tehát jöhet a + ellenállás. 100ohmos 5 W os lég lenne hozzá?
Hát ki kell számolni, hogy egy 5W 100 ohm-os ellenálláson mekkora áram folyhat, és neked az erősítőd mekkora áramot fog igényel.
ÉS pl egy AZ4 nek mennyi elelnállásra volt szüksége?8 eredetileg ilyen csőhöz van a trafó)
Régi Eag ae 785 tipusú erősítőben. Az egy elképzelhető megoldás, hogy diódával egyenirányítok, majd egy py88 al késleltetem?
|
Bejelentkezés
Hirdetés |


Az oldalon találtam rá erre a pofás kis rajzra amit majd G807 el fogok megépíteni. Nemtudom,hogy az elelnállásokon és a kondikon mit kellene variálni ehhez a csőhöz, de majd kikísérletezem valahogy. Majd a trafót úgy tekerem hozzá hogy jó legyen az illesztése. Más előfesszel fog menni és főleg a tápellátását alakítom majd át. Arra gondoltam,hogy egy ez80- as csővel egyenirányítom az előfoknak és a fátzisfordítónak a feszt. A kimenőtrafó közepére adnám a py88 által egyenirányított feszt. 





