Fórum témák
» Több friss téma |
- Ez a felület kizárólag, az elektronikában kezdők kérdéseinek van fenntartva és nem elfelejtve, hogy hobbielektronika a fórumunk!
- Ami tehát azt jelenti, hogy a nagymama bevásárlását nem itt beszéljük meg, ill. ez nem üzenőfal! - Kerülendő az olyan kérdés, amit egy másik meglévő (több mint 17000 van), témában kellene kitárgyalni! - És végül büntetés terhe mellett kerülendő az MSN és egyéb szleng, a magyar helyesírás mellőzése, beleértve a mondateleji nagybetűket is!
Vettem egy rezonátort a távirányítóba, három lába van.
van kötött sorrend, vagy csak a közepe érdeks?
Mit lehet csinálni, ha egy IC kipukkadt, nem lehet leolvasni a típust, az eszközről elektronikai témában semmit sem találok, és a gyártó sem válaszol? Innentől tekinthetem hivatalosan is elektronikai hulladéknak?
Amúgy erről van szó: POWERMONKEY EXTREME
A gyártó azért nem válaszol, mert újat akar eladni. Hulladék akkor lesz, ha kidobja valaki. Így csak egy hibás eszköz.
Be kellene határolni, hogy melyik része a hibás. A napelem, a töltésvezérlő, az akku, vagy a DC-DC átalakító.
A töltésvezérlő IC-re gyanakszok. A képen a bal oldalon jön be a napelem felől a csatlakozó, és tőle feljebb 1 centire az a 8 lábú IC szállt el.
Bármire kerestem rá a neten, akár a burkolaton lévő típusra, akár a nyákon lévő írásra, akár az IC-n megmaradt pár betűre, semmi használhatót nem találtam.
Ha az akku párhuzamosan kötött cellálkból áll, érdemes lenne visszarajzolni a töltő áramkört. Sok töltésvezérlő IC kapható, elképzelhető, hogy található olyan, amelyik lábkompatibilis.
Ne hagyd ki,hidegítést,zavarszűrést végez,enélkül gerjedhet az 555,nem lesz "stabil" a működése.
Nagyjából megvan, melyik lábra mi megy. Hol kereshetek ilyen IC-ket? Ez egy kínai gagyi, a többi IC-re is csak kínai találatot dobott.
Az 1N5822-ket összehozhatod a SD360-nal. Ld. adatlap.
Sziasztok!segitségre lenne szükségem!lenne egy mnc eternal dvd-s autorádiom,a szalagkábel része meghibásodott!hol tudok ilyet venni,javittatni?
Értem, köszi.
Mekkora a javasolt érték? PDF-ben nem találtam rá utalást.
Szia!
1-10n között van a szokásos értéke. Egyébként én ritkán építem be, nélküle sem szokott probléma lenni.
Üdv!
Segítséget szeretnék kérni.Az lenne a kérdésem hogyan tudnám ezt a mp3-decoder- bekötni ebbe a tápegységbe? Előre is köszönöm!
Értem.
![]() A 100nF-et az imént kihagytam, és trafós dugasztáppal már félállapota is volt, eltűnt a határozott "treshold".
A 100n a tápot szűri. A dugasztápok meg nemigen vannak agyonszűrve, de ha kapcsolóüzemű, akkor még rosszabb lehet a helyzet. Főleg amikor elkezd kiszáradni benne az elkó...
Sziasztok.
Van nekem egy habvágóm,aminek nem tudom beazonosítani a vezérlőjét. Ha esetleg tudnatok segíteni azt Megköszönném. Csinaltam néhány fotót, hatha segit a beazonosítani hogy miféle gepem van. Bővebben: Link Bővebben: Link Bővebben: Link Bővebben: Link Koszi a segítséget. Üdv István A hozzászólás módosítva: Jan 19, 2015
Üdv!
Meg tudná nekem valaki mondani,hogy tudnék ebből : Output voltage: DC (+25 V) -0 - (-25V) 200W (+15 V) -0 - (-15V) (5W) ilyen kicsi feszültséget és ampert csinálni? :12V Üzemi áram <200mA-t
Az áramerősséggel nincs mit tenni annyit vesz fel amennyit szeretne. A feszültségre egy 7812 stabkocka a legegyszerűbb.
Sajna ez már a második!
Pc táp az megölte ! A hozzászólás módosítva: Jan 19, 2015
A Pc táp az biztos nem ölte meg, oda ember is kellett
Ja ja ! Én kötöttem rá! De nem bírta a pc tápot és valószínűleg az áram erősséget nem bírta ki! El szált belőle 1 ellenállás.
A hozzászólás módosítva: Jan 19, 2015
Hidd el nem lehet egy áramkörrel több áramot felvetetni, mint amennyi a "sajátja" Ha többet vesz fel mint amennyit rendes üzemben kellene akkor meghibásodott.
Igen... egyébként passzív állítható, nem kapcsolóüzemű.
Ha ez így van akkor nem értem,mert a pc táp az tuti 12V mp3 meg teljesen új volt!
![]() Ez konkrétan micsoda?? 7812 stabkocka
L7812 néven keresd. Igen, stabkocka, 12 voltos, Max. 1.5A-ig alapkapcsolásban.
Például ha felcserélted a pozitívot és a negatívot, ráadásul a pc tápon -12v-is van, és az áramkorlát csak az 5v-os részt figyeli. Le kell terhelni az 5v-os részt. 7812
A hozzászólás módosítva: Jan 19, 2015
Köszi! És ezt,hogy kell bekötni?
Köszönöm!
Meggyógyult! Már jó ideje szenvedtem vele, gondolkoztam új vásárlásán is, de az eredeti 5e az utángyártott meg 3500Ft, így azért csak 240Ft volt! Szépen sikerült bedrótozni az smd-t, pont ugyanolyan volt a kiosztása, három kondilábmaradékkal aplikáltam be. Utálom kidobni ezeket *, meg a sikerélmény! Megit tanultam valamit! A hozzászólás módosítva: Jan 19, 2015
A Pc tápomat már pár éve használom,csak a +- 5V 12V használom a -5V 12 nem! Már így van kivezetve csatlakozóra .
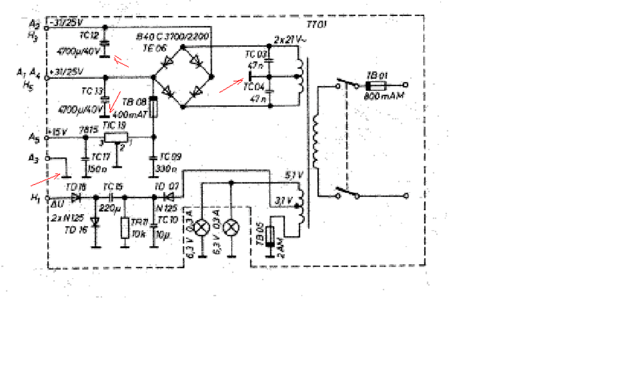
Sziasztok! Szeretnék segítséget a képen látható Videoton tápegység bejelöltem a testeléseket és azt szeretném kérdezni,hogy a trafó közös pontja lesz a GND ami a kondik közös pontján van bekötve ez is ráköthető a többi testpontra?
|
Bejelentkezés
Hirdetés |







Pc táp az megölte ! 





