Fórum témák
» Több friss téma |
Fórum » LM1036 sztereo hangszínszabályzó áramkör
Témaindító: Krajcsooo, idő: Máj 29, 2006
Témakörök:
Akkor ezt mentsd el, mert 1 vonal lemaradt sajna.
Én is át akartam tervezni amit feltett, de a sprint layoutot nem nagyon tudom használni. Én eagle-el tervezek, azt szeretem jobban. Eagle tervem van vagy 3 verzió, de egyikben sincs 5532... egyébként jónak tűnik így első rápillantásra.
Sziasztok.
Van nekem egy Jazz Speaker J9940 5.1-es hangfal szettem, amiben rossz a hangerő szabályozás, /már így kaptam, valami spec digitális icé volt benne/. Arra gondoltam, hogy 3db LM1036 –ost összekötnék és egy darab mono potival szabályoznám a hangerőt. A mellékelt ábra alapján kivitelezhető? Elég volna csak sima hangerő szabályzás, mély-magas, balance nem kell, /egyébként a mély-magas, balance szabályzásához tartózó alkatrészek elhagyhatóak?/ A potmétere menő vezeték milyen hosszú lehet, nekem kéne vagy 50-60cm. /Létezhet olyan IC amiben csak hangerőszabályzás van, így feszültség vezérléssel, meg esetleg 6 csattornás?/
Jól tudom,hogy az 5532 azért van benne,hogy előerősítés is legyen?
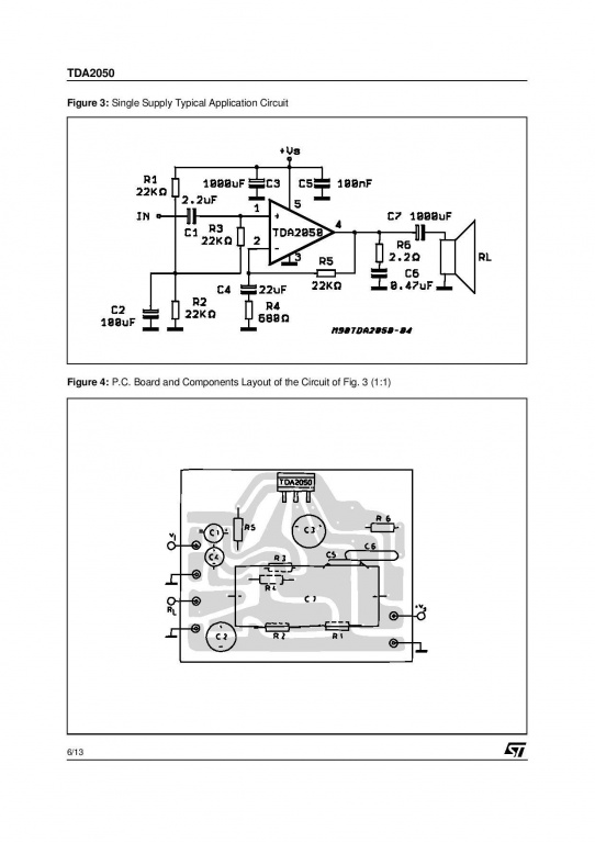
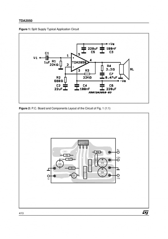
Mert ugyebár az LM1036-nak ugyanakkora a kimenő jele mint a bemenő,csak tud hangszínt szabályozni. Ha rosszul tudom akkor bocsi,de eddigi ismereteim szerint a gyenge jelszinttel csak az 5532-vel tud mit kezdeni viszonylag zajmentesen.Ezért is akartam ezt a verziót,meg persze ebbe nem kell 390nF-os kondi amiért Kamcsatkába kéne menni. Ha lehetne még hozzátok egy pár fárasztó kérdésem,hogy van például egy TDA 2050-es végfok IC ami 32W-os. Ezt az IC-t lehet single power supply vagyis normál táppal is működtetni,és középnullással is,mikoris kell neki egy GND,egy +VS és egy -VS.Működését tekintve van különbség?Hátrányosabb az egyik bekötés a másiknál? (rajzok mellékelve) A másik kérdésem a 3-ik képhez fűződik. Attól a két tranyótól tud 40W-ot a TDA 2030-as ami elvileg 10-15W? A 3 közül melyiket érdemes megépíteni? A hangzás és az egyszerűség számítana,nem a hangerő. (nekem a TDA2030 2 tranyóval a legszimpatikusabb) Az eddigi segítséget is nagyon köszönöm ![]() Üdv! Inox A hozzászólás módosítva: Dec 26, 2012
Ha csak hangerőt akarsz szabályozni akkor csak egy sima NE5532 kell.
Legalábbis én azzal csinálnám... Üdv!
És ezt hogy lehet kivitelezni?
Annyira nem értek hozzá. Esetleg valami rajzot tudnál összeállítani. Előre is köszönöm.
Így hirtelen kizárólag 5532-est tartalmazó kapcsolást nem találtam.
Egy biztos,hogy az LM1036 lábai nem lóghatnak csak úgy a levegőben. Találtam egy cikket aminek hasznát vehetnéd,igaz ez mikrofon előerősítő,de neked megfelelhet,mert ezen csak volume poti van. A leírás szerint remek a hangminősége,van róla rajz meg minden: Itt a cikk róla Elég egyszerű,és hatékonynak tűnik,remélem segít. Üdv!
Azt írod 12V lesz a táp. Mi sem természetesebb ilyenkor, mint egy autós végfok IC-t választani. Bővebben: Link Bővebben: Link TDA1554 TDA1557 stb.
Most találtam 1W-os végfok IC-t ami DC volume control-al van ellátva és nincs rajta hangszín,sem balance csak Volume Control.
Ez kell neked: TDA7052 Mellékelem az adatlapját! Üdv! A hozzászólás módosítva: Dec 26, 2012
Kösz, de
nekem ám fontos lenne, hogy 1 db mono /vagy sztereó/ pitival mind a 6 csatornát tudjam szabályozni.
Szerintem 6db ilyen IC-t szabályozhatsz 1 sztereo potival,és kész a 6 csatorna.
Köszi!
A 1554-es elég szimpi... Alszom rá egyet,mert már oda van az agyam ![]() Üdv!
A 8-as oldalon a 6-os ábra: a kimeneti jel negatívja nem azonos a gnd-vel, ez gondot okozhat, nem?
Idézet: „Jól tudom,hogy az 5532 azért van benne,hogy előerősítés is legyen?” Jól tudod, ha alacsony a bemenő jel, akkor az lm 1036 nem bírja meghajtani a végfokot, csak az 5532 erősített jele. Nálam csak magában van a 1036 a számítógép kimenete és egy lm3886 végfok között, de negyed hangerőnél még sosem tudtam feljebb csavarni, mert a hangfal nem bírta. 390nF-os kondi helyett a te esetedben 2db 220nF-os lesz beépítve ami 440nF én csak sima 330-as tettem bele ezzel is működik. A kondik értéke nem olyan kritikus, hogy ne lehetne helyettesíteni egy kisebb vagy nagyobb értékűvel. A végfokokról csak röviden, mert a modik lelőnek, nem ebben a topicban van a helye... Neked szerintem ez kellene:Bővebben: Link olcsó és egyszerű végfok, 4db 2030 kell hozzá, de az még mindig csak 800Ft +300Ft a többi alkatrész és már csak nyák kell hozzá. Szimmetrikus táplálás esetén nagyobb lesz a kivehető teljesítmény az erősítőknél, aszimmetrikus táplálással viszont egyszerűbb a tápellátás. Főleg autós alkalmazásoknál kis teljesítményeknél alkalmaznak ilyen tápellátást. A te esetedben jobb a szimpla 12V, mert így pc tápról járathatod. A hozzászólás módosítva: Dec 27, 2012
Digitális potméter kell neked. DS1669, vagy másik.
Nagyon köszönöm!
Amit linkeltél valóban egyszerű,olcsó és jó. Valószínű ezt építem meg,csak azért kérdeztem,mert beszéltük a PC tápot,nos a PC tápnak van -12V-os ága is,talán ezt kihasználhatom a végfokon.Bár igaz a +12V az 15A a -12V pedig csak 0,8A.Marad az amit linkeltél ![]() Köszi minden segítséget! Üdv!
Azt a negatív ágat ne nagyon terheld, mert nem fogja sokáig bírni egy erősítő terhelését. 0,8A nél nagyobb terhelést vesz majd fel a végfokod, ha hangerőt is akarsz belőle kicsikarni. 30W-ra elég neked az aszimmetrikus táplálás.
Egyébként egy kis átalakítással a - ág is el bírná a 10 Amper csak egy izmos diódára kellene cserélni a jelenlevőt ha jól tudom a lényege ez.
Még egy kérdésem felmerült.
Az LM 1036 kimeneténél van oldalanként egy-egy 100 Ohm -os ellenállás.Annak nem kéne legalább 1W-nak lennie?Vagy akár 5-nek? A 0,6W-ot kicsinek találom,vagy nagyon parás vagyok? ![]() Üdv! A hozzászólás módosítva: Dec 30, 2012
Jó lesz neked az 0.5W-os is. Egyébként én a gyári adatlapban lévő kapcsolást építettem meg és abban nem volt a kimeneten ellenállás, csak a 10µF-os kondi és így is működik.
Bővebben: Link
Köszi!
Még egy kisebb kérdésem lenne... Audio cuccoknál a fóliakondi a nyerő ami érthető is ,bár az okát nem tudom.Ennél a kapcsinál a bemenő jel egy-egy 1µF-os fóliakondin keresztül megy,de egy 10µF-os elkón távozik.A végfok bemenője is egy 1µF-os kondival kezdődik.Az is jó ha fóliakondi?Vagy az előfok 10µF-ja után már nem is kell az oda? Hú már biztos nagyon fárasztó vagyok
A végfok bemenetén is legyen fóliakondi. A 10µF-ot illetően majd fogok kísérletezni, ha egyszer kicserélem a potikat a kapcsolásban, mert nálam azok okozzák a problémát. Szerintem célszerű lenne csepptantál kondit alkalmazni, annak sokkal jobb a minősége az alu elko-nál. Fóliakondit ide nemigen próbálták, vagy csak én nem figyeltem rá eddig.
Szia! Ha az LM1036 egybe van építve a végfokkal, akkor a 10µF kicsatolók elhagyása meg lehet fontolandó. Két kondenzátort nem érdemes sorba kapcsolni.
Üdv!
Azt szeretném megtudni,hogy van egy ilyen TDA7439 darabom be rakható-e ebbe kapcsolásba? Vagy felejtős. Előre is köszönöm! A hozzászólás módosítva: Jan 6, 2013
Persze. Csak jó erősen meg kell majd nyomni, mert a 30 lábú IC-d a 20 lukba kicsit szorulni fog. Ja és hogy tök más a lábkiosztása is, meg a lábak funkciója is? Az nem számít . . .
Tudom, hogy OFF, és bocs érte, de ez nagyon jó volt!!!
![]() ![]() ![]() ![]()
Sziasztok!
Én is megépítettem a kapcsolást. Nem rossz a hangja, még nincs teljesen kipróbálva. Sajnos figyelmetlenségből felcseréltem két potit, de működik
Felcseréltél két potit, és mi történt? Minden poti értéke egyforma ebben a kapcsolásban!
Szerintem nem úgy értette, hogy fizikailag cserélt fel 2 potit, hanem nem olyan sorrendben vannak a funkciók, mint amit eredetileg elképzelt. Mellesleg nem voltam oda ettől a cél IC-től, kísérletezésre, esetleg kis igényű rendszerekbe való beépítésre jó kapcsolás, illetve IC,
Üdv gyimate |
Bejelentkezés
Hirdetés |



















