Fórum témák
» Több friss téma |
Fórum » Muzeális készülékek-alkatrészek restaurálása
Témaindító: Kutyuli, idő: Márc 29, 2008
Témakörök:
Kellemes ünnepeket és boldog új évet kívánok minden csoporttagnak!
Galaxy invader 1000 játékot újítottam fel, melynek a tűzgombja nem működött, illetve belefolyt az elem. A teljesen elkorrodált (nem vicc, gyakorlatilag porrá omlott) kontaktusokat sikerült pótolni 0.2mm vastag nikkelszalagból.
A tűzgombját teljesen ki kellett takarítani, mert az nem működött, illetve a kijelző és a mikrovezérlő lábainál mindent újraforrasztani... Most közel gyári állapotban van és visszakerült a gazdájához. A hozzászólás módosítva: Dec 23, 2022
Kedves Csoporttársak!
Kérem, segítsenek tanácsokkal. Ki milyen módszerrel hozná rendbe ennek az 1946-os Orion 844-esnek az elcsúfult tetejét? (Nem tudom, hol, mikor és milyen anyagtól ázott át.) Elölről talán még elfogadható az eredeti felület - a hálózati kapcsoló oldala gondozást igényelne. A komplett hangolóegység ép és szép, minden forgatógombja megvan. A textil sem rossz. A belső szerkezet teljes, a hátlap hiányzik. A hozzászólás módosítva: Feb 6, 2023
Először fel kell finoman csiszolni, hogy milyen mély a foltosodás. Színtelenítő szerrel a sötétebb részeket kezelni. Citrom, alkohol, ecet, salétromsav, mész stb. Ha nem javul látványosan, finom páccal a többi felületet hozzászínezni. Mivel ez politúrozott eredetileg, mindenképpen kell alkoholos felületmosás. Utána lehet lakkozni. Nagyon vékonnyal, több rétegben, közte csiszolva, portalanítva.
Köszönöm a tanácsot. Tehát az eredeti látványt csak politúrozással lehet elérni - vagy volna más olyan eljárás is, amellyel legalább megközelíteni lehetne? Félek, erre az a válasz, hogy a politúrozás látványát csak politúrozással lehet elérni
![]() Még sohasem próbáltam politúrozni. Ahogy olvasom a leírását, nem is nagyon vágyom rá, mert nagyon bonyolultnak és eszközigényesnek tűnik. Hátha van egyszerűbb?
Mint írtam: nix politúr, lakkozás, de vékonyan. Lakkal is el lehet érni (közel) azonos látványt, csak nem szabad vastagon, fénylőre kenni.
Akkor félreértettem: azt hittem, ez a lakk már a politúrozás spec. anyaga. De nekem az sem egyértelmű, hogy milyen lakkot keressek. Milyet javasol?
Egyszerű nitrolakk. Kis, nem látszó felületen kipróbálni, kiszívja-e az eredeti réteget. Ha igen, akkor akrilán, csónak, akármi. Először nagyon híg réteget, azt felcsiszolni és újabb nagyon vékonyt.
Gyorsan száradó, színtelen, fényes akril lakkom van, spray változatban, "Very Well" márka, holland.
Ez is megfelel a célnak?
Sziasztok!
Kaptam máma egy ilyen gyönyörűséget Proxima 408 érdemes használni vagy rendbe rakni elvileg full gyári. egy pár kép róla. A hozzászólás módosítva: Feb 25, 2023
Üdv! Nem rossz masina ez, érdemes vele foglalkozni, nekem is van egy , szinte újszerű állapotban.
A hangfrekis része egyébként szépen szól, kellemesen jó mélyek és magas hangok jellemzik, nekem tetszik. A rádió urh része viszont keleti normás, azt át kell hangolni. Szobába untig elegendő a hangereje. Akár pc-hez erősítőként használva.
Akkor teszek rá egy villásdugót és megnézem hogy mit csinál mer állítólag működik. csak akkor kel neki egy dobozt gyártani
Bekapcsoltam a masinát sajnos rádió adót azt nem fog de szeretném a fm részét használni csak nem tudom hol kell át hangolni.
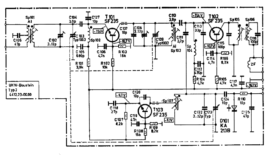
Van hozzá rajz.
T103 kollektor körében a rezgőkört kell piszkálni első körben. Tekercs és kondenzátorok. A többit akkor, ha már szól. Nem árt, ha van frekvencia mérő, de legalább tudod hogy melyik a helyben fogható legerősebb adó.
Kossuth rádió már jön de nagyon gyenge lehet a jel.
Akkor lehet hogy még messze nem vagy a kívánt tartományon belül, és egy jó távoli Kossuthot fogsz. Itt egy lista. Antennát ugye használsz?
Szervusztok,
Hozzánk került egy telepes néprádió (Orion 115b), sajnos jelentős károkkal. Elkezdtük rendbehozni, méregetni, a kimenő trafó viszont gyanúsan rossz. Nincs tapasztalatom a kimenő trafók kapcsán, de a 0,6ohm a szekunder körnek nagyon kicsinek tűnik, ~570ohm a primer. Tudja esetleg vki ezen trafók méretezését, jó lehez ez amit mérek? köszönöm szépen előre is! üdv, csuti
Leltem egy retró rádiót is ebbe már jártak előttem most nézem az egyik bizti ki van menve 1A
nagyon köszi, akkor megyünk tovább! A kondikat átnézem, azok elég viseltesen néznek ki sajnos.
üdv, csuti
Gyanús, hogy tükörfrekvencián hallod. Ha Balmazon vagy, valószínűleg a tokaji adót tudod fogni, onnan 97,5 MHz a Kossuth, a tükör pedig 76,1 lesz. Bár ez is kilóg az OIRT sávból, előfordulhat, hogy a skála felső végénél hallható. (Esetleg a Kékes, akkor 95,5 - 74,1.)
A hozzászólás módosítva: Feb 26, 2023
Viszonylag egyszerű az áthangolás mivel készült CCIR és OIRT változat is belőle. Pár kondenzátort kell kivenni és van amit más értékűre cserélni, tekercsek menetszámát nem kell megváltoztatni. Majd behangolás.
A rajzon minden érték fel van tüntetve.
Igen, csak kondikat kell kivenni, elegendö egyik kivezetését kicsípni.
Én még nem de valaki már igen egy darab drótot forasztotak az egyik tekercsre és ez van ki vezetve kívülre
Enyi mokolás van a tunerbe
|
Bejelentkezés
Hirdetés |




















