Fórum témák
» Több friss téma |
Fórum » NYÁK terv ellenőrzése
Ja tényleg arról nem isírtam...
szóval ez egy simsonra való fordulatszámmérő. A ledeket körbe akarom malyd rakni..
Idézet: „malyd rakni..” Mármint: "majd rakni, ugye?
igen
bocsi
Helótok!
Meg szeretném építeni borvendeg kapcsolását, csak volna pár kérdésem: 10mm-es LEDeket is lehet használni? Tápfesznek stabilizáltnak kell lenni, vagy lehet pulzáló is? A trimmer mire van benne? És hova kell kötni, ugyértem a hangszóróra párhuzamosan, vagy még a végerősítő elé?? Előre is kössz
Szia!
Signal MAX 10V, ennek tükrében a hangszóróra párhuzamosan, vagy még a végerősítő elé. Készüléktől függ, hogy hova lehet ! 100W -os erősítőnek ne kösd a hangszóró kimenetére. Trimmer valszeg a ledek feszültségét szabályozza. Üdv!
A rajzon szereplő KT100 2kohm körüli, tehát módosítás nélkül a KTY11-7 passzol.
Kis átalakítással mindegyik jó lehet, a többi 1k-s.
Köszönöm!
Nyákrajzban esetleg nem tudsz segíteni? :help:
sziasztok!
nekem ebben a rajzban kéne segítség és elég vastagon kéne mert vasalással szeretném csinálni és avval vékony sávot nem lehet húzni sajna előre is köszi! üdv!
Szia !
Idézet: „mert vasalással szeretném csinálni és avval vékony sávot nem lehet húzni sajna” Ne általánosíts, van aki 0,2mm -es vonalat is tud ![]() Üdv!
Azért ez a dolog nem arról szól, hogy nesztek hülyegyerekek itt van tervezzétek meg...
De lehet jó kedve az embernek (az volt most) és összedobtam. De azért erre nem kéne rászokni, nem egy túl nagy ördöngősség, csak türelem kérdése. A vasalásra: nem a technikában kell a hibát keresni, én csináltam tökéletes alámarás nélküli 0.3 mm-es vonalat, csak ki kell tapasztalni a dolgot :yes: Blint
szia!
nekem azt mondták hogy az már nem tapadna fel miután írtam ezt az üzit utána megkérdeztem 1 mádik embert és ő azt mondta h feltapad akkor most nem tudom hogy mit higyjek üdv!
szia!
köszi! nem fogok erre rászokni csak ez most sürgösségi eset volt és még most tanulom használni a progit még1szer kösz! üdv!
Sziasztok!
Építetettem egy basszus kiemelő áramkört, de nem tudom, hogy jól rajzoltam e a kapcsolásról. Megnéznétek nekem? Köszi! Kapcsolási rajz Nyák rajz
A nyákterv jó, és használható. Az átkötést érdemes piros vonallal behúzni tervezéskor, hogy később ne legyen belőle gond. Olvasd el a cikkem, biztos van bene amit még nem tudsz.
Hát akkor nem egy ördöngös rajzolni egy kapcsolásról nyáktervet
![]() Eggyet nem értek, ezt az áramkört a végfog elé vagy után érdemes kötni, mert tegnap elé kötöttem és földhurok hang volt mind az állat. A végfokon 2x24v van ezen meg 12v.
elé kell kötni. hát nem lesz földhurok, ha elolvasod topi cikkét, és megszünteted a hurkot.
Elolvastam Topi cikkét és úgy csináltam ami ott volt. De a jelenség úgyn úgy jelentkezik, de ez olyan hang mint ha zárlat lenne.
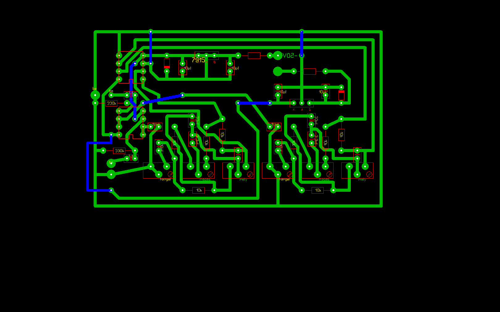
Hello az a problémámhogy a Skory oldalán található QUAD405-höz tervezett hangszínszabályzó áramkör nyákrajzát elkészítettem a segítségeteket abban kérném,hogy nézze át valaki hogy jó e a rajz illetve a C3 és C5 alkatrészek értékét szeretném tudni(ezt csak sjtem h 10pf illetve10pf tantál)
C3 és C5 10µF-os kondik.
A C5 tantál legyen (vagy sima elkó áthidalva 10nF-os kerámiakondival), C3 az lehet sima elkó vagy tantál, a lényeg hogy a "+" kivezetés a "10uF" felirat felé legyen. A nyákot meg ne várd el hogy átnézzem nincs ilyenre időm és energiám... Nem szeretnék nyersen fogalmazni, de ne haragudj te tervezted nézd át te, csak nem várod el hogy valaki nulláról visszafejtse a nyákrajzodat és összehasonlítsa a kapcsolási rajzzal. Az egyébként ránézésre látszik hogy sok benne a hosszú vezetősáv és van benne hurok, ezek előfoknál nem előnyösek!
ok köszi asegítséget szóval ha ez nem a legjobb terv akor nincs vkinek egy jobbterve ehhez a kapcsihoz???
Szia !
Rajzold meg újra, próbáld egyszerűsíteni...stb akkor lesz az igazi, és főleg gyakorlat teszi a mestert. Ha megvan, én szívesen átnézem, ha a schematikus rajzot is elküldöd, nem tart semeddig ellenőrizni. Talán még ötleteket és több segítséget is tudok a rajzhoz adni. Üdv!
Sziasztok!
Van egy nyákrajzom pdf fájlba, ezt szeretném tükrözve kinyomtatni. Egy HP1018-as nyomtatóm van de neki a progija nem kínálja fel ezt a lehetőséget. Mellékelem a fájt , ha tud valaki segíteni nagyon megköszönném!
Itt a nyákrajz PDF és Sprint-Layout formátumban.Ha már magamnak megcsináltam akkor feltettem neked is.
A jövőre nézve:
Nem elegáns megoldás, de használható. A pdf-et megnyitod, majd az AcroReader eszközeinél van egy fényképezőgépszerű ikon. Arra kattintasz, majd a kinyomtatandó rajzot körbekeretezed, ekkor kimásolja vágólapra a kép-részt. Fogsz egy képkonvertert (pl.: IrfanView), beilleszted, és azzal tükrözheted. Mondom, nem elegáns, de használható.
Nagyon köszönöm a segítséget, már én is ott tartottam, hogy megrajzolom magamtól de valahogy a kerti munka nem nagyon engedte meg, hogy ezzel foglalatoskodjak.
Frankye! Neked is köszönöm a tippet, ha másképp nem ment volna akkor így csináltam volna. Köszi mégegyszer mindkettőtöknek!
Nincs mit. Segítsünk egymásnak ahol tudunk, hisz ezért van ez a szuper fórum.
Idézet: „Nincs mit. Segítsünk egymásnak ahol tudunk, hisz ezért van ez a szuper fórum. Egyebet én sem tudok rá mondani!
Sziasztok meg tudná nekem valaki rajzolni ezt a panelrajzot mert nekem sajnos ne ment. Mert nagyon fontos lenne csak nekem nincsenek meg hozzá a meg felelő tapasztalatok. Ezért kérnélek meg benneteket hogy segítsetek nekem meg csinálni a panelrajzot.
A segítségeteket előre is köszönöm. Bye Dj Peat.
Hello mindenkinek!
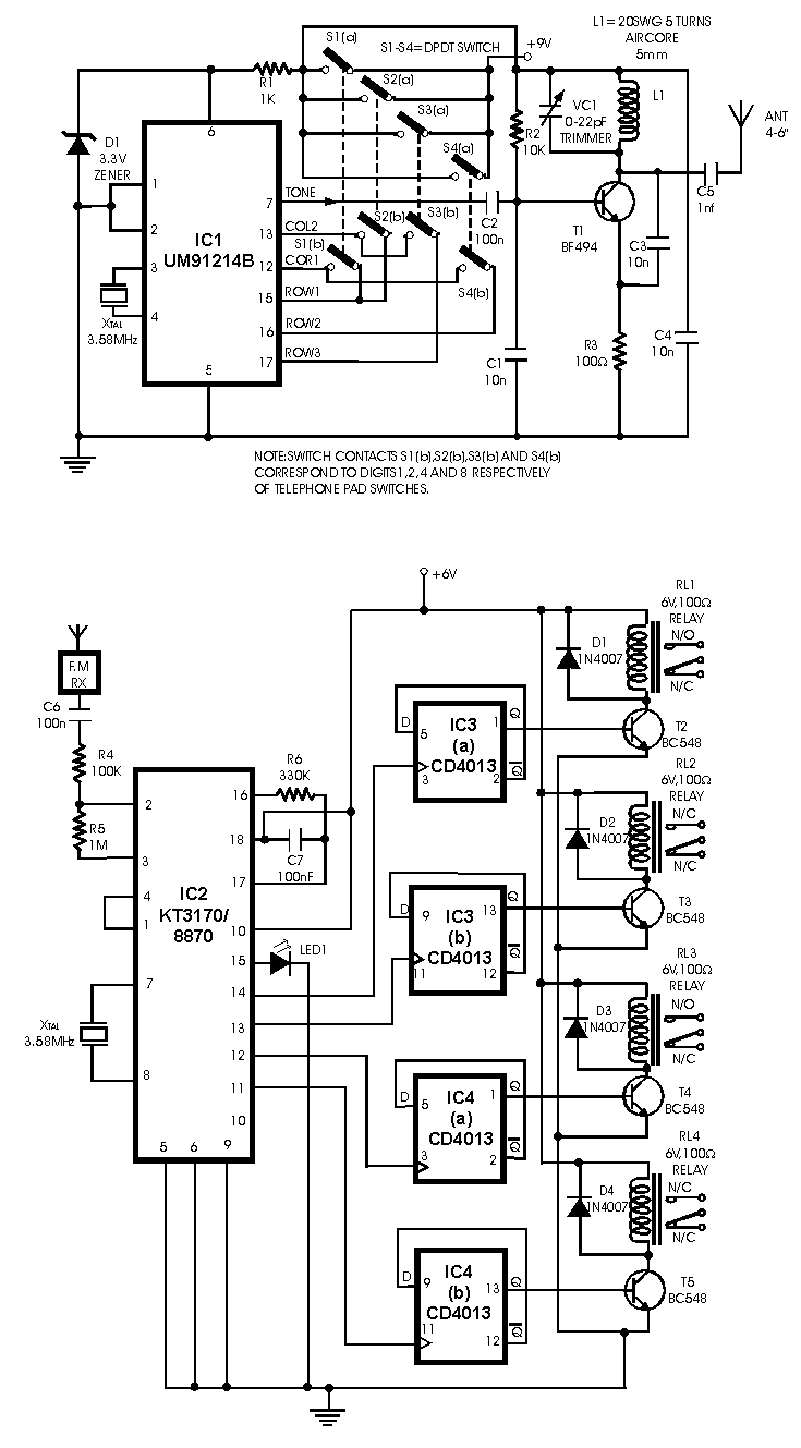
Segítséget szeretnék kérni egy négysávos távírányító ADÓJÁNAK a nyák tervezésében! Igazából ha tanácsot adtok azt is elfogadom, igazából csak az nem világos h a kapcsolóknál mi az a szagatott vonal v. mit is akar jelenteni? És lenne még egy kérdésem: haén mondjuk több csatornát szeretnék üzemeltetni akkor az jó megoldás-e ha CSAK a kristály típúsát megváltoztatom-e? Előre is köszönöm a segítséget! a1356 |
Bejelentkezés
Hirdetés |














