Fórum témák
» Több friss téma |
Fórum » PIC égetési hibák, problémák, kérdések
"egyszerű, mint a faék..."
![]() Én mára befejeztem, már a gépet is visszapakoltam a helyére, de holnap újult erővel folytatom, főleg hogy nem kell menni suliba, és reggel jól kialszom magam.
Akkor ez azt jelenti, hogy a 3. láb leterheli a D0 kimenetet!
Akkor holnap a 3. láb teszt jön... Rákattintasz kettőt a hozzászólás szürke fejlécére(ahol nincs semmi) és a feljövő linket lemásolod. Lehet, hogy engedélyezned kell a műveletet, mert a böngésző hisztizhet biztonságra hivatkozva...
Várjál még, ne menj pihenni!
A Vss-t mivel kötötted össze? Mit is jelent a Vss?
A Vss a PIC Gnd-je. Nem?
És igen, most hogy nézem a rajzon valami nem stimmel, de kérdés, hogy az úgy is van -e, vagy csak rosszul rajzoltam... Mindjárt kiderítem!
Jah, persze, a rajzon a 7407 Vdd helyére először Gnd-t írtam, és a kijavítás után nem néztem meg a vonalakat, majd holnap töltök föl új rajzot.
Pedig már kezdtem örülni, hogy kiszúrtál valamit! "Akkor ez azt jelenti, hogy a 3. láb leterheli a D0 kimenetet!" Ez önmagában okozhatta a problémát? Ezt hogy kell megszűntetni? Ellenállás kell a D0 után?
Elvileg nem kell semmi, nem szabad terhelnie.
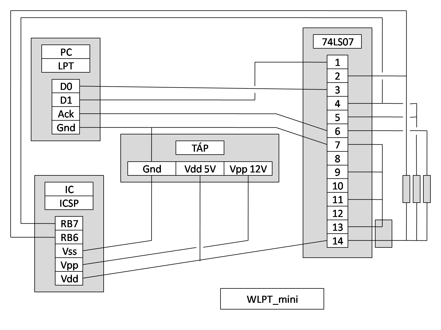
Tessék, itt egy jobb kép, PowerPointos, png. Így vannak összekötve a dolgok.
Ezen látszik valami hiba?
Nem.
Jutottál valamire a mérésekkel?
Még nem csináltam meg a második mérést.
De majd ma délután. Egyébként ennek az a lényege, hogy a 7407 kapja a Vdd-t, rendesen beindul, mit máskor, csak a mérés során nem a géptől kapja a jelet, hanem nekem kell rákötnöm a Vdd-t a bemeneti lábára, miközben mérem a kimenetet? (Lehet, hogy hülye kérdés, de az jutott eszembe) Hogy tulajdonképpen miért van szükség a 7407-re? Végül is ugyanazt csinálja, mint a számítógép, nem? Ha kap egy bemenetet, 5V áramot ad ki egy kimeneten. Mért nem lehet közvetlen az LPT-vel programozni a PIC-et?
Ha (újra) elolvasod mindkét cikket a minikről, akkor azokban benne van a válasz. Röviden annyit, hogy lehet(hiszen az első mini pont így tesz), csak meg kell oldani, hogy az adat vonal kétirányú legyen és a PC LPT portjának is megfelelőnek kell lennie erre. A 7407 egy OPC kimenetű illesztő(nézz utána, mi az az OPC, vagy OPD kimenet! (google).
Elvégeztem a mérést:
Az égetőt csatlakoztattam a tápra, a gépre nem. Bekapcsoltam a Vdd kapcsolót. A multiméter negatív végét az ISCP/Vss-el kapcsoltam össze, a pozitív végét az ICSP/RB7-tel. Vdd bekapcsolásakor 2 másodperc után beállt 0,14V-ra. 0,15V -> 0,14V -> 0,13 -> 0,14. Amikor a 7407 3-as lábára kötöttem a Vdd-t, a 4-es lábon közel 5V jött ki.
Ott alapból is 5V-nak kellene kijönnie, úgyhogy valami azt a hármas lábat húzza GND felé. Mért meg, hogy mi van a hármas lábon, amikor nem kötöd sehová. Kb. 2V-ot kellene mérned rajta.
0.02V van a hármas lábon.
de ott mért kéne 2V-nak lennie, a 3-as láb nem bemenet?
Na akkor keresd meg, hogy mi húzza azt a hármas lábat lefelé, mert azt bizony valami húzza (vagy hibás az IC, de akkor meg nem működne). Az igaz, hogy bemenet, viszont a 74LS07 az TTL ic, aminek a levegőben lógó bemenete belülről kb. 2V-ra húzódik fel. Belső kapcsolási rajzból ki lehet nézni, hogy miért van ez.
Van valami!
A 3-as láb mintha egy kicsit érintkezett volna a vele szemben lévő 12-essel. Megpróbáltam lekaparni az ónt, és most 1,53V jön ki a 3-as lábon. Mindjárt elvégzem a méréseket a progival is. Most minden működött!!! RB6, és RB7 is csak akkor volt 5V, ha a progival bekapcsoltam. Nagyon köszi a segítséget! Mostmár van egy működőképes PIC programozóm, hála neked! Ezek után már mehet bele a PIC?
Ááá, nem tudok vele PIC-et írni. Még egyszer megmértem, és most is jól működött.
Ez azt jelenti, hogy sikerült tönkretennem a PIC-et?
Egyébként beolvasáskor minek kéne lennie az üres PIC-en?
0000 / 3FFF A WLPT_mini is fel tudja ismerni a PIC típusát?
Látom halad a dolog!
Idézet: „A WLPT_mini is fel tudja ismerni a PIC típusát?” Igen. Pipáld ki a mini támogatását és kövesd a program utasításait. Üres PIC-ben 3FFF van.
Idézet: „Ez azt jelenti, hogy sikerült tönkretennem a PIC-et?” Lehet, de nem biztos. A 7407 is tönkremehetett, vagy nem (nem csak úgy mehet tönkre, hogy abszolút nem működik...). Kettőt vettél?
A PIC Flash memóriájának beolvasásakor csupa 3FFF-et olvas be, de korábban már olyan is volt, hogy 0000-kat olvasott be. A PIC típusát nem sikerült beolvasnom.
A 7407-ből csak egyet vettem, de még megvan a régi is, majd azzal is kipróbálom, hogy jók -e a feszültségek, mert elvileg ha az a forrasztás volt a gond, a régi IC még lehet jó. szerinted a 3-as, és 12-es láb érintkezése tönkretehette a 7407-et? Van valami tuti módszer annak megállapítására, hogy egy üres PIC működőképes -e?
Idézet: „a 3-as, és 12-es láb érintkezése tönkretehette a 7407-et?” A 12. láb egy kimenet. Ezzel szembe kapcsoltad a D0-t, ami szintén kimenet. Elképzelhető, hogy megsérült a chip. De ez csak feltételezés, nem biztos. Ami biztos, hogy ennek az áramkörnek működnie kell, ha helyen van minden összekötve, a programban minden jól van beállítva, és minden alkatrész jó... Olvass bele innen a WPB égetőszoftver fejlesztése/tesztelése topicba, és próbáld meg az ott elvégzett teszteket lefolytatni. Próbáld követni a jeleket! A PIC-et 1Hz-el is fel kell tudni ismertetni, ha a jelek megfelelőek! A jeleket LED-ekkel tudod indikálni, de mindez le van írva a jelzett helyen! Ha valami eltérés van jelezd, ill. próbálj rájönni mi okozhatja(program beállításaira gondolok). Ha minden jónak tűnik, akkor valami alkatrész hibás lesz, vagy még mindig nem tökéletes a szerelés.
Két OC kimenet ilyen összekötésekor nem illik semmiféle bajnak történnie, ha valamelyik 0-ban van, akkor az összekötött pont 0-ban lesz, gyakorlatilag egy huzalozott ÉS kapcsolat alakul ki (anno a TTL receptekben példálóztak is ilyen megoldással). Ahogy látom egy korábbi sémából, a 12-es lábhoz tartozó kapu nincs is semmire használva, a bemenete GND-re van kötve, így a kimenete 0 szintű. Azaz valóban alacsony szinten tarthatta a kérdéses vonalat, de ettől semminek nem lett volna szabad megsérülnie. Ha mégis megsérült, akkor az nem ettől van.
Volt ez rádugva a nyomtatóportra is ezzel a zárlattal.
Hm, lehet, hogy igazad van, a nyomtatóportkimenet nem OC... Ámbár azt írta a kollega, hogy a 7407 teszi a dolgát, ami arra utal, hogy a nyomtatóport kimenete is túlélte, meg a 7407 kimenete is. (Tapasztalatom szerint ahhoz komoly erőszak kell, hogy egy 7407 kimenet megadja magát.) Csak végig kellene debugolni azt a kommunikációt a PIC-kel.
Én is pont azt akartam írni amit potyo.
És én is pont azt gondolom, amit te, hogy ritka, de előfordulhat, hogy tönkremegy a chip belül úgy, hogy bináris feszültségekre reagál, de nagyfrekis viselkedése káoszos. Volt ilyen 7406-om, kettő is. Mérve jó, de nem működött vele az égető. Csere után ok. De ismétlem, nem biztos, hogy ez itt bejön, mert a 7407-el ilyen jellegű anomáliám nem volt még, ezért is váltottam erre. Ha kiméri hackerfish a linkelt leírások alapján, lassú sebességgel a vonalakat, és lassan megy, gyorsan nem, akkor érdemes kicserélni. Egyébként nem értem, hogy egy 180Ft-os IC-ből miért nem lehet legalább 2-3db-ot betárazni? Egy gombóc fagyi lassan ennyibe kerül...
Köszönöm, hogy próbáltok segíteni, elolvasom a belinkelt cuccokat, és megpróbálom elvégezni az említett méréseket.
Az írási sebesség szabályozhatóságának egyébként mi a jelentősége, mire való?
Jah, és még valami:
Több helyen is írtad, hogy a WLPT_mini v4-ben van egy hiba: Idézet: „A v4-es rajzban vagy egy kis hiba, a +5V és a Vdd vezetékek kereszteződésében van egy pont, aminek nem kéne ott lennie, hasonlítsátok össze a v5-ösel, ott látható a helyes vezetékelés.” A kapcsolásokban lévő képen én nem látom ezt a hibát, ott ki van javítva? És a v5-öt hol tudom megnézni? Itt nem találtam.
Ez nem a WLPT_mini-ről szólt, hanem a WCOM_mini-kről. Bővebben: Link
Ezeket még nem publikáltam, mert még nincs nyákterv. Kipróbálni kipróbáltam őket, működnek(WPB_F18_F16-al).
Ja akkor ok.
Elkezdtem olvasni a belinkelt topicot. Ha jól értem, minél lassabb a sebesség, annál nagyobb esély van arra, hogy sikerül azonosítani a PIC-et? Beállítottam a WPB-t a lehető leglassabbra, de még így sem sikerül azonosítani a PIC-et, pedig - a WLPT_mini használata ki van pipálva, - az égető csatlakoztatva van az LPT-re, - a PIC a foglalatban van, és - a Vdd, és Vpp is be van kapcsolva... És írtad, hogy ledekkel tudom megnézni a feszültségeket, erre az az LPT-s progi is jó nem? Ha a progi nem ismeri fel a PIC-et, akkor az "IC->PC" kommunikációval van gond, nem a "PC->IC"-vel, ez befolyásolja az írást is? |
Bejelentkezés
Hirdetés |











