Fórum témák

» Több friss téma
Fórum » TDA7293 végerősítő
 
Témaindító: m.joco, idő: Szept 12, 2007
Témakörök:
Lapozás: OK   13 / 75
(#) ImiDj válasza Directors hozzászólására (») Nov 28, 2009 /
 
Hat az adatlap szerint Tip35C colector-emiter 100v.Ezel szerintem +-50v tapfesz a max amit en hasznalnek erositoben.Azert ezt ajaltam mert lattam hogy +-45V-od van.De ami meg jobb az 2sc5200 es a complementarja mar nem jut eszembe ja megvan 2Sa1943.De en a mj15004/15003 mellet maradnak mert erossebek es jobban disipalnak mert to3 tokozasuak.
(#) ImiDj válasza zoka hozzászólására (») Nov 28, 2009 /
 
Hello Zoka egy kerdesem lenne hozzad megpedig hogy melyk rajz utan csinaltad meg a M/S tda7293-at mert ha a datashetbol akkor nagy valoszinuseggel azert szalt el.Egy forumon olvastam hogy 1 ora utan siman megadta magat normal uzemben.A 2 meg a 3-as lab a testre megy nem a - ba.Ez csak egy eszrevetel gondoltam beirom meg itt egy rajz is amit megepitet mert elszalt amit a datashet utan csinalt Ja ez csak az ST adatlapjan van igy

ok_19.jpg
    
(#) Directors válasza ImiDj hozzászólására (») Nov 28, 2009 /
 
Szia!

Esetleg működhet IRFP240 és IRFP 9240-es párossal is?
(#) zoka válasza ImiDj hozzászólására (») Nov 28, 2009 /
 
Üdv!

Nekem az első prototípus azért szált el, mert rövidre zártam. Ez tény. Egyébként a mai napig működne, mint ahogy működik is az a 2 amit utána csináltam. Most már több mint fél éve megy, semmi gond nincs vele. Pedig ha tudnád milyen gyilkolásnak volt kitéve a tesztjeim során
Egyébként nem az adatlap szerinti terv lett ész nélkül lemásolva. Ez annál sokkal kifinomultabb megoldás. Most hadd ne keressem meg, mit hova kötöttem, már régen volt
. De ha ilyet építenél, tényleg ne pusztán a datasheet alapján

zoka
(#) ImiDj válasza Directors hozzászólására (») Nov 28, 2009 /
 
Ezt nem tudom tesztelni mert nincs ithon ic-m csak jovo heten jonnek a postan.Letesztelem hogy viselkedik irf540-9540-el oszt beszamolok.En is gondoltam ra hogy irfp240-9240-el erositsem az ic-t.Nemtudok mondani bisztosat de szerintem mukodik.Ezt csak akkor jelentem ki bisztosan ha mar kiprobaltam.
(#) ImiDj válasza zoka hozzászólására (») Nov 28, 2009 /
 
Nem ilyet epittetem csak olvasgattam utana az interneten es gondoltam berofentem.Most epitettem 2 tda 7293-at sztereoban +-55v-ot kap de tettem hozza tranyokat csak azok hamisak voltak hat egykis gyilkolas utan megadta magat az egyik tranyo.Jovo heten jon ujabb,remelhetoleg nem hamis(mert ez haromszor anyiba kerul).En ugy veszem eszre hogy mintha jobb lenne a hangja vagy csak en nem hallom jol?Kosz a valaszt
(#) Directors válasza ImiDj hozzászólására (») Nov 28, 2009 /
 
Csak ezért kérdezem mert nekem van itthon ilyen fetem.
Akkor lehet én lepróbálom.Ugyan úgy maradjon a két ellenállás értéke csak a tranyók helyett a feteket rakjam bele?
(#) ImiDj válasza Directors hozzászólására (») Nov 28, 2009 /
 
Szerintem baj nem lehet ha 1ohm lesz.Izzoval eleszd es ha minden oke akkor mehet direkt.En ki fogom probalni 047ohm-al meg 033ohm-al mert a fetek hamarabb nyitnak.
(#) Directors válasza ImiDj hozzászólására (») Nov 29, 2009 /
 
Szia!

Azt szeretném megkérdezni,hogy melyik tranzisztor helyére rakjam az IRFP240-et és,hogy a lábakat hogyan kössem be a feteknél.Szóval a Source,Drain és a Gate láb hová kerül?
(#) szucsip válasza Directors hozzászólására (») Nov 29, 2009 /
 
Üdv!

Nem akarok belekotyogni, mert nem hozzám szólt a kérdés, de talán így gyorsabban haladsz:

Az IRFP240 -et kell a az MJ11032 helyére tenni.
EMITER - SOURCE
BÁZIS - GATE
KOLLEKTOR - DRAIN

A lábkiosztás a képen.

IRFP240.JPG
    
(#) Directors válasza szucsip hozzászólására (») Nov 29, 2009 /
 
Szia!

Én egyáltalán nem haragszok ha belekotyognak hanem inkább örülök neki mert így többen figyelnek,hogy nem csinálok e butaságot és még gyorsabban is haladok esetenként. Szóval köszönöm a segítséget.
Így egyébként a teljesítménye is nől az erősítőnek vagy csak nagyobb feszültségen lehet járatni?
Ezekkel a fetekkel mekkora a max feszültség 4 ohmra?
(#) szucsip válasza Directors hozzászólására (») Nov 29, 2009 /
 
Öm. Hát nem tudom, hogy mennyire lehet "nagy" feszültségen járatni.
A FETek 200V-ot bírnak. Ez azt jelenti, hogy +-100V mehetNE , ha csak a feteken múlna. A TDA IC-n múlik.

Elméleti maximuma 50V, vezérlés mellett (8Ohmon, 4Ohmon meg kb 43V). ImiDj rajzán +-56V van, de ott már rezeghet a léc. (én 50V fölé nem mennék)

A teljesítménye nagyobb lesz , mert az IC max 120W-ot tud. Lehet, hogy az IRFP240 és társa még kevés is lesz, mert elméletileg +-50V-ból 280W-ot simán ki lehetne szedni, azt meg már nem fogják bírni a 150W-os FETek, csak akkor ha megduplázod őket)
(#) Directors válasza szucsip hozzászólására (») Nov 29, 2009 /
 
Akkor +-40V bátran mehet rá 4 ohmon és 120W tuti meg lesz 4 ohm-ra ugye?
(#) szucsip válasza Directors hozzászólására (») Nov 29, 2009 /
 
Igen, bátran ráadhatsz +-40V-ot 4Ω terhelés mellett. A 120W valószínüleg meglesz, még tranzisztorok nélkül is. (viszont eléggé torz lesz)
(#) ImiDj válasza szucsip hozzászólására (») Nov 30, 2009 /
 
Nyugodtan kotyogj bele ha van valami eszreveteled mert tobb szem tobbet lat es jol esik az embernek a segitseg.+-50V-bol 280w elmeletileg?Csak 235w 4ohm-on.De igen ez csak elmeletileg a gyakorlatban nincs enyi csak olyan180-200w ami meg elfogadhato torzitasal van.azert ajaltam Directors-nak ezeket mert neki +-45v-ja van az egyik trafonak amit fel akar hasznalni 4 ohm-on es ezert adtam a tippet hogy erositse meg tranyokal.Szoval csak az ic szol de viszont kap 2 pot kereket ami segiti,stabilabba teszi mint a tda 2030-nal.Az siman csak 18w de tranyokal mar 40W.Amugy tenyleg +-50V-hoz Mj15003-15004 parost ajanlom.Koszi az eszrevetelt
(#) ImiDj válasza Directors hozzászólására (») Nov 30, 2009 /
 
A max feszultseg az szerintem +- 50 is lehet 4 ohm-on.+-40V-al meglesz 120W fettekel 1%torzitas alat szoval nem eszreveheto csak legyen hangfalad ami birja.Az elobb tettem fell egy tablazatot abbol kb megvan a feszultseg/telyesitmeny arany de ez olyan 80 szazalekban jo.Amugy varom az eredmenyeket Ja es a trafo kell legyen minimum 200W csatornankent sztereoban min.400W
(#) Directors hozzászólása Nov 30, 2009 /
 
Üdv!

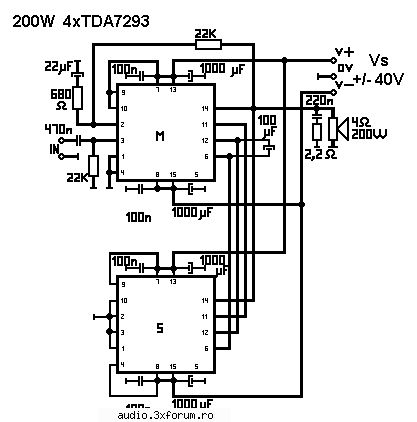
Így jó lesz a bekötés?(Nekem nincs benne a 22k ellenállás ami a kimenetet és a 2 lábat köti össze.)
(#) ImiDj válasza Directors hozzászólására (») Nov 30, 2009 /
 
Miert nincs benne a 22k?Amugy jo a bekotes
(#) szucsip válasza Directors hozzászólására (») Nov 30, 2009 /
 
Hello!

Igen, így jónak tűnik a bekötés. Én a helyedben rövid vezetékeket használnék, és/vagy árnyékolnám is őket, mert mindent be fogsz antennázni!

Szerintem a feteket -ha ez a nyákterved, amit mutattál- tedd az íc-vel szembe, a nyáklap másik oldalához, és így csak a kimenetet kell "hosszú" vezetéken vinned.

Jah és a FETeket így külön bordára kell tenni, viszont így az lesz benne a jó, hogy mindenféle szigetelés nélkül mehetnek rá a bordára (DE CSAK AKKOR, HA A BORDA SEMMI MÁSHOZ NEM ÉR HOZZÁ!).
(#) Directors válasza ImiDj hozzászólására (») Nov 30, 2009 /
 
Hát nem tudom miért nincs rajta 22k ellenállás. Ott nekem át van vezetékelve.Ezt a rajzot a neten találtam és így volt ahogy a képen látod.
Muszáj külön bordára rakni a feteket? Ha elszigetelek mindent a bordától úgy nem lehet baj vagy igen?
(#) ImiDj válasza Directors hozzászólására (») Nov 30, 2009 /
 
Nem muszaj kulon bordara tenni lehet egy bordan minden csak szigetelten es minel kozelebb az ic-hez! Legyen minel kevesebb huzalozas.En is ugy fogom tenni egy bordara mindent Azert irtam hogy minel kozelebb az ic-hez mert igy ha tulmelegedne a tranyo akkor lekapcsol az ic igy nem megy tovabb es nincs baj.Amugy jo otlet amit szucsip mond mert osze van kotve a ket kolektor a tranyoknak igy mehetnek szigeteletlenul egy bordara a 2 tranyo de semihez nemszabad hozza erjen a borda! Az a 22k meg kell bele.Neked igy mukodot?Vagy meg nem vagy kesz vele?
(#) Directors válasza ImiDj hozzászólására (») Nov 30, 2009 /
 
Igen nekem így működött.Akkor azt mondod rakjam bele a 22k?Egyébként ez mi célt szolgál ez az ellenállás?
(#) ImiDj válasza Directors hozzászólására (») Nov 30, 2009 /
 
Most figyeltem hogy at van alakitva a rajz.A 22k helyet ott van a 100k.Az a viszacsatolo elenalas.Hagyd igy ahogy van szerintem mert mukodik
(#) szucsip válasza Directors hozzászólására (») Nov 30, 2009 /
 
A szóban forgó ellenállás negatív visszacsatolást hoz létre R2-vel. Ebben a kapcsolásban a feszültségerősítést a következők szerint számíthatjuk:
1+(R3/R2) Ha R3=100kOhm, R2 pedig 680Ohm, akkor az erősítés 148 szoros lesz. (Szerintem ez kicsit sok!)

C2 pedig felüláteresztő szűrő szerepet tölt be. --> Egyenáramú erősítése "0".
C2=22µF esetén az alsó határfrekvencia 10Hz lesz.
(#) Directors válasza szucsip hozzászólására (») Nov 30, 2009 /
 
Kösz a választ.

Összeraktam és a teszt üzem sikeres volt.
Holnap felrakom nagy bordára meg izzók nélkül megnézem mit produkál az édesem.
(#) ImiDj válasza Directors hozzászólására (») Nov 30, 2009 /
 
Gratula
(#) Directors hozzászólása Nov 30, 2009 /
 
+-44V-on a clip ledhez mekkora ellenállás kell?
Hogy beleraktam a feteket így is jól fog jelezni majd a led?
(#) ImiDj válasza Directors hozzászólására (») Nov 30, 2009 /
 
Hat ezt nemtudom mert en nem hasznalom a clipp kivezetest de meg fogom keresni neked.Szeritem 5.6k-10kk jo lesz.Jelezni fog csak sokkal nagyobb telyesitmenynel.Varom a tapasztalatokat mert nekem csak penteken jonnek a tda-k
(#) Directors válasza ImiDj hozzászólására (») Nov 30, 2009 /
 
Köszi.
Az IC 5 lábára kell rakni az ellenállást és ez kell a led + lábára kötni a led - lábát pedig a GND-re?
(#) ImiDj válasza Directors hozzászólására (») Nov 30, 2009 /
 
Nemtudom pontosan utana kell olvasak de ugyhiszem hogy az ellenalas megy a pluszba meg a led egyik labara a masik laba a lednel az megy az 5 labra.Utana nezek es irok bisztosan
Következő: »»   13 / 75
Bejelentkezés

Belépés

Hirdetés
XDT.hu
Az oldalon sütiket használunk a helyes működéshez. Bővebb információt az adatvédelmi szabályzatban olvashatsz. Megértettem