Fórum témák
» Több friss téma |
Szia Tibi!
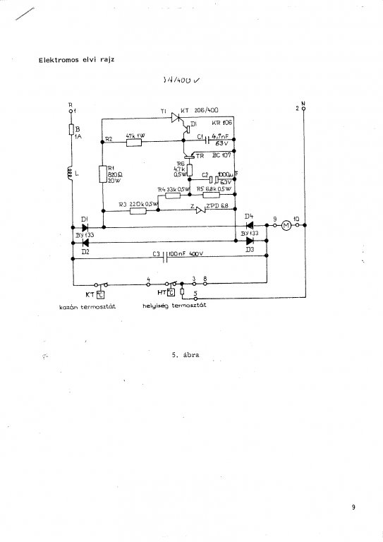
Én kísérletképp lassítani akartam tovább a szivattyút (az előzőekben leírtak miatt), ehhez megnöveltem a C1-et 10nF-ra. Már ezzel lassult a szivattyú, hisz a diak gyújtásához szükséges kb 35 Volt később alakul ki a nagyobb kondin az R2-n keresztül. Mivel ez még nem volt elég, egy 100k/2W -os potit az R2-vel sorbakötöttem. Így még lassabban töltődött a kondi és menet közben lehetett állítani a szivattyúteljesítményt is. Véleményem szerint az R1 gyárilag a teljesítményhatárra van méretezve. Ha a kazán áram alatt van és amíg nem megy a szivattyú (utánkeringetés időzítése lejárt, C2 nyitófeszre feltöltődött, T1 kinyitott!), gyakorlatilag a hálózati fesz teljes egészében rajta esik, és kb 1 W-ot kell elfűtenie. Nem csodálkozom, hogy apámék mindkét kazánjában ez az ellenállás ment ki. Én most R1 helyén 2x22k/2W -ot sorbakötve használok, ez volt otthon. Valószínű így is marad, de majd kiderül ha már beállítottam a főégő szelepét.
Szia Sari!
Köszönöm a választ, és sok sikert a szelep beállításhoz!
Hello mindenki.uj vagyok,de megosztanék veletek egy sztorit.SAUNIER DUVAL Semia F24 kombi kazán turbó kazánom van már vagy 8 éve.A szerelö, többször volt nálam javittani- foltozni,mint voltam egy év alatt az ANYOSOMNÁL....f1 -es hibával volt mindig gond...csak ezzel...F1......3 szszor cserélt vezér panelt..gyujto panelt is cserélni akart de 50.000.ft kb.sokaltam ,nemmentem bele.letöltöttem pdf-et használatit olvasgattam keresve f1 mi az a baj,?levegö visszaárramlás eggyik hibája.na ekkor jött az eddig f1 nélküli hónapom...nincs f1 hibám,most,de mikor cserélte aznap másnap ....volt f1 hiba..szoval kéményes igy felmentem a padlásra megnéztem a csövet,s ekkor láttam a BAKIT!!!a tömittő gumi repedezett törött volt.lbezsiroztam,s letakaram körbe rongyal,azota ,nincs f1 hibám,ez 30-40 napja van kb.azota nincs gondom..MITSZOLTOK EHHEZ??
Mivel későn léptél be a FÓRUMBA és nem kérdeztél meg bennünket, így nem tudtunk időben jó tanáccsal ellátni!
Gázszeres írta volt, vannak a szakszervizek - akik alkatrész cserélők és vannak akik javítanak! ![]() ![]()
Kéményes a készüléked, akkor a rongyot vedd le róla. Ha nagy lesz a hideg, többet fog menni a kazánod, magasabb lesz a füstgázhőmérséklet és esetleg belobbanhat a rongy!
Az összes retesz a gyújtásvezérlőre hat, így F1 hibakódot ír ki!
"Lépj be" többször a FÓRUMBA és segíts hasznos tanácsaiddal a rászorulóknak.
Boldog Karácsonyt a megjavított kazánoddal.
Sziasztok!
Véleményem szerint az R2 gyárilag a teljesítményhatárra van méretezve. Ha a kazán áram alatt van és amíg nem megy a szivattyú (utánkeringetés időzítése lejárt, C2 nyitófeszre feltöltődött, T1 kinyitott!), gyakorlatilag a hálózati fesz teljes egészében rajta esik, és kb 1 W-ot kell elfűtenie. Nem csodálkozom, hogy apámék mindkét kazánjában ez az ellenállás ment ki. Én most R2 helyén 2x22k/2W -ot sorbakötve használok, ez volt otthon. Valószínű így is marad, de majd kiderül ha már beállítottam a főégő szelepét."
Sziasztok!
Laikusként kérdeznék és esetleg segítséget is kérnék. Adva van egy Bugerux G112 turbós fali kazán. Indításkor 6/A kóddal leáll.Cserélve lett az érzékelő, a gyújtó elektróda. Akkor elindult. Cirka 2 óra múlva leállt, ugyan azzal a kóddal. A szerelő talált egy elfüstölt biztosítékot. Csere.Elindult, 3 óra múlva ismét leállt. a biztosítékok épek, viszont a kazán azóta sem indul. A szerelő panelcserét javasol.Mit tegyek?
Üdv mindenkinek!
Teljesen laikusként szeretném a véleményeteket kérni az alábbi esettel kapcsolatban. Thermomax Inka 35 RK kazánunk van külön padló, külön radiátor körrel, melyet 2009-től használunk. 2 évig semmilyen problémánk nem volt. Viszont idén tavasszal történt először, hogy a padló szokatlanul meleg lett úgy, hogy a termosztát nem is volt bekapcsolva. A szerelő elemet cseréltetett velem a termosztátban és ennyi, egyébként azt mondta ilyen nem törtnénhet. Ősszel újra észeltem a hibát. a padló többször is a kikapcsolt állapot ellenére forró!! Figyeltem mi miatt lehet. Azt gondolom, amikor a meleg vizet csinálja, idővel egyre forróbb lesz a padló kör. aztán olyan is előfordult, hogy a padló kikapcsolt termo. ellenére melegszik, a radiátor pedig a bekapcsolt termosztát ellenére órákig nem!! Kihívtam a szerelőt, aki továbbra is hülyének nézett, az okát nem tudta. Aztán még 2szer kihívtam miután újra észleltem. Aztán 3.dik kiérkezésére a kazán produkálta a hibát végre amikor ott volt... A melegvíz fűtés után olyan meleggé tette a padlókört, hogy le kellett zárnunk az osztót. Ezután beépített a padlő előremenőbe egy visszacsapószelepet, szerinte ugyanis a kazánnak semmi baja. és talán a gravitáció okozza....2 napig nem volt gond, aztán újra ok nélkül forró lett a padló. és a radiárot pedig annak ellenére hogy kellene, nem melegszik.a kazán meg megy állandóan, használja az amúgy olcsó gázt!! Most az van, hogy néha működik minden, de éjszakára kikapcsoljuk a padlófűtést és elzárjuk a padló előremenőt. ilyankor nincs gond, csakhát ez nem maradhat így. Valamint ma melegvíz sem volt, aztán kihúztam a kazánt, bedugtam és minden megoldódótt 2 órára, majd újra forró lett a padló, úgyhogy ennyi. Az érdekes az, hogy kihúzás/bedugás után megint működik minden...egy darabig. Kérlek segítsetek van e véleményetek, mert a többször kihívott hivatalos beüzemelőnek már nincs. Forduljak e a Thermomaxhoz Gyöngyösön? Köszi előre is, mert egyenlőre kész vagyunk tőle..olvastam olyat hogy talán vezérlőkártya??
Legelőször is érdemes lenne megnézned, hogy milyen a fűtésköröd szennyezettségi állapota!
A vassal szerelt rendszerek oxidálódnak és lehetséges, hogy a padlóköri váltószelep nem zár le teljesen.
Szia! Írd le pontosan a kazán típusodat!
szia Toro,
A fűtéskör a kazánban? de a karbantartás megtörént évente, ott nem kellett volna ennek kiderülnie?
Ha a kazánod Buderus GB 112, abban nincs gyújtó elektróda. Ez egy kondenzációs kazán, NEFIT holland gyártmány!
A 6A akkor keletkezik az UBA 1.5 vezérlésen, amikor valami miatt nem tud a láng a kazánban kialakulni. Ez lehet: 1. gázhiány-, 2. izzító meghibásodása-, 3. gázszelep tekercs hibája. 4. ionikus elektróda oxidációja. Minden egyéb probléma más kóddal jelenik meg!
Ha becsülettel volt karbantartva!
A kazánban vannak a 3 járatú szelepek a rendszerhez.
jó értem, de akkor egy új szerelőt javasolsz mondjuk?
A leírt jelenség nem utal valami egyértelmü problémára szerinted?
Nem javaslok új szerelőt, ha eddig (is) elégedett voltál vele.
Az esetleges okot az alább írtam.
nem voltam elégedett vele ebben az évben mert nem orvosolta a bajt, csak nem tudtam mást..de ez végülis mindegy...
Többen - többször írtuk: nem mindig a kazán a ludas egy hiba kialakulásában!
A kazánt gyártó cég, minden esetben előírja, hogy mit kell a kazán üzembehelyezése során a fűtésrendszerbe beépíteni! Sajna sok kivitelező egyszerűen - mivel nem ismeri a hőtermelő működését-, kialakítását - egyszerűen kihagy dolgokat! Fontos még, hogy a régi fűtésrendszerre rátelepítenek korszerű kondenzációs kazánokat. Ezeknek a kazánoknak a kazánköri víztere nemritkán 1-2 liter! Képzeld el a régi 1"- 2" csövekkel szerelt fűtésrendszer mennyi "szemetet" tartogat a kazán részére! A Termomax Inka 3,3 - 3,7 literes!
nyilván teljesen igazad van. mondjuk nálunk új építésü a rendszer meg a ház.
egyébként történt valami: a kazánházban elmélkedtem erről tegnap este és szemeztem a kazánnal aztán felfedeztem, hogy az utolsó takarításnál március környékén a kazános elzárta a melegvíztároló 5csapjából az egyiket, ami plusszban beépített időzíthető keringető szivattyún keresztül enged melegvizet a rendszerbe. emléxem hogy elzárta, mert nincs a szivattyú áram alatt.szóval ahogy emlékszem, utána kezdődtek a bajok és ez azóta sem volt megnyitva.. tegnap gondoltam egyet és megnyitottam.....tegnap este óta azt észlelem hogy minden rendben működik ...akkor kapcsol be és ki a két kör és akkor melegít amikor kapcsolom...reggel óta ezt játszom és minden ok a két körrel. valamint a melegvíz is erősebb nyomáson és melegebben érkezik a csapokhoz. Ilyen van? ![]() bocs ha teljesen értelmetlen a kérdés
Igen, nagy valószínűséggel mivel nem ment a szivattyú, a padlófűtés érzékelője azt érezte, hogy hideg az előre menő víz és teljesen kinyitotta a szelepet. A másik kör szivattyúja meg forgatta a fals vizet!
Ennyit ér, ha az ember azért tisztában van a rendszere alap működésével. Boldog Karácsonyi Ünnepeket az üzemképes kazánoddal! ![]() ![]()
Sziasztok!
SZERETNÉK MINDENKINEK KELLEMES BÉKÉS KARÁCSONYT ÉS ÖRÖMÖKBEN GAZDAG ÚJ ESZTENDŐT KÍVÁNNI!
Békés karácsonyi ünnepeket kívánok!Legyen meleg minden házban!üdv Judit
Kedves Judit!
Neked és családodnak is Boldog Karácsonyt az általad üzemképessé tett kazánod által meleg meghitt otthonotokban! ![]() ![]()
Neked is Kedves Judit!
Ügyesek és kitartóak voltatok a kazánjaitok javításával! ![]() ![]()
Sziasztok!
Segítségeteket kérném, adott egy Westen 280FI zárt égésterű tárolós kombi kazán (sajátunk... )Hibajelenség: bekapcsolás után kb 5-8 mp-el ventillátor elzáródás hibával leáll. DE ventillátor működik, a presztosztát működik, kapcsol ahogy kell, műszeresen is kimértem. Ellenben a gyűjtótrafó nem gyújt valamint a gázszelep tekercseit sem hajtja meg, igy a gáz sem indul el. Szerintem a hibajel is emiatt jön föl, de már nem tudom, hogy merre keressem a hibát. Ja a gázszelep működik, (845-ös) direktben pillanatra vezérelve elindul a gáz. Adjatok valami ötletet, mert már q..a hideg van benn... ui.: volt kint már "3 szaki", egyik sem bírt vele...
Szerintem valami égéstermék visszaáramlás érzékelő hibád lesz! Ilyen esetben ezekkel szokott baj lenni! Azt azért hangoztatni szeretném, hogy nem ismerem a kazántípusodat, így ez egy elég általános hibamegállapítás csak. De mindenképpen ilyen jellegű lesz ez a hiba, ezért nem gyújt, és nem is enged gázt!
Ebben ilyet nemtaláltam. Van benne fűtési és HMV NTC,
Áramlásérzékelő, pressztosztát a ventillátor működését ellenőrizendő. Ezeket mind ellenőriztem,és jól működnek.... ![]() Én a gyújtótrafóra vetek, ami a gázszelepet is vezérli,valamint a trafó meghajtására, amit szvsz a trafó nyírhatott ki. talán... de mégmindig csak sötétben tapogatózok...
Sajnos átbsztak téged ezzel az ipari hulladékkal... de a váltószelepet esetleg érdemes megnézni mert lehet be van kicsit állva kosszal! később majd kilukadhat a remek hőcserélő meg ha panelt kell cserélni valamiért akkor lehet programozgatni eme remekművet
sok sikert a javításhoz! |
Bejelentkezés
Hirdetés |






)




