Fórum témák
» Több friss téma |
Én w7 x64 et használok és nekem akkor jött be üresoldal ha egy sötét klasszikus témát választottam
Sziasztok, megépítettem egy hídkapcsolású erősítőt TDA7294-el. Tápfesz bekapcs, de nem szól, valami teendőm van még a stand by/ mute kivezetéssel?
Köszi
A stand by és a mute már közösítve van, és egy 10K ellenálláson keresztül adtam neki tápfeszt, de csak egy pillanatra és beindult. Mehet rá fixen is , vagy csak impulzus kell neki? Illetve mi az a feszültség amit adhatok rá? A tápom +/- 40V. Köszi
Itt az volna a lényeg, hogy a 9-standby és a 10-mute lábak +3,6V, vagy annál pozitívabb feszültséget kapjanak, mely akár a pozitív táp is lehet. Ennek tartósan meg kell lenni működés közben.
Ez érdekes akkor, mert ahogy írtam egy + impulzus és megy még le nem kapcsolom a tápfeszt az erősítőről. Akkor nem értem, de működik, az a lényeg!
Kipróbálom, majd úgy is, hogy fixen ráteszem a plusz tápfeszültséget, csak nem mertem a teljes feszültséget, nehogy kinyírja az IC-t.
Hali! Nyugodtan rá teheted nem fogja ki nyírni.Kapcsolás technikailag így kell be üzemelni.
Ja csak kapcsolási rajznak kell benne lennie? Mert azt hittem a panel tervek is benne vannak a másik 3 oldalba.
Ha van egy tda 7294 hidam és 200w RMS-t tud 8 ohmon, akkor ha 2 db 4 ohmos hangszóró van rákötve (mind a kettő 200w RMS) akkor több decibell lesz mintha csak 200w RMS 8 ohm lenne?
Hali, nekem olyan kérdésem lenne, hogy azt meglehet-e oldani, hogy van 1db 4 ohm-os hangfalam. 300W a teljesítménye, és lehet-e valamit csinálni azzal hogy növeljem a 4-ohm-ot pl 6 ohm-ra vagy esetleg 8-ra valamilyen alkatrésszel, pl ellenállással.
Szia! Gondolom sorba kötnéd a 4 ohm-os hangszórókat. Ebben az esetben hasonlóan kell szólni mint egy 8 ohm-osnak. Kivétel képez, ha eltérő a hangszórók érzékenysége. Van ilyen jellegű adatod?
Az impedanciát sokféle kép lehet módosítani. Passzív alkatrészek közül a transzformátor jöhet szóba, de alkalmazását messze elkerülném. A megoldás számodra egy 4 ohm-os erősítő lenne. Ne TDA7294-et köss hídba, hanem TDA7293-at párhuzamosan. Bővebben: Link
Nos az a helyzet hogy a kiszemelt hangszóró nincs raktáron, csak 4 ohmosba, de jobban átszámoltam és úgy 2x annyiba kerülne mintha csak 1 db 8 ohmost vennék.
Kiszemelt woofer Nekem azt írták ennek jó melybe vágó basszusa van ![]() Papírmembrános, a tekercs 3 inches Átszámolva 6552 Ft darabja Bővebben: Alien szériáról videók
Üdv tda 7294híd Pedro féle meghalt az ic .. kicseréltem mindkettőt meghalt megint.. kicseréltem az elkó és a bemeneti kondikat meg az icket most negatív tápfesz a kimeneten nem tudom mitévő legyek elkók polaritása jó, táp jó mert ugyanerről megy a másik hid tökéletesen.. Kérlek segítsetek tippek vagy valami !
Üdv! Az IC-k megsültek, vagy meg sem szólaltak? A tápot ki szoktad sütni a panel rákötése előtt?
Már van 2 db 7294-el megépített hidam. És ezeket akarom használni.
Pedig nekem ugyen ebben a formátumban és értékekkel van az egyik hidam és elsőre indult...
kifolyt az egyik lábnál valami fekete gány . .megszólalnak most is aztán felmegy a negatív táp és melegszik nem kicsit, kiszoktam sütni igen . épp azért nem értem mert nekem is elsőre szoktak indulni és ugy halt meg hogy csak be lett kapcsolva hajtva ne mis volt csak 2-3percet bemelegítésképp aztán olyan hangot adott mintha gerjedne meg recsegne egyszerre hűtése meg jó mert a borda az 5centi vastag meg 30centi hosszú 14centiszéles
A leírásod alapján gerjedés pusztít benne. Rövidre zárt bemenettel mit tapasztalsz?
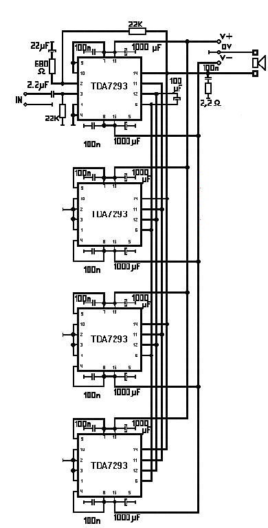
Helló! Szeretnék basszusgitárhoz végfokot készíteni 4 db TDA7293 párhuzamos kapcsolásával. A kérdésem az lenne, hogy kell e valamit változtatnom a végfokon, vagy a csatolt kapcsolás megfelelő? Milyen előerősítőt javasoltok hozzá? Hangszínszabályzó rész már megvan. Esetleg, ha van valami, amire különösen oda kell figyelni, vagy célszerű az ilyen szintű felhasználásnál figyelembe venni, azt osszátok meg velem. Nem szeretnék csöves előfokot, de ha valakinek van bevált kapcsolása hozzá, akkor szívesen fogadom azt is
A segítséget előre is köszönöm!
Szia! A slave bekötése nem biztonságos, a 2003-as adatlap már javított. Bővebben: Link
Ezt a tervet már a módosítások figyelembevételével készítettem.
Helló! Köszönöm! Ha jól látom ez párhuzamos híd kapcsolás. Én csak párhuzamos kapcsolásban gondolkoztam, vagy jobban járok a párhuzamos híddal?
Ennek a projectnek a hangszóró a kulcsa, mit választottál? Jelent-e kötöttséget a tápfeszültség?
Bassmesterrel kitárgyaltuk ezt a kérdést a múltkor. Neki négy hangszórót négy TDA7294-gyel ajánlottam. Az érveket ott megtalálod.
A ládát készen venném, ezt néztem ki: Bővebben: Link Ennek van egy 4 Ohmos változata is.
Szia a TDA7293 ic hidban mennyi tápfeszültségel megy.
Helló! Ha az a kérdésed, hogy ebben a basszusgitár erősítőben mennyivel fogom hajtani, azt még nem tudom. Készítettem már sztereó végfokot 2 db 7293 híddal, azokat +/- 35V tápfeszültséggel hajtom, 8 ohmos terheléssel.
Ma sikerült letesztelnem rövidre zárt bemenettel de ugyanúgy -28v van a kimeneten
nem tudom mi lehet vele már 2x cseréltem ki az ICket újakra.
Be kell a hibát határolni. Mérd meg a a híd kimeneteit külön, a testhez képest.
|
Bejelentkezés
Hirdetés |






nem tudom mi lehet vele már 2x cseréltem ki az ICket újakra. 



