Fórum témák
» Több friss téma |
Nyáktervet tudnál hozzá valahonnan ?
A hozzászólás módosítva: Okt 21, 2012
Fotózd le amit építettél (alulról felülről), kiderül van-e benne hiba.
Sziasztok! Valamelyik topickban volt egy 19 ledes vu-méter, lm3915-16-al. Nem emlékszik valaki hol találom.Emlékeim szerint pdf-ben volt.
Üdv:Lóri
Szia!
Esetleg nem ez volt? Bővebben: Link
A lényege ez volt,de az valami újságból lett berakva 2-3 oldal volt,de azért köszönöm.
Sziasztok!
Olyan kérdésem/gondom lenne, hogy kell-e nekem egy ilyen áramkörbe a ledek elé ellenállás nagy fényű ledek lennének benne minden led ponton kettő db led azaz 20db led lenne kettesével ![]() http://www.pira.cz/barschm.gif és ha igen akkor mekkora értékű led kellene hogy a legnagyobb fény legyen neki? ledek a következők, 5db kék 3 citrom 2 piros Előre is köszönöm!
Hello! Ügyes )üres) rajz. Sem alkatrész típus, sem érték, sem tápfesz. De a 2-2 Led-et célszerű sorba kell kötni. Az áramot az R4 értéke határozza meg. De azt korlátozza a tok maximális terhelhetősége, ami a tápfesz függvénye is.
Így válaszolni elég nehéz. Hogy a legnagyobb lehessen a Led árama, ahhoz a szükséges minimum tápfeszt kell választani, vagy a Led-ek tápfesz felőli oldalán egy db. megfelelő soros ellenállást kell választani. A tok terhelését nem célszerű 800mW fölé vinni. üdv!
Hello! Az R4=1kohm, az R5=2,4kohm. A Led-ek közös ágába egy 47ohm-ot kell tenni a +12V felé. Egyébként meg nem ezt, hanem ezt az áramkört építeném meg.. üdv!
A hozzászólás módosítva: Máj 9, 2013
Ha ezt a két ellenállást kicserélem akkor miben fog megváltozni? Mert ez az áramkör alapból egy 12V os pc táp ágról ment. Ilyen feltételek mellett csak azt nem tudtam kell e ellenállás be minden led elé
Hello! Az eredeti felállásban kb. 5,6mA lesz a Led-árama. Amit javasoltam, azzal, kb. 13,5mA. De tanulmányozd az adatlapot. A két soros Led, még hasznos is itt, mert csökkenti az IC-re jutó feszültséget (bár nem egyformán a színek miatt), így a disszipációt is. üdv!
Végül ez lett belőle. Esetleg valami trükk vagy tipp az áramkörhöz? Az a gondom hogy ha lejjebb veszem a potival akkor alig villan be az utolsó ha feljebb akkor meg alig megy le.... :/
Ilyen zenéhez sokkal nagyobb dinamikáju kijelzö kellene, vagy a bementre rakj egy kompresszort, ami "karban tartja" a bemenetet.
Különben nagyon ötletes a szerkezet!
Ezt kifejtenéd kicsit bővebben? Mármint ezt a kompresszoros dolgot
Egyébként köszi! )Mintha csak tegnap mondogattam volna, hogy de jó lenne megépíteni
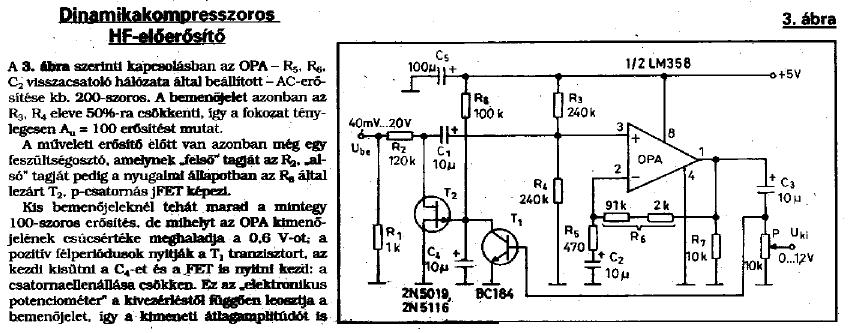
Az egy olyan áramkör, ami a bemenö jelet igyekszik egy szintben tartani. Régen szinte minden hordozhato magnoban volt ilyen, manapság a videokamerákban igen gyakori.
Szoval ezt az áramkört ha egyszer beszintezed igyekszik késöbb a modulaciot ugy kezelni, hogy az kb. egyforma szintben legyen. Föleg ilyen tipusu zenére, mint a tied, ez hatásos, mert csökkenti a jel dinamikáját igy a villogás sokkal hatásosabb. (Mindig aránylag sok led fog villogni - ami a célod).
Tudsz nekem egy ilyen kapcsolást adni? Lehet megépítem hozzá
Nekem is keresnem kellene, de biztosan van a HE rajztárában is. Ha találsz megbeszéljük. Azokban a magnokban 1-2 tranzisztoros és elég jól müködö kapcsolások voltak.
Rendben majd én is utána nézek. De ha találsz valamit akkor szólj milyen kulcsszavakkal keressek rá?
Ez egy mono hang dinamikai cucc nem? Mert ha jol értelmezem akkor Ube az a hang be az Uki az meg a hang kimenet ami jelen esetben megy a vu meterhez es a GND-k meg mind a VU mind a jack-eknek ossze van kotve igaz?
Üdv! A diódás csúcsegyenirányítás hátránya, hogy a dióda nyitófeszültsége alatti jelek elvesznek. Olyan integrátort építs, amilyet Proli007 ajánlott. A problémád meg fog oldódni.
Ugyanugy mnt a VU méter természetesen ez is csak egy csatornára szol, de a VU méter esetében aránylag könnyü sztereositani. (2. FET a másik csatornát kezelheti.)
Igen a bemeneti jack és a VU méter bemenete közé kell illeszteni, s jol beállitani. De van ettöl egyszerübb is.
Akkor nézzünk egy egyszerűbbet lehetőleg kevés alkatrészt tartalmazzon!
Már találtál mást vagy rám vársz ( mert én nem kerestem közben
)?
Rád várok, mert nézegettem én is, de pontosan nem tudom mégis milyennek kéne lenni
Íííígy inkább tapasztaltabban bízok
Itt egy még egyszerübb 2 csatornára, bocs rossz lett a link
Itt a jo Sztereo kompresszor A hozzászólás módosítva: Máj 30, 2013
Szia! A kolléga ha jól értem ezt építette meg. D1-nek ráadásul 1N4148-at használ. Ha a dióda nyitófeszültsége fölé komprimálja a jelet ebből könnyen csaknem folyamatos világítás lesz. A dinamikát szerintem nyugodtan meg lehetne hagyni, csak 0V jeltől induló csúcsegyenirányítót kéne használni. Proli007 belinkelte neki, magam is felhívtam rá a figyelmet.
|
Bejelentkezés
Hirdetés |










