Fórum témák
» Több friss téma |
Fórum » Geiger-Müller számláló (hobbi)
Szia
Itt, van egy kis gyűjtemény. Bővebben: Link De hidd el, hogy Pakson, hitelesített műszerek vannak. A tied nem lesz az. Sok mindent, anno nem lehetett bevinni. Ha igen, akkor bekísérnek egy szobába, képpel, videóval, bemutatják az erőművet, és kikísérnek a szobából. De maga a sugárzó anyaghoz, ha látótávolságba lesz, akkor elég közel, sőt nagyon közel, jutottál. Minden esetre sok sikert. üdv.
Köszönöm a választ.
Előzetesen egyeztettünk velük és megengedték. A vezetés teljesen bemutat mindent. Aki a suliban év végén jól végzett annak kifizetik a reaktortermi látogatást is. Egyszer már voltam bent akkor csak egy ilyen üvegfolyosóról láthattuk a reaktorfedelet. Most ólomruhában felöltözve be lehet menni,mert a 4.-es reaktor jelenleg nem üzemel. Megmutatják azt illetve egy üzemelőt.Legalábbis ezt ígérték.
Üdv!Szerintetek ez működik?A GM cső sorba van kötve 1 mérővel és 1 hangszóróval,amik párhuzamosan LED-ekkel és glimmlámápakkal vannak kötve, a táp 280-1600 Voltos?
Udv !Biztos orvendenetek(ism.orvendenetek) ha elmondom mi sugarzik!Regebb a sotetben vilagito orak szamlampjat es mutatoit radiumos (Ra) vagy triviumos (T,radioaktiv hidrogen 3-mal) festettek,a fustjelzokben americium (Am 241) kaphato,az UV fenyben sargaszolden vilagitouvegek es nanarancspiros keramia edenyek urant(U) tartalmaznak,a STATICMASTER ecsetek poloniumot(Po) az UV zolden vilagito sargas asvanyok uranercek a vilagito kulcstartokban tricium van a regi szivarban radon (Rn) volt,a gazharisnyak toriumot(Th) tartalmaznak, a szen 14(14C),radiokarbon a kaliumos mutragyak....stb sugarzasat szepen mutassa mutassa a mero!!! atomeromuvezni, atombombazni alkalmatlan nem lehet kivonni ezeket a ritka anyagokat!
a 43 nal es 61 nel nagyobb rendszamu (teknecium Tc,prometium Pm)k. elemek sugaroznak!! A hozzászólás módosítva: Aug 13, 2013
A listádhoz még hozzá lehet adni a tóriumos wolfram AVI hegesztőpálcát.
Idézet: „a 43 nal es 61 nel nagyobb rendszamu (teknecium Tc,prometium Pm)k. elemek sugaroznak!!” Hőt biztosan sugároznak. Csak az ólomnak 4 stabil izotópja van, aminek a rendszáma 82.
Arra jó, hogy tönkretedd a geiger csöveidet. Bár elég nehéz eldönteni, hogy ez most sematikus ábra, vagy kapcsolási rajz, valami painttel csináld meg inkább, mert ez a telefonos kamera borzalmas, pláne úgy, hogy meg sem világítod rendesen a papírt.
Működhet, de nem sokáig mert megfelelő áramkorlátozás nélkül hamar gallyra megy a cső. Nem véletlenül építenek erősítőt a hangszóróhoz, műszerhez. Építsd meg inkább Colector műszerét, több példányban jól bevált. Bővebben: Link
Azóta van egy újabb, kisebb, jobb hatásfokú változat, majd rakok fel róla infót valamikor ha lesz időm. Addig egy videó: Bővebben: Link
A táp már 0,6V-ról is beindul, egy stabilizátort építettem még hozzá.
sajnos soha sem volt/lesz geiger csovem,az uzletben azt se tudjak mi az, de egy hazi uvegcsovet kulonleges tisztasagu alkoholgozzel es nitrogennel toltottem meg,mukodi k!!!! hogy megy tonkre a cso ha nem kopik az elektrod nem fogy a gaz nem torik el?
A hozzászólás módosítva: Aug 27, 2013
A belső szennyezettség is szerepet játszik, ha te rakod össze. Nameg az sem mindegy milyen az az alkohol, egy idő után szétbontja a sugárzás.
Ha egy GM-számláló begyújtásakor mintegy 10^10 ion keletkezik, s ezek mind a
kioltógáz egy-egy molekulájának disszociációjához vezetnek, akkor egy kb. 10 cm3-es számlálócső már 10^8 impulzus regisztrálása után elveszti kioltógázának kb. egyharmadát, tehát élettartama véges. A számlálók élettartamát jelentősen megnöveli halogén kioltógáz alkalmazása. E gázok kioltás szempontjából hasonlóan viselkednek mint a szerves molekulák, de disszociálás után rekombinálódnak, azaz újra kioltásra képes molekulákká alakulnak vissza. A halogén gázok(bróm, klór) alkalmazásával a számlálók élettartama gyakorlatilag végtelenné válik.
Bővebben: Link
Ezt a programot nem próbálta valaki? A videó alapján az okostelefonok kamerája meglepően pontosan értékeli ki a gamma sugárzást, mindenféle kiegészítő nélkül.
h*onnan szerezzek brómot?(35,Br)?
A hozzászólás módosítva: Szept 2, 2013
a* GM csövem teljesen átlátszó,szintelen üveg,600 volton sugárzás közelében szép kékespiros szikra lesz benne
A hozzászólás módosítva: Szept 2, 2013
Nem lenne egyszerűbb egy gyári GM cső?
Úgy tűnik az előző hozzászólásom le lett törölve indoklás nélkül. De 1. google, ahol én is találtam és linkeltem is neked. 2. ha nem találsz akkor meg tudod adni egy elérhetőséget, akitől SBM20-as csövet tudsz venni.
Sziasztok!
Egy 1982 es IH-5M katonai sugárzásmérőt szeretnék feltámasztani, teljesen kompletten, újszerű állapotban került hozzám, törzskönyvével, mindennel. Nem titkolt szándékom, hogy használni is szeretném, viszont a jelzőműszerrel van némi problémám. Nem akar még áramtalanított állapotban sem lemenni 0 ra a mutatója, illetve egy bizonyos méréstartományba be sem tehető a műszer, mivel a méréstartomány állító kapcsoló megakad a megakasztó pöcökben, de még látszik, hogy mikroröntgenben is kéne neki mérnie. Amúgy meg világít és néha pattan egyet a fülesen keresztül. Van valaki hozzáértő aki rá tudna nézni, vagy tudna segíteni a feltámasztásában?
A néha pattan az jó jel, ami aggodalomra ad okot, hogy nem oda kapcsol ahová kéne de lehet csak megerőltették és elfordult. A műszer indexét az ablak alatt lehet kalibrálni nullához, viszont ha teleptesztnél sem mozdul akkor lehet leejtették és törött. Amúgy tesztelni csak béta sugárforrással lehet pl Sr90 mert alfára nem érzékeny így füstdetektorban található amríciumra meg se mozdul.
Ma szétszedtem és alaposabban körülnéztem benne.
Minden csavar eredeti bontatlan volt a belsejében, viszont a kijelzője buhreált és belül törött. Amint láttam Ganz gyártmány. Ilyet lehet még szerezni valahol? Én még sosem kalibráltam, sajnos nincs is hozzá sugárforrásom, de ha készen lesz, egyszer muszáj lesz azt is. Van aki tud ilyenben segíteni?
Béta sugárforrás régi mérőműszerek tartozékaként található, rendszerint a bőrtokba van rögzítve, varrva. Vagy elviszed valamelyik OSSKI-ba orr biztos van, és segítenek.
Sziasztok!
A Geiger-Müller számlálós kapcsolási rajzokat tartalmazó http://imiuhucsomik.uw.hu/geiger.zip link hol érhető el újra?
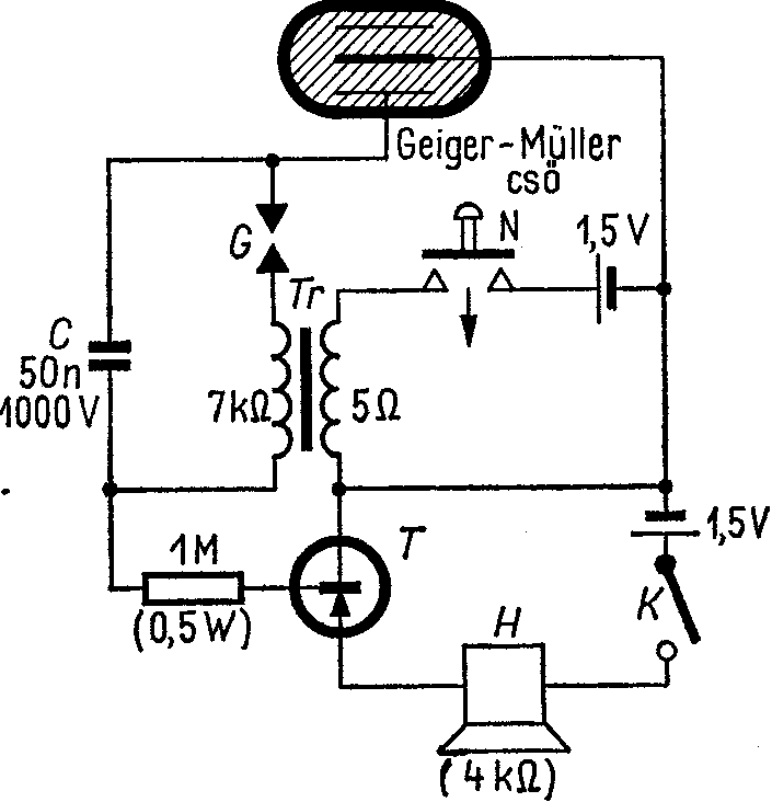
Helló. Egy olyan kérdésem lenne hogy ezzel az áramkörrel amit a képen látni lehet-e egy olyan csövet üzemeltetni,aminek a működési feszültsége 720-780V-között van? A cső adatai ezen a linken vannak ezzel meg lehetne-e építeni ezt az áramkört? Még annyit hogy oda a tranzisztorhoz esetleg a BC-s típusok közül jó volna valameik? Elméletileg működhet csak nemtudom meikkel. A válaszokat előre is köszönöm.
Esetleg találtam egy ilyen kapcsolást is,ez régi rádiótechnika évkönyvből való,szerintem ezzel meg lehetne hajtani a csövemet. Változtatás szükséges ezen a kapcsoláson vagy nem?
Nem teljesen tiszta, hogy ez mitől is működne, de eleve kell egy brutális áttételű trafó hozzá. A nagyfesz oldalon nincs is egyenirányítás, ezt a rajzot nem javaslom. Az utóbbi jónak tűnik, de azért egy rendes meghajtó tranzisztort érdemes betenni oda, nem közvetlenül egy 555-ről hajtani a trafót.
BD 139 Megfelelne mint meghajtó tranzisztor? Esetleg a rádiótechnikás kapcsolásból ki lehet venni stabilan a 720V-ot?
Igen jó. Ki lehet venni annyit.
Köszönöm, még annyi volna hogy a 6/220V-os trafó helyett lehet 9/220V-osat használni? Gondolom lehetséges,mivel a tápfeszültség 12V és így is erős terhelés esik a tekercsen.
6/230V helyett 9/230V esetén kisebb lesz a kimeneten a feszültséged.
Akkor beszerzem a megfelelő transzformátort,addigra a cső is ittlesz. Az általam átrajzolt kapcsolás jó,vagy esetleg a BD139 elé és az 555 közé kell egy ellenállás?
|
Bejelentkezés
Hirdetés |






















