Fórum témák
» Több friss téma |
- Ez a felület kizárólag, az elektronikában kezdők kérdéseinek van fenntartva és nem elfelejtve, hogy hobbielektronika a fórumunk!
- Ami tehát azt jelenti, hogy a nagymama bevásárlását nem itt beszéljük meg, ill. ez nem üzenőfal! - Kerülendő az olyan kérdés, amit egy másik meglévő (több mint 17000 van), témában kellene kitárgyalni! - És végül büntetés terhe mellett kerülendő az MSN és egyéb szleng, a magyar helyesírás mellőzése, beleértve a mondateleji nagybetűket is!
Ez a tápegység része én úgy érzem, a mozgásérzékelő részt kellene szétszedni...
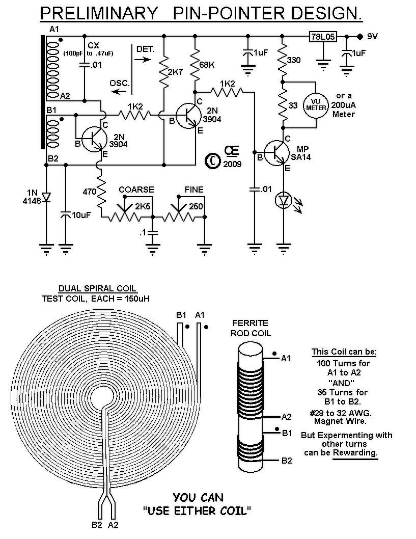
Sziasztok ! Az lenne a kérdésem,hogy a rajzon levő cx kondit hol találom a beültetési rakzon? Köszi a válasz.
Szia! A Cx az L1-gyel párhuzamos 10 nF.
Miert kell cserélni?
Még nem építettem fémkeresőt, gondolom a behangoláshoz kell az oszcillátor frekvenciáját állítani a Cx-szel.
Lett egy 55W három kivezetéses 12V jármű fényszóró égő üveges foncsorral együtt. Szemrevételezés alaján az izzószálak sértetlenek, de meg se villan egy 12V 20W adapterről! Mit tehetnék hogy világítson?
A kapcsolóüzemű tápegység rövidzárnak érzi az izzó hidegellenálláaát. Köss vele sorba egy ellenállást, vagy használlj nagyobb teljesítményű tápegységet.
Ne csodálkozz, az izzónak valószínűleg semmi baja. Hidegen egy ilyen izzó felkap(na) akár 50 Ampert is, erre az adapter túláramvédelme működésbe lép. Próbáld valamilyen 12V-os akkuval, égni fog.
Mekkora ellenállást tegyek sorba hogy 20W tápról világítson az 55W égő?
Semmit.
Ne akard 20W-os adapterről még be villantani se, de még 100W-os se biztos, hogy begyújtja. Fórumtársak leírták a miértet. Egy megfelelő teljesítményű kapcsolóüzemű halogén lámpa tápegység már meghajtaná.
Kösd úgy, hogy sorosan legyen a kettő izzószál, de ha be is indulna, az is jól beterhelné a tápodat.
Vagy vegyél elő, egy 0.5 - 1 Ohm 10-20W ellenállást, és azzal kösd sorosan. ui.: tengerimalac lakosztálynak fűtés és világítás megoldva. A hozzászólás módosítva: Szept 21, 2018
Azt az ellenállást úgy hívják, hogy step-down regulator
. Azzal végülis elérheted, hogy - nem tudni, hány Voltnál, de - az izzód majdnem 20W-tal világítani fog. De nem tudom, hogy tkp. mi a cél? Hogy _valamennyire_ világítson, vagy hogy 55W-tal? Mert úgy sosem fog 20 Wattos tápról
Üdv Uraim!
Kérdésem lenne. Építgetek egy távjelzőt elektromos kapásjelzőhöz. Ha nem fogom meg az antennát akkor az egyik kapásjelző miért recsegős hangon szólal meg? RF STX882 Transmitter SRX882 Receiver modulokat használok a decoder IC-k HT12D és HT-12D illetve van még benne egy CNY74-4H optocsatoló, erre van rákötve a kapásjelző. Miért csak az egyik bemenet csinálja? mellékelek egy videót a hibáról. Előre is köszönöm! Bővebben: Link A hozzászólás módosítva: Szept 21, 2018
A lényeg hogy ha nem is teljes teljesítménnyel, de világítson mint atom, mivel majd világítani szeretnék vele...
Ha az adó és a vevő távolabb vannak egymástól, akkor is csinálja?
Sziasztok! Segítséget szeretnék kérni.
Nemrég, vonóhorog került felszerelésre az autómra. Can-bus rendszerű vezérlő elektronikával, az a probléma hogy sehogyse akar működni vele az utánfutón lévő jobb oldali irányjelző. Minden más tökéletesen működik. A bekötési rajz szerint helyesen lett bekötve, nem találjuk a problémát. Az autón működik az index, de ha rádugom az utánfutó neki áll tesztelni a lámpákat és a jobb index nem jó, a vezérlő modul jelzi is hogy nem villog. Modul és csatlakozó aljzat közti kontact ellenórizve lett(ok). Bekötés ok, másik utánfutóval ugyan az a helyzet, vezérlő modul csere után is ugyan ez a probléma. Valakinek valami használható ötlete? A hozzászólás módosítva: Szept 21, 2018
Szerezz egy trafót, ami tud legalább 2-3A-t (5A kellene a teljes fényhez)!
Azzal a kapcsoló üzemű táppal hiába kínlódsz . . . A hozzászólás módosítva: Szept 22, 2018
2-3 A-t tudó trafó éppen le is ég egy 55 - 60 W-os izzó hatására, már ha a trafó 12 V-os.
Esetleg 24V 1200mA AC trafó? Vagy ez már sok lenne?
Jó reggelt! Tanítható távirányítót akarok venni egy kapuhoz. A frekvencia megvan de nem tudom milyen IC-set válasszak. A kapuban egy Electronic aerial Marantec Digital 161 - 4 33 MHz van. Ebből kiderül milyen kell? Már minden távirányítója kínai, nem eredeti, azokon nincs rajta milyen IC kell.
24 V 1200 mA az csak 28,8 VA, hol van az még az 55 W-tól? Miből gondolod, hogy az sok lenne? Fele csak a szükségesnek, de ezt Te is tudhatnád!
24 V-ról még több áramot enne, már ha tudna. Az 1,2 A messze kevés lesz.
Az a trafó is kevés lenne??
Egyáltalán mit építenek be egy járműbe hogy elbírja az égőt??
Autóknál nem ritka a 100 - 200 A-es generátor.
50-70 amperórás akkumlátort.
Megfelelő teljesítményű generátort és akkumulátort és persze a meghajtó motort! De ezt a kérdést nem gondoltad komolyan, vagy igen?
Akkor most lett egy fényszóró-foncsor egy teljesen ép égővel amivel nem tudok mit kezdeni!
Ha rajtahagyod sokáig, akkor valóban. Kipróbálni megfelelne.
@Zsombor: Továbbra sem értem, hogy mi lenne a cél?
Kérdezni a vásárlás előtt kellett volna. Sok mással sem tudsz mit kezdeni
A hozzászólás módosítva: Szept 22, 2018
|
Bejelentkezés
Hirdetés |







. Azzal végülis elérheted, hogy - nem tudni, hány Voltnál, de - az izzód majdnem 20W-tal világítani fog. De nem tudom, hogy tkp. mi a cél? Hogy _valamennyire_ világítson, vagy hogy 55W-tal? Mert úgy sosem fog 20 Wattos tápról





