Fórum témák
» Több friss téma |
Újabb adalék: 'nagy duzzogva' megküldtem egy kis zenével a bemenetet. Kis hangerőn gyönyörű hangon muzsikál, de amikor elkezdem növelni a jelszintet egy erősebb basszusra bedobja az eddig leírt jelenséget. A hangszóró elnémul és negatív oldal felé elbillen a rendszer.
Üresen mennyire kell 0V-nak lenni a kimeneten? Mert ennél a végfoknál olyan 56 mV-ot mérek. Na méregetek, próbálkozok, mert most éppen van 'még' kedvem hozzá...
Szia!
Ha bent van az áramkorlátozó ellenállás, vagy izzó a biztosíték helyén akkor ne csodálkozz ezen!Én az áramkorlátot csak a beméréskor,beállításkor használom(jel és terhelés nélkül!Eszembe nem jutna így hangszórót rákötni!Az 56mV az egy jó érték! A hozzászólás módosítva: Szept 10, 2020
Egyszer már leírtam: Az R11 szerepe az, hogy az R12 trimmer potival ne tudjad rövidzárba Küldeni! Az értéke éppen ezért lényegtelen. A rajzon nálam 10 Kohm, ha máshol más, az se számít.
Én meg ilyet is találtam:Bővebben: Link, illetve a bekei féle mod-ban 1.2k Ohm szerepel, ha BD139/140-t használsz...
Azért van bent, mert nélkülük is a fentiekben már leírt jelenség van, és üvegbiztosítékom azért nincs több száz db, hogy minden bekapcsolás után cserélgessem, mivel egy jó kis kettős tápegységem - áram korlátos - az még nincs...
Igen, tisztában vagyok tranzisztorok bekötésével, mérni, forrasztani tudok, műszerész végzettségem van, még az 'átkos' rendszerből... Lehet az a baj? A hozzászólás módosítva: Szept 10, 2020
Lehet, hogy a 100 µF elkók rosszak. Már nekem sincs több ötletem. Egy kis előnyöm van veled szemben. Én a készüléket boltban vettem. Az egyik oldala még mindig az eredeti. Ehhez képest nehéz felfogni, hogy sokuknál egyik oldal sem maradt életben. Azon kívül még 4, amit javítottam, viszonylag sikerrel. Egyről tudok, hogy még megvan a sajátomon kívül. A fiamé. Ennyi kínlódás után, lehet, hogy én is úgy döntenék, teszek bele valami mást, de az nem ugyanaz. Itt is van még másik rádió, az is szépen szól, IC-s végfokkal, de az sohasem lesz egy Dansk.
Futottam még pár kört, de sokkal okosabb továbbra sem lettem...Kibányásztam a másik Dansk egyik végfokozatát, totál 'gány' az egész - minden tranzisztor BC639/640, keresztbe forgatott lábak - és mégis tökéletesen működött első körben is...
Abban csak a 100 mikrós kondenzátort cseréltem, azt is csak azért, mert 100 mikro/40V-os volt benne és ott a két pólus között szerintem inkább 60+ Volt feszültség van...Még az kérdés, hogy hogy bírta az a kondenzátor eddig? Az R11-el is kísérleteztem, de csak annyi, hogy 1,2 kOhm-nál nem lehet a trimmerrel nyugalmi áramot állítani, nem nyitnak a tranzisztorok.Amikkel küzdök azokban is új a 100 mikró, de valamiért nekem is kezd gyanús lenni, vagy ez, vagy a 47 mikró szórakozik. Attól, hogy újak még lehetnek valami selejtes széria részei. Mondjuk a teszter úgy mutatja, hogy jók. ![]() ![]() ![]() Hát nem gondoltam volna, hogy ez lesz a baj...Ezeknél a paneleknél valamiért a 47 mikroF-os (C2) polaritás fordítása és az 1,2kOhm (R14) cseréje 2x1n4148-ra nem nyerő. R14 vissza, C2 polaritás vissza és bekapcsolás után minden rendben, szól szépen, kivezérelhető gond nélkül! Mondjuk még csak egy rövid tesztelésre futotta, de du. folyamán megvizsgáljuk kicsit konkrétabban is!
Én pont ezeknek az alakításoknak nem láttam semmi értelmét. Azt észre sem vettem, hogy elhagyta a bázis osztó alsó tagját, amivel a tranzisztoron zavar át sokkal nagyobb áramot, az a tranzisztor meg rég elfüstöl, mire eléri a két sorba kötött dióda feszültségét ott a bázis feszültség. Az osztót megfosztotta az alsó tagjától, ilyet nem szabadna tenni! Azt az elkó polaritás fordítást sem értettem soha. Lehet, hogy Bekeinél épp az alakítások következtében megfordul ott a polaritás. Szerintem mindig elegendő volt csak a meghajtók cseréje nagyobbra. A többi okoskodást sohasem értettem, de nem akartam vele vitatkozni, mert minek? Ha neki úgy lett jó, akkor biztos jó az valamire. Egyébként oda bipoláris elkó kellene, mert egyenfesz ott nincsen, csak a hangfrekvencia az, amit hidegítene.
A hozzászólás módosítva: Szept 14, 2020
Szerinted az R5 és R15 ellenállásokat is visszacseréljem az eredeti értékekre?
Szerintem a lényeg, a kimeneten a 0 Volt minél közelebb legyen a nullához. Az R9 15 Kohm egy mindenre kiterjedő negatív visszacsatolást beállít. A többi változtatás mire jó, megpróbáltam kihámozni Bekei hozzászólásaiból, de nem értettem meg.
Szerintem a bekapcsolási tranziensek ellen egyedül a relés védelem érne valamit, olyat láttam már STK IC-s Pioneer végfokokban például. Én megoldottam mechanikusan. A hangszóróim a kikapcsolható hüvelyekbe vannak dugva, ha akarsz fejhallgatót használni, kell is az, és manuálisan, miután beállt a nyugalom, kapcsolom csak be a hangszórókat, már több mit tíz éve.
Igen, ezekbe én szeretnék beépíteni egy-egy uPC1237 IC-vel komplett védelmet. Szóval a mind két erősítő panelt visszaalakítottam a gyárira és hajtottam is őket vagy egy órán keresztül. Szuper! Az erősítő része így már kipipálva a Dansk-nak, jöhet a többi egysége...
![]() Az egyik végfokban az R11 értékét valószínűleg kisebbre kell vennem, olyan 5-6 kOhm körüli értékre, mert a trimmert nagyon el kellett a végkitérésig tekernem, hogy 20 mA alá kerüljön a nyugalmi áram. Gondolom a BC414/416 cserék miatt, inkább az 1 db ellenállást cserélem ki, mint a 3 db tranzisztort.
Akkor a Bekei Péter féle átalakítás inkább bukás, mint siker? Mert akkor egyedül csak az volt a te bajod, és ezt itt nyilvánosan ki is kell jelenteni itten, hogy más is tanulhasson belőle. Az R 11 különböző rajzokon eltérő értékei valószínűleg arra vezethetők vissza, hogy másmilyen erősítésű tranzisztorokat tettek bele. Más tranzisztorok esetén esetleg korrigálni kellhet, de főleg az a BC 173, ami a nyugalmi áramért felel, azt senki sem hagyja benne, ha egyébként zárlatos meghajtókat körülötte cserélni kell. Nem tudom, te oda mit tettél, de nálam a BC 547-tel maradhattak az eredeti ellenállás értékek.
Na, az egyik Dansk úgy néz ki, hogy összeáll. A részegységek külön-külön már tesztelve. Szinte minden panelon volt valami bibi...Szikkadt elkó, teljesen más értékű alkatrész beépítve, fóliaszakadás, az AM panelen egy induktivitás totál szétroncsolódva, így azt 'elengedem', talán felhasználom a helyét plusz egy bemenetnek...
Holnap megpróbálom összehuzalozni a végfokozattal és csinálok egy (fő)próbát...
Sziasztok, adott egy Dansk és egy benne lévő ledes kivezérlésjelző:
Kb, ez lehet: http://www.bsselektronika.hu/old/index.php?w=U5RggjgqmL Ez korábban a magnó bemenetre volt kötve, de szeretném ha mindig (pl rádió) jelezne, így megpróbáltam a hangerő panel bemenetére kötni, de nem tetszik neki. Lenne ötletetek vagy konkrét tapasztalat, hogy hova kössem be a lehető legkisebb átalakítással vagy mit módosítsak/mérjek? Előre is köszi...
Az pontosabban mit takar, hogy 'nem tetszik neki'?
A hozzászólás módosítva: Szept 22, 2020
Nem jelez semmi változást... gondolom az ottani jelszint nem jó neki, ezért kérdezném, hogy valaki kötött-e már be ilyet valahova ill. hova próbáljam meg esetleg...
Így néz ki. Nagy meló lehetett valakinek anno végigfurkálni ledenként az előlapot, ill bevezetékelni.
Szerintem akkor valami nem jó helyre kerül, mert elviekben a hangerő/hangszín panel bemenetén is hasonló a jel szint, vagy ugyanaz, mint a magnó bemeneten. A panel kimenetén pedig talán nagyobb is. Itt van előttem egy éppen a 'boncasztalon' - mondjuk most már éppen az összeszerelés előtti pillanatokban -, majd gyorsan ráfigyelek a kis szkópommal...
Hátha a szkóp mutat valamit.
Szerintem ez a diódás bemenet választó tolhatja el a szintet. Multiméterrel kb. 12V-ot mértem és az 'ugrált' kicsit, ahogy a rádió szólt.
Hogy miket el nem követtek ezekkel a készülékekkel? Igaz, én is kifúrtam, kireszeltem az elejét, mert kellett bele a térerő indikátor az antenna forgató miatt. Ami egy MK-21 magnó battery indikátora volt eredetileg.
Digitális multiméterrel nem fogod a jel szintet kimérni...ahhoz hangfrekvenciás jelszint vevő, vagy mV mérő, vagy szkóp kell...Rámértem, a hangszín bemenetén - természetesen - az a jelszint van, mint a bemenet választó kimenetén. A hangszín kimenetén kisebb a jelszint, de úgy növekszik, ahogy a hangerőt növeled, kissé nagyobb szintre, mint bemenet. Pontosabban 100 mV-os nagyságrendű a jel, nem kevesebb, mint a bemenet választónál, így itt is működni kellene a kivezérlésmérőnek. Ott vagy rossz helyre próbálod bekötni, vagy az illesztés / leválasztás nem stimmel.
Még jó, hogy nem valami profil LED-ekkel csinálta...mondjuk háromszög profilúval...
Köszi, akkor nekifutok ismét és majd kiderül...
"mint a bemenet választó kimenetén." - a korábbi bekötés konkrétan a magnó bemenet csatlakozó lábaira volt forrasztva (azaz mintha a kábelen bejövő jel vezérelte volna direktben).
Elviekben a bemenet után csak egy, egy tranzisztoros illesztő erősítő van...Sokat 'nem oszt, nem szoroz' az említett problémában...szerintem.
Közben halad a '2 db - alapból nem működőképes - Dansk felélesztése projekt'. Az egyiknek már minden részegysége tökéletesen működik, kivéve az AM...A panelt olyan külső behatás érta, hogy részemről 'felejtős', 'engedem had menjen'...
Az AM bemenetet átalakítottam egy jó kis AUX bemenetnek. Az összehuzalozásnál sajnos utolért a gyári, merev összekötő vezetékek 'bosszúja': sorra törtek valamelyik forrasztási pontnál, amikor próbáltam helyreigazgatni a dolgokat... Ezért ki kellett cserélgetnem őket jó kis flexibilis huzalokra. Ja, és közben készül még bele az uPC1237-s védelem is. Egy pár képecske a projektről...
Ha a védelem jól működik, akkor egy rajzot is tegyél már fel ide.
Még nem jutottam előrébb a kivezérlésjelzővel (idő hiányában). Ellenben volt egy SAS560S hibás IC-m, amit csak ebayról sikerül beszerezni, de jó lett szerencsére. Amin még gyagyázok, az a hangerő poti kiváltása 'digitálisra' (pl 6. relés ellenálláshálós csillapítás, rotari tekerővel) és akkor az egész készüléket meg lehetne fejelni egy távirányítóval is amivel nem csak a hangerőt, hanem a 'érintős' gombokat is lehetne vezérelni. Ezek még nagyon távlatiak, de hátha valakinek ötletet ad
Én az AM - et soha az életben nem hallgattam ezen a rádión. Azért tettem bele ferrit antennát, mert minek kelljen még egy drótot beledugni még a középhullámnak is? Különben is a drót nem irányérzékeny, minden zavart összeszed. Az FM adók amióta minden városban jelen vannak, nem kell neki rendes antenna, csak egy fél méteres huzal.
A védelem jól működik!
A hozzászólás módosítva: Szept 29, 2020
Ezt ma vettem észre:
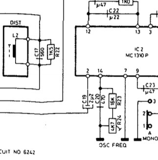
A C19 kondi eredetileg fordított polaritással volt beültetve. Úgy kondicserézek, hogy egyesével cserélem őket és a kivett polaritása szerint teszem be az új kondit. Pont valamiért elfelejtettem, gondoltam meglesem a rajzot és akkor tűnt fel, hogy valami nem kerek. Visszanéztem a fotókat és ott is látszik - csatolom őket. A kondi új képet az atiber egyik fotójáról vettem, itt kérdezném, hogy a kapcsrajz vagy a régi kondi polaritás szerint ültetted be? |
Bejelentkezés
Hirdetés |




Igen, tisztában vagyok tranzisztorok bekötésével, mérni, forrasztani tudok, műszerész végzettségem van, még az 'átkos' rendszerből...
Lehet az a baj?
Abban csak a 100 mikrós kondenzátort cseréltem, azt is csak azért, mert 100 mikro/40V-os volt benne és ott a két pólus között szerintem inkább 60+ Volt feszültség van...Még az kérdés, hogy hogy bírta az a kondenzátor eddig? Az R11-el is kísérleteztem, de csak annyi, hogy 1,2 kOhm-nál nem lehet a trimmerrel nyugalmi áramot állítani, nem nyitnak a tranzisztorok.


Holnap megpróbálom összehuzalozni a végfokozattal és csinálok egy (fő)próbát...


Az AM bemenetet átalakítottam egy jó kis AUX bemenetnek. Az összehuzalozásnál sajnos utolért a gyári, merev összekötő vezetékek 'bosszúja': sorra törtek valamelyik forrasztási pontnál, amikor próbáltam helyreigazgatni a dolgokat...
Ezért ki kellett cserélgetnem őket jó kis flexibilis huzalokra. Ja, és közben készül még bele az 

















